BOSCH 1752 - 0601752039

Artikelnummer: EB-0601752039

Position:

Marke: BOSCH


Bitte Kompatibilität prüfen!

Bitte prüfen Sie unbedingt die 10-stellige Typennummer Ihrer Maschine / Ihres Gerätes. Das Ersatzteil ist nur kompatibel, wenn Sie die Typennummer Ihrer Maschine in der unten stehenden Produktbeschreibung finden.

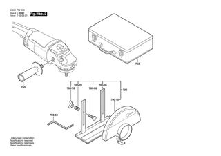
Bitte prüfen Sie ebenfalls detailliert die Explosionszeichnung mit Ihrem Artikelwunsch und der jeweiligen Pos-Nummer.

Alle Elemente, welche vom schwarzen Strich der Pos-Nummer ausgehend berührt / erfasst werden, gehören zu dieser Pos-Nummer und somit zu diesem Artikel. Jede Pos-Nummer ist ein eigenständiger Artikel, welchen Sie in der Auflistung finden.

Sie erhalten stets die aktuellste, neueste Produktversion zu der gewählten Pos-Nummer seitens des Herstellers. Es kann daher je nach Gerätealter vorkommen, dass Sie ggf. weitere, zugehörige Elemente, welche an diese Pos-Nummer grenzen, ebenfalls mittauschen müssen.

Nähere Informationen finden Sie unter dem Link
Hinweise zu Ihrer BOSCH Ersatzteilsuche

Beschreibung

Die aufgelisteten BOSCH Ersatzteile sind mit folgendem Gerät und Modell kompatibel:

BOSCH Gerätename:1752
BOSCH Typennummer:0601752039
alternative Schreibweisen:0 601 752 039, 0601 752 039, 0.601.752.039, 0-601-752-039

Bitte prüfen Sie die Typennummer auf Ihrem Gerät um die Kompatibilität des BOSCH Ersatzteils zu gewährleisten.

Die passenden Ersatzteile des BOSCH 1752 (Winkelschleifer) mit der Typennummer 0601752039 finden Sie in der nachfolgenden Darstellung geordnet nach der Positionsnummern aus der Explosionszeichnung:

Pos.
1
BOSCH Motorgehäuse | Ersatzteile für 1752 | 1605108275
Hersteller: BOSCH
Artikelnummer: EB-0601752039-1605108275
Netto: 13,61 € zzgl. MwSt.
zzgl. 6,90 € Versand (brutto)
einmalig pro Bestellung

Lieferzeit: 5 Werktage

Stück
Pos.
BOSCH Lüfter | Ersatzteile für 1752 | 1600A00J93
Hersteller: BOSCH
Artikelnummer:
Netto: 2,25 € zzgl. MwSt.
zzgl. 6,90 € Versand (brutto)
einmalig pro Bestellung

Lieferzeit: 5 Werktage

Stück
Pos.
700/10
BOSCH Schutzhaube Ø230 MM (9") | Ersatzteile für 1752 | 1605510234
Hersteller: BOSCH
Artikelnummer: EB-0601752039-1605510234
nur Informationsartikel
Nie mehr lieferbar
keine Alternativen
Pos.
700/20
BOSCH Führungsschlitten | Ersatzteile für 1752 | 1608135006
Hersteller: BOSCH
Artikelnummer: EB-0601752039-1608135006
Netto: 68,80 € zzgl. MwSt.
zzgl. 6,90 € Versand (brutto)
einmalig pro Bestellung

Lieferzeit: 5 Werktage

Stück
Pos.
700/30
BOSCH Aufnahmeflansch | Ersatzteile für 1752 | 1605703103
Hersteller: BOSCH
Artikelnummer: EB-0601752039-1605703103
nur Informationsartikel
Nie mehr lieferbar
keine Alternativen
Pos.
700/50
BOSCH Winkelschraubendreher 3/8", SW9 | Ersatzteile für 1752 | 3607950013
Hersteller: BOSCH
Artikelnummer: EB-0601752039-3607950013
Netto: 9,20 € zzgl. MwSt.
zzgl. 6,90 € Versand (brutto)
einmalig pro Bestellung

Lieferzeit: 5 Werktage

Stück
Pos.
700/70
BOSCH Spannscheibe | Ersatzteile für 1752 | 1605703104
Hersteller: BOSCH
Artikelnummer: EB-0601752039-1605703104
nur Informationsartikel
Nie mehr lieferbar
keine Alternativen
Pos.
700/80
BOSCH Rundmutter 5/8" | Ersatzteile für 1752 | 1603340001
Hersteller: BOSCH
Artikelnummer: EB-0601752039-1603340001
nur Informationsartikel
Nie mehr lieferbar
keine Alternativen
Pos.
2
BOSCH Polschuh | Ersatzteile für 1752 | 160422057P
Hersteller: BOSCH
Artikelnummer: EB-0601752039-160422057P
Netto: 38,40 € zzgl. MwSt.
zzgl. 6,90 € Versand (brutto)
einmalig pro Bestellung

Lieferzeit: 5 Werktage

Stück
Pos.
2
BOSCH Polschuh 100-120V | Ersatzteile für 1752 | 1604220385
Hersteller: BOSCH
Artikelnummer: EB-0601752039-1604220385
nur Informationsartikel
Nie mehr lieferbar
keine Alternativen
Pos.
4
BOSCH Schalter | Ersatzteile für 1752 | 1607200147
Hersteller: BOSCH
Artikelnummer: EB-0601752039-1607200147
Netto: 29,45 € zzgl. MwSt.
zzgl. 6,90 € Versand (brutto)
einmalig pro Bestellung

Lieferzeit: 5 Werktage

Stück
Pos.
5
BOSCH Netzanschlussleitung USA/CDN 2,15m 2 x 2,08mm SJ 14/2 | Ersatzteile für 1752 | 1604460133
Hersteller: BOSCH
Artikelnummer: EB-0601752039-1604460133
Netto: 14,36 € zzgl. MwSt.
zzgl. 6,90 € Versand (brutto)
einmalig pro Bestellung

Lieferzeit: 5 Werktage

Stück
Pos.
6
BOSCH Tülle Ø 10,5-Ø11,0x100 MM | Ersatzteile für 1752 | 1600703023
Hersteller: BOSCH
Artikelnummer: EB-0601752039-1600703023
Netto: 4,53 € zzgl. MwSt.
zzgl. 6,90 € Versand (brutto)
einmalig pro Bestellung

Lieferzeit: 5 Werktage

Stück
Pos.
7
BOSCH Befestigungsschelle | Ersatzteile für 1752 | 1601302018
Hersteller: BOSCH
Artikelnummer: EB-0601752039-1601302018
Netto: 3,94 € zzgl. MwSt.
zzgl. 6,90 € Versand (brutto)
einmalig pro Bestellung

Lieferzeit: 5 Werktage

Stück
Pos.
9
BOSCH Firmenschild | Ersatzteile für 1752 | 2610994130
Hersteller: BOSCH
Artikelnummer: EB-0601752039-2610994130
nur Informationsartikel
Nie mehr lieferbar
keine Alternativen
Pos.
13
BOSCH Rillenkugellager 8x22x7 | Ersatzteile für 1752 | 1600905011
Hersteller: BOSCH
Artikelnummer: EB-0601752039-1600905011
Netto: 6,70 € zzgl. MwSt.
zzgl. 6,90 € Versand (brutto)
einmalig pro Bestellung

Lieferzeit: 5 Werktage

Stück
Pos.
23
BOSCH Verschlussdeckel | Ersatzteile für 1752 | 1618B00802
Hersteller: BOSCH
Artikelnummer: EB-0601752039-1618B00802
Netto: 3,59 € zzgl. MwSt.
zzgl. 6,90 € Versand (brutto)
einmalig pro Bestellung

Lieferzeit: 5 Werktage

Stück
Pos.
24
BOSCH Handgriff | Ersatzteile für 1752 | 1619P11545
Hersteller: BOSCH
Artikelnummer: EB-0601752039-1619P11545
Netto: 10,92 € zzgl. MwSt.
zzgl. 6,90 € Versand (brutto)
einmalig pro Bestellung

Lieferzeit: 5 Werktage

Stück
Pos.
25
BOSCH Schleifspindel 5/8" | Ersatzteile für 1752 | 160312305Y
Hersteller: BOSCH
Artikelnummer: EB-0601752039-160312305Y
Netto: 17,38 € zzgl. MwSt.
zzgl. 6,90 € Versand (brutto)
einmalig pro Bestellung

Lieferzeit: 5 Werktage

Stück
Pos.
28
BOSCH O-Ring 79,0x1,78 MM | Ersatzteile für 1752 | 1600210033
Hersteller: BOSCH
Artikelnummer: EB-0601752039-1600210033
Netto: 3,94 € zzgl. MwSt.
zzgl. 6,90 € Versand (brutto)
einmalig pro Bestellung

Lieferzeit: 5 Werktage

Stück
Pos.
29
BOSCH O-Ring 4,0x1,0 MM | Ersatzteile für 1752 | 1600210034
Hersteller: BOSCH
Artikelnummer: EB-0601752039-1600210034
Netto: 3,94 € zzgl. MwSt.
zzgl. 6,90 € Versand (brutto)
einmalig pro Bestellung

Lieferzeit: 5 Werktage

Stück
Pos.
30
BOSCH Luftverteiler | Ersatzteile für 1752 | 1600591029
Hersteller: BOSCH
Artikelnummer: EB-0601752039-1600591029
Netto: 4,53 € zzgl. MwSt.
zzgl. 6,90 € Versand (brutto)
einmalig pro Bestellung

Lieferzeit: 5 Werktage

Stück
Pos.
BOSCH Luftleitring | Ersatzteile für 1752 | 1600591075
Hersteller: BOSCH
Artikelnummer:
Netto: 1,95 € zzgl. MwSt.
zzgl. 6,90 € Versand (brutto)
einmalig pro Bestellung

Lieferzeit: 5 Werktage

Stück
Pos.
32
BOSCH Haltering | Ersatzteile für 1752 | 1600290019
Hersteller: BOSCH
Artikelnummer: EB-0601752039-1600290019
Netto: 3,94 € zzgl. MwSt.
zzgl. 6,90 € Versand (brutto)
einmalig pro Bestellung

Lieferzeit: 5 Werktage

Stück
Pos.
33
BOSCH Radial-Wellendichtring 16 MM BLAU | Ersatzteile für 1752 | 1600290064
Hersteller: BOSCH
Artikelnummer: EB-0601752039-1600290064
Netto: 4,32 € zzgl. MwSt.
zzgl. 6,90 € Versand (brutto)
einmalig pro Bestellung

Lieferzeit: 5 Werktage

Stück
Pos.
33
BOSCH Radial-Wellendichtring 18,7 MM ROT | Ersatzteile für 1752 | 1600290013
Hersteller: BOSCH
Artikelnummer: EB-0601752039-1600290013
Netto: 4,53 € zzgl. MwSt.
zzgl. 6,90 € Versand (brutto)
einmalig pro Bestellung

Lieferzeit: 5 Werktage

Stück
Pos.
34
BOSCH Ausgleichscheibe 0,1 MM DICK | Ersatzteile für 1752 | 1600190022
Hersteller: BOSCH
Artikelnummer: EB-0601752039-1600190022
Netto: 3,94 € zzgl. MwSt.
zzgl. 6,90 € Versand (brutto)
einmalig pro Bestellung

Lieferzeit: 5 Werktage

Stück
Pos.
34
BOSCH Ausgleichscheibe 0,15 MM DICK | Ersatzteile für 1752 | 1600190020
Hersteller: BOSCH
Artikelnummer: EB-0601752039-1600190020
Netto: 3,94 € zzgl. MwSt.
zzgl. 6,90 € Versand (brutto)
einmalig pro Bestellung

Lieferzeit: 5 Werktage

Stück
Pos.
34
BOSCH Ausgleichscheibe 0,3 MM DICK | Ersatzteile für 1752 | 1600190021
Hersteller: BOSCH
Artikelnummer: EB-0601752039-1600190021
Netto: 4,53 € zzgl. MwSt.
zzgl. 6,90 € Versand (brutto)
einmalig pro Bestellung

Lieferzeit: 5 Werktage

Stück
Pos.
35
BOSCH Filzring | Ersatzteile für 1752 | 1600205034
Hersteller: BOSCH
Artikelnummer: EB-0601752039-1600205034
Netto: 3,94 € zzgl. MwSt.
zzgl. 6,90 € Versand (brutto)
einmalig pro Bestellung

Lieferzeit: 5 Werktage

Stück
Pos.
37
BOSCH Dichtring SCHWARZ | Ersatzteile für 1752 | 1600290036
Hersteller: BOSCH
Artikelnummer: EB-0601752039-1600290036
Netto: 4,32 € zzgl. MwSt.
zzgl. 6,90 € Versand (brutto)
einmalig pro Bestellung

Lieferzeit: 5 Werktage

Stück
Pos.
38
BOSCH Gummiring 7 MM BREIT | Ersatzteile für 1752 | 1600206020
Hersteller: BOSCH
Artikelnummer: EB-0601752039-1600206020
Netto: 3,94 € zzgl. MwSt.
zzgl. 6,90 € Versand (brutto)
einmalig pro Bestellung

Lieferzeit: 5 Werktage

Stück
Pos.
39
BOSCH Gummiring | Ersatzteile für 1752 | 1600206030
Hersteller: BOSCH
Artikelnummer: EB-0601752039-1600206030
Netto: 3,94 € zzgl. MwSt.
zzgl. 6,90 € Versand (brutto)
einmalig pro Bestellung

Lieferzeit: 5 Werktage

Stück
Pos.
45
BOSCH Sechskantmutter M10, SW14 | Ersatzteile für 1752 | 1603300019
Hersteller: BOSCH
Artikelnummer: EB-0601752039-1603300019
Netto: 3,94 € zzgl. MwSt.
zzgl. 6,90 € Versand (brutto)
einmalig pro Bestellung

Lieferzeit: 5 Werktage

Stück
Pos.
51
BOSCH Gleitlager Ø14 MM | Ersatzteile für 1752 | 1600200031
Hersteller: BOSCH
Artikelnummer: EB-0601752039-1600200031
Netto: 4,82 € zzgl. MwSt.
zzgl. 6,90 € Versand (brutto)
einmalig pro Bestellung

Lieferzeit: 5 Werktage

Stück
Pos.
53
BOSCH Steckhülsengehäuse | Ersatzteile für 1752 | 1605190068
Hersteller: BOSCH
Artikelnummer: EB-0601752039-1605190068
Netto: 3,63 € zzgl. MwSt.
zzgl. 6,90 € Versand (brutto)
einmalig pro Bestellung

Lieferzeit: 5 Werktage

Stück
Pos.
60
BOSCH Gewindefurchschraube TT M5x18 MM | Ersatzteile für 1752 | 1603435023
Hersteller: BOSCH
Artikelnummer: EB-0601752039-1603435023
Netto: 4,32 € zzgl. MwSt.
zzgl. 6,90 € Versand (brutto)
einmalig pro Bestellung

Lieferzeit: 5 Werktage

Stück
Pos.
61
BOSCH Blechschraube DIN 7981-4,8x38-C-Z-ST | Ersatzteile für 1752 | 2912401038
Hersteller: BOSCH
Artikelnummer: EB-0601752039-2912401038
Netto: 3,63 € zzgl. MwSt.
zzgl. 6,90 € Versand (brutto)
einmalig pro Bestellung

Lieferzeit: 5 Werktage

Stück
Pos.
62
BOSCH Blechschraube 4,8x55 | Ersatzteile für 1752 | 1603435060
Hersteller: BOSCH
Artikelnummer: EB-0601752039-1603435060
Netto: 3,94 € zzgl. MwSt.
zzgl. 6,90 € Versand (brutto)
einmalig pro Bestellung

Lieferzeit: 5 Werktage

Stück
Pos.
63
BOSCH Flachkopfschraube M4x10 MM | Ersatzteile für 1752 | 1603410014
Hersteller: BOSCH
Artikelnummer: EB-0601752039-1603410014
Netto: 3,94 € zzgl. MwSt.
zzgl. 6,90 € Versand (brutto)
einmalig pro Bestellung

Lieferzeit: 5 Werktage

Stück
Pos.
64
BOSCH Kunststoffschneidschraube St3,9x12 | Ersatzteile für 1752 | 1603435042
Hersteller: BOSCH
Artikelnummer: EB-0601752039-1603435042
Netto: 3,94 € zzgl. MwSt.
zzgl. 6,90 € Versand (brutto)
einmalig pro Bestellung

Lieferzeit: 5 Werktage

Stück
Pos.
65
BOSCH Blechschraube DIN 7981-3,9x19-C-Z-ST | Ersatzteile für 1752 | 2912401020
Hersteller: BOSCH
Artikelnummer: EB-0601752039-2912401020
Netto: 3,63 € zzgl. MwSt.
zzgl. 6,90 € Versand (brutto)
einmalig pro Bestellung

Lieferzeit: 5 Werktage

Stück
Pos.
66
BOSCH Blechschraube DIN 7971-ST3,9x16-F | Ersatzteile für 1752 | 2910211019
Hersteller: BOSCH
Artikelnummer: EB-0601752039-2910211019
Netto: 3,63 € zzgl. MwSt.
zzgl. 6,90 € Versand (brutto)
einmalig pro Bestellung

Lieferzeit: 5 Werktage

Stück
Pos.
68
BOSCH Dichtblech | Ersatzteile für 1752 | 1601006011
Hersteller: BOSCH
Artikelnummer: EB-0601752039-1601006011
Netto: 4,53 € zzgl. MwSt.
zzgl. 6,90 € Versand (brutto)
einmalig pro Bestellung

Lieferzeit: 5 Werktage

Stück
Pos.
70
BOSCH Hinweisschild | Ersatzteile für 1752 | 2610994133
Hersteller: BOSCH
Artikelnummer: EB-0601752039-2610994133
Netto: 5,21 € zzgl. MwSt.
zzgl. 6,90 € Versand (brutto)
einmalig pro Bestellung

Lieferzeit: 5 Werktage

Stück
Pos.
78
BOSCH O-Ring | Ersatzteile für 1752 | 1619P09476
Hersteller: BOSCH
Artikelnummer: EB-0601752039-1619P09476
Netto: 3,63 € zzgl. MwSt.
zzgl. 6,90 € Versand (brutto)
einmalig pro Bestellung

Lieferzeit: 5 Werktage

Stück
Pos.
78
BOSCH O-Ring 12x3 MM | Ersatzteile für 1752 | 1900210111
Hersteller: BOSCH
Artikelnummer: EB-0601752039-1900210111
Netto: 3,63 € zzgl. MwSt.
zzgl. 6,90 € Versand (brutto)
einmalig pro Bestellung

Lieferzeit: 5 Werktage

Stück
Pos.
BOSCH Sicherungsscheibe | Ersatzteile für 1752 | 1600A01KK9
Hersteller: BOSCH
Artikelnummer:
Netto: 3,63 € zzgl. MwSt.
zzgl. 6,90 € Versand (brutto)
einmalig pro Bestellung

Lieferzeit: 5 Werktage

Stück
Pos.
700
BOSCH Teilesatz Ø230 MM | Ersatzteile für 1752 | 1607000254
Hersteller: BOSCH
Artikelnummer: EB-0601752039-1607000254
nur Informationsartikel
Nie mehr lieferbar
keine Alternativen
Pos.
750
BOSCH Zusatzhandgriff M14x1,5 MM SCHWARZ | Ersatzteile für 1752 | 2602025075
Hersteller: BOSCH
Artikelnummer: EB-0601752039-2602025075
Netto: 15,34 € zzgl. MwSt.
zzgl. 6,90 € Versand (brutto)
einmalig pro Bestellung

Lieferzeit: 5 Werktage

Stück
Pos.
753
BOSCH Wellpappe-Faltschachtel | Ersatzteile für 1752 | 1605438094
Hersteller: BOSCH
Artikelnummer: EB-0601752039-1605438094
nur Informationsartikel
Nie mehr lieferbar
keine Alternativen
Pos.
803
BOSCH Anker 100-120V | Ersatzteile für 1752 | 1604011178
Hersteller: BOSCH
Artikelnummer: EB-0601752039-1604011178
Netto: 121,18 € zzgl. MwSt.
zzgl. 6,90 € Versand (brutto)
einmalig pro Bestellung

Lieferzeit: 5 Werktage

Stück
Pos.
808
BOSCH Typschild | Ersatzteile für 1752 | 160111A3H3
Hersteller: BOSCH
Artikelnummer: EB-0601752039-160111A3H3
Netto: 4,53 € zzgl. MwSt.
zzgl. 6,90 € Versand (brutto)
einmalig pro Bestellung

Lieferzeit: 5 Werktage

Stück
Pos.
810
BOSCH Kohlebürstensatz | Ersatzteile für 1752 | 1607014171
Hersteller: BOSCH
Artikelnummer: EB-0601752039-1607014171
Netto: 11,92 € zzgl. MwSt.
zzgl. 6,90 € Versand (brutto)
einmalig pro Bestellung

Lieferzeit: 5 Werktage

Stück
Pos.
814
BOSCH Rillenkugellager 10x35x11 | Ersatzteile für 1752 | 1600905023
Hersteller: BOSCH
Artikelnummer: EB-0601752039-1600905023
Netto: 10,92 € zzgl. MwSt.
zzgl. 6,90 € Versand (brutto)
einmalig pro Bestellung

Lieferzeit: 5 Werktage

Stück
Pos.
816
BOSCH Bürstenhalter | Ersatzteile für 1752 | 1604336048
Hersteller: BOSCH
Artikelnummer: EB-0601752039-1604336048
Netto: 6,70 € zzgl. MwSt.
zzgl. 6,90 € Versand (brutto)
einmalig pro Bestellung

Lieferzeit: 5 Werktage

Stück
Pos.
821
BOSCH Getriebegehäuse | Ersatzteile für 1752 | 1607000968
Hersteller: BOSCH
Artikelnummer: EB-0601752039-1607000968
nur Informationsartikel
Nie mehr lieferbar
keine Alternativen
Pos.
822
BOSCH Lagerflansch Ø230 MM | Ersatzteile für 1752 | 1607000922
Hersteller: BOSCH
Artikelnummer: EB-0601752039-1607000922
Netto: 24,13 € zzgl. MwSt.
zzgl. 6,90 € Versand (brutto)
einmalig pro Bestellung

Lieferzeit: 5 Werktage

Stück
Pos.
826
BOSCH Kegelradsatz | Ersatzteile für 1752 | 1607000384
Hersteller: BOSCH
Artikelnummer: EB-0601752039-1607000384
Netto: 42,86 € zzgl. MwSt.
zzgl. 6,90 € Versand (brutto)
einmalig pro Bestellung

Lieferzeit: 5 Werktage

Stück
Pos.
840
BOSCH Druckknopf SCHWARZ | Ersatzteile für 1752 | 1607000206
Hersteller: BOSCH
Artikelnummer: EB-0601752039-1607000206
Netto: 9,95 € zzgl. MwSt.
zzgl. 6,90 € Versand (brutto)
einmalig pro Bestellung

Lieferzeit: 5 Werktage

Stück
Pos.
846
BOSCH Haltescheibe | Ersatzteile für 1752 | 1607000C3E
Hersteller: BOSCH
Artikelnummer: EB-0601752039-1607000C3E
Netto: 10,92 € zzgl. MwSt.
zzgl. 6,90 € Versand (brutto)
einmalig pro Bestellung

Lieferzeit: 5 Werktage

Stück
Pos.
851
BOSCH Nadellager Ø14 MM | Ersatzteile für 1752 | 2600910001
Hersteller: BOSCH
Artikelnummer: EB-0601752039-2600910001
Netto: 5,67 € zzgl. MwSt.
zzgl. 6,90 € Versand (brutto)
einmalig pro Bestellung

Lieferzeit: 5 Werktage

Stück

Angaben zur Produktsicherheit

Hersteller:
Robert Bosch Power Tools GmbH
Postfach 30 02 20
70442 Stuttgart

E-Mail:
kontakt@bosch.de