BOSCH 6901 U2 - F0156901D2

Artikelnummer: EB-F0156901D2

Position:

Marke: BOSCH


Bitte Kompatibilität prüfen!

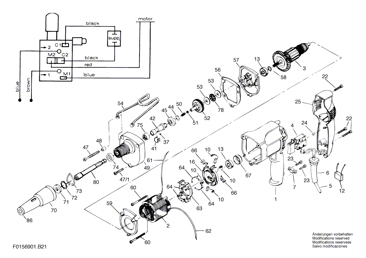
Bitte prüfen Sie unbedingt die 10-stellige Typennummer Ihrer Maschine / Ihres Gerätes. Das Ersatzteil ist nur kompatibel, wenn Sie die Typennummer Ihrer Maschine in der unten stehenden Produktbeschreibung finden.

Bitte prüfen Sie ebenfalls detailliert die Explosionszeichnung mit Ihrem Artikelwunsch und der jeweiligen Pos-Nummer.

Alle Elemente, welche vom schwarzen Strich der Pos-Nummer ausgehend berührt / erfasst werden, gehören zu dieser Pos-Nummer und somit zu diesem Artikel. Jede Pos-Nummer ist ein eigenständiger Artikel, welchen Sie in der Auflistung finden.

Sie erhalten stets die aktuellste, neueste Produktversion zu der gewählten Pos-Nummer seitens des Herstellers. Es kann daher je nach Gerätealter vorkommen, dass Sie ggf. weitere, zugehörige Elemente, welche an diese Pos-Nummer grenzen, ebenfalls mittauschen müssen.

Nähere Informationen finden Sie unter dem Link
Hinweise zu Ihrer BOSCH Ersatzteilsuche

Beschreibung

Die aufgelisteten BOSCH Ersatzteile sind mit folgendem Gerät und Modell kompatibel:

BOSCH Gerätename:6901 U2
BOSCH Typennummer:F0156901D2
alternative Schreibweisen:F 015 690 1D2, F015 690 1D2, F.015.690.1D2, F-015-690-1D2

Bitte prüfen Sie die Typennummer auf Ihrem Gerät um die Kompatibilität des BOSCH Ersatzteils zu gewährleisten.

Die passenden Ersatzteile des BOSCH 6901 U2 (Schrauber) mit der Typennummer F0156901D2 finden Sie in der nachfolgenden Darstellung geordnet nach der Positionsnummern aus der Explosionszeichnung:

Pos.
1
BOSCH Gehäuse | Ersatzteile für 6901 U2 | 2610905362
Hersteller: BOSCH
Artikelnummer: EB-F0156901D2-2610905362
nur Informationsartikel
Nie mehr lieferbar
keine Alternativen
Pos.
47/1
BOSCH Schraube | Ersatzteile für 6901 U2 | 2610348621
Hersteller: BOSCH
Artikelnummer: EB-F0156901D2-2610348621
Netto: 3,95 € zzgl. MwSt.
zzgl. 6,90 € Versand (brutto)
einmalig pro Bestellung

Lieferzeit: 5 Werktage

Stück
Pos.
2
BOSCH Polschuh 230V | Ersatzteile für 6901 U2 | 2610353999
Hersteller: BOSCH
Artikelnummer: EB-F0156901D2-2610353999
Netto: 26,41 € zzgl. MwSt.
zzgl. 6,90 € Versand (brutto)
einmalig pro Bestellung

Lieferzeit: 5 Werktage

Stück
Pos.
3
BOSCH Anker 230V | Ersatzteile für 6901 U2 | 2610350788
Hersteller: BOSCH
Artikelnummer: EB-F0156901D2-2610350788
nur Informationsartikel
Nie mehr lieferbar
keine Alternativen
Pos.
4
BOSCH Schalter | Ersatzteile für 6901 U2 | 2610910316
Hersteller: BOSCH
Artikelnummer: EB-F0156901D2-2610910316
nur Informationsartikel
Nie mehr lieferbar
keine Alternativen
Pos.
5
BOSCH Netzanschlussleitung CH 4,15m 2 x 1,0mm HO7 RN-F | Ersatzteile für 6901 U2 | 2610383569
Hersteller: BOSCH
Artikelnummer: EB-F0156901D2-2610383569
Netto: 14,08 € zzgl. MwSt.
zzgl. 6,90 € Versand (brutto)
einmalig pro Bestellung

Lieferzeit: 5 Werktage

Stück
Pos.
6
BOSCH Tülle | Ersatzteile für 6901 U2 | 2610313327
Hersteller: BOSCH
Artikelnummer: EB-F0156901D2-2610313327
nur Informationsartikel
Nie mehr lieferbar
keine Alternativen
Pos.
7
BOSCH Kabelschelle | Ersatzteile für 6901 U2 | 2610064973
Hersteller: BOSCH
Artikelnummer: EB-F0156901D2-2610064973
Netto: 3,94 € zzgl. MwSt.
zzgl. 6,90 € Versand (brutto)
einmalig pro Bestellung

Lieferzeit: 5 Werktage

Stück
Pos.
10
BOSCH Kohlebürste | Ersatzteile für 6901 U2 | 2610354369
Hersteller: BOSCH
Artikelnummer: EB-F0156901D2-2610354369
Netto: 8,33 € zzgl. MwSt.
zzgl. 6,90 € Versand (brutto)
einmalig pro Bestellung

Lieferzeit: 5 Werktage

Stück
Pos.
12
BOSCH Entstörkondensator | Ersatzteile für 6901 U2 | 2610352867
Hersteller: BOSCH
Artikelnummer: EB-F0156901D2-2610352867
nur Informationsartikel
Nie mehr lieferbar
keine Alternativen
Pos.
13
BOSCH Kugellager | Ersatzteile für 6901 U2 | 2610351861
Hersteller: BOSCH
Artikelnummer: EB-F0156901D2-2610351861
nur Informationsartikel
Nie mehr lieferbar
keine Alternativen
Pos.
16
BOSCH Anschlussträger | Ersatzteile für 6901 U2 | 2610348614
Hersteller: BOSCH
Artikelnummer: EB-F0156901D2-2610348614
nur Informationsartikel
Nie mehr lieferbar
keine Alternativen
Pos.
22
BOSCH Schraube | Ersatzteile für 6901 U2 | 2610348622
Hersteller: BOSCH
Artikelnummer: EB-F0156901D2-2610348622
nur Informationsartikel
Nie mehr lieferbar
keine Alternativen
Pos.
23
BOSCH Schraube ST3,9x19 | Ersatzteile für 6901 U2 | 2610315386
Hersteller: BOSCH
Artikelnummer: EB-F0156901D2-2610315386
Netto: 3,94 € zzgl. MwSt.
zzgl. 6,90 € Versand (brutto)
einmalig pro Bestellung

Lieferzeit: 5 Werktage

Stück
Pos.
24
BOSCH Stopfen | Ersatzteile für 6901 U2 | 2610028780
Hersteller: BOSCH
Artikelnummer: EB-F0156901D2-2610028780
Netto: 3,94 € zzgl. MwSt.
zzgl. 6,90 € Versand (brutto)
einmalig pro Bestellung

Lieferzeit: 5 Werktage

Stück
Pos.
25
BOSCH Handgriff-Set | Ersatzteile für 6901 U2 | 2610905360
Hersteller: BOSCH
Artikelnummer: EB-F0156901D2-2610905360
Netto: 5,19 € zzgl. MwSt.
zzgl. 6,90 € Versand (brutto)
einmalig pro Bestellung

Lieferzeit: 5 Werktage

Stück
Pos.
37
BOSCH Kugel | Ersatzteile für 6901 U2 | 2610002144
Hersteller: BOSCH
Artikelnummer: EB-F0156901D2-2610002144
nur Informationsartikel
Nie mehr lieferbar
keine Alternativen
Pos.
41
BOSCH Feder | Ersatzteile für 6901 U2 | 2610355206
Hersteller: BOSCH
Artikelnummer: EB-F0156901D2-2610355206
nur Informationsartikel
Nie mehr lieferbar
keine Alternativen
Pos.
42
BOSCH Spindel | Ersatzteile für 6901 U2 | 2610355210
Hersteller: BOSCH
Artikelnummer: EB-F0156901D2-2610355210
nur Informationsartikel
Nie mehr lieferbar
keine Alternativen
Pos.
44
BOSCH Ring | Ersatzteile für 6901 U2 | 2610350763
Hersteller: BOSCH
Artikelnummer: EB-F0156901D2-2610350763
nur Informationsartikel
Nie mehr lieferbar
keine Alternativen
Pos.
45
BOSCH Antriebs-Kupplung | Ersatzteile für 6901 U2 | 2610358007
Hersteller: BOSCH
Artikelnummer: EB-F0156901D2-2610358007
nur Informationsartikel
Nie mehr lieferbar
keine Alternativen
Pos.
47
BOSCH Schraube | Ersatzteile für 6901 U2 | 2610350943
Hersteller: BOSCH
Artikelnummer: EB-F0156901D2-2610350943
nur Informationsartikel
Nie mehr lieferbar
keine Alternativen
Pos.
48
BOSCH Distanzscheibe | Ersatzteile für 6901 U2 | 2610350941
Hersteller: BOSCH
Artikelnummer: EB-F0156901D2-2610350941
nur Informationsartikel
Nie mehr lieferbar
keine Alternativen
Pos.
49
BOSCH Gehäuse | Ersatzteile für 6901 U2 | 2610905379
Hersteller: BOSCH
Artikelnummer: EB-F0156901D2-2610905379
nur Informationsartikel
Nie mehr lieferbar
keine Alternativen
Pos.
50
BOSCH Feder | Ersatzteile für 6901 U2 | 2610015241
Hersteller: BOSCH
Artikelnummer: EB-F0156901D2-2610015241
Netto: 3,94 € zzgl. MwSt.
zzgl. 6,90 € Versand (brutto)
einmalig pro Bestellung

Lieferzeit: 5 Werktage

Stück
Pos.
51
BOSCH Knopf | Ersatzteile für 6901 U2 | 2610015236
Hersteller: BOSCH
Artikelnummer: EB-F0156901D2-2610015236
nur Informationsartikel
Nie mehr lieferbar
keine Alternativen
Pos.
52
BOSCH Achse | Ersatzteile für 6901 U2 | 2610358010
Hersteller: BOSCH
Artikelnummer: EB-F0156901D2-2610358010
Netto: 70,50 € zzgl. MwSt.
zzgl. 6,90 € Versand (brutto)
einmalig pro Bestellung

Lieferzeit: 5 Werktage

Stück
Pos.
53
BOSCH Scheibe | Ersatzteile für 6901 U2 | 2610350776
Hersteller: BOSCH
Artikelnummer: EB-F0156901D2-2610350776
nur Informationsartikel
Nie mehr lieferbar
keine Alternativen
Pos.
54
BOSCH Geräteclip | Ersatzteile für 6901 U2 | 2610350939
Hersteller: BOSCH
Artikelnummer: EB-F0156901D2-2610350939
nur Informationsartikel
Nie mehr lieferbar
keine Alternativen
Pos.
56
BOSCH Dichtung | Ersatzteile für 6901 U2 | 2610348570
Hersteller: BOSCH
Artikelnummer: EB-F0156901D2-2610348570
nur Informationsartikel
Nie mehr lieferbar
keine Alternativen
Pos.
57
BOSCH Lagerdeckel | Ersatzteile für 6901 U2 | 2610350765
Hersteller: BOSCH
Artikelnummer: EB-F0156901D2-2610350765
nur Informationsartikel
Nie mehr lieferbar
keine Alternativen
Pos.
58
BOSCH Haltering | Ersatzteile für 6901 U2 | 2610931268
Hersteller: BOSCH
Artikelnummer: EB-F0156901D2-2610931268
nur Informationsartikel
Nie mehr lieferbar
keine Alternativen
Pos.
59
BOSCH Prallschutz | Ersatzteile für 6901 U2 | 2610348586
Hersteller: BOSCH
Artikelnummer: EB-F0156901D2-2610348586
nur Informationsartikel
Nie mehr lieferbar
keine Alternativen
Pos.
60
BOSCH Schraube | Ersatzteile für 6901 U2 | 2610348628
Hersteller: BOSCH
Artikelnummer: EB-F0156901D2-2610348628
nur Informationsartikel
Nie mehr lieferbar
keine Alternativen
Pos.
61
BOSCH Verbindungsleitung 205 MM BLAU | Ersatzteile für 6901 U2 | 2610038676
Hersteller: BOSCH
Artikelnummer: EB-F0156901D2-2610038676
nur Informationsartikel
Nie mehr lieferbar
keine Alternativen
Pos.
62
BOSCH Elektr Leitung 240 MM ROT | Ersatzteile für 6901 U2 | 2610038649
Hersteller: BOSCH
Artikelnummer: EB-F0156901D2-2610038649
nur Informationsartikel
Nie mehr lieferbar
keine Alternativen
Pos.
63
BOSCH Anschlussträger | Ersatzteile für 6901 U2 | 2610348613
Hersteller: BOSCH
Artikelnummer: EB-F0156901D2-2610348613
nur Informationsartikel
Nie mehr lieferbar
keine Alternativen
Pos.
64
BOSCH Unterbrecher | Ersatzteile für 6901 U2 | 2610350352
Hersteller: BOSCH
Artikelnummer: EB-F0156901D2-2610350352
nur Informationsartikel
Nie mehr lieferbar
keine Alternativen
Pos.
66
BOSCH Hebel | Ersatzteile für 6901 U2 | 2610909603
Hersteller: BOSCH
Artikelnummer: EB-F0156901D2-2610909603
nur Informationsartikel
Nie mehr lieferbar
keine Alternativen
Pos.
67
BOSCH Gummiring | Ersatzteile für 6901 U2 | 1619P01127
Hersteller: BOSCH
Artikelnummer: EB-F0156901D2-1619P01127
Netto: 3,63 € zzgl. MwSt.
zzgl. 6,90 € Versand (brutto)
einmalig pro Bestellung

Lieferzeit: 5 Werktage

Stück
Pos.
70
BOSCH Nase | Ersatzteile für 6901 U2 | 2610355211
Hersteller: BOSCH
Artikelnummer: EB-F0156901D2-2610355211
nur Informationsartikel
Nie mehr lieferbar
keine Alternativen
Pos.
71
BOSCH Dichtung | Ersatzteile für 6901 U2 | 2610351851
Hersteller: BOSCH
Artikelnummer: EB-F0156901D2-2610351851
nur Informationsartikel
Nie mehr lieferbar
keine Alternativen
Pos.
72
BOSCH Halter | Ersatzteile für 6901 U2 | 2610351853
Hersteller: BOSCH
Artikelnummer: EB-F0156901D2-2610351853
nur Informationsartikel
Nie mehr lieferbar
keine Alternativen
Pos.
73
BOSCH Feder | Ersatzteile für 6901 U2 | 2610352893
Hersteller: BOSCH
Artikelnummer: EB-F0156901D2-2610352893
nur Informationsartikel
Nie mehr lieferbar
keine Alternativen
Pos.
74
BOSCH Dichtung | Ersatzteile für 6901 U2 | 2610350781
Hersteller: BOSCH
Artikelnummer: EB-F0156901D2-2610350781
nur Informationsartikel
Nie mehr lieferbar
keine Alternativen
Pos.
75
BOSCH Nadellager | Ersatzteile für 6901 U2 | 2610355209
Hersteller: BOSCH
Artikelnummer: EB-F0156901D2-2610355209
nur Informationsartikel
Nie mehr lieferbar
keine Alternativen
Pos.
78
BOSCH Lager | Ersatzteile für 6901 U2 | 2610350777
Hersteller: BOSCH
Artikelnummer: EB-F0156901D2-2610350777
Netto: 7,36 € zzgl. MwSt.
zzgl. 6,90 € Versand (brutto)
einmalig pro Bestellung

Lieferzeit: 5 Werktage

Stück
Pos.
80
BOSCH Adapter | Ersatzteile für 6901 U2 | 2610355217
Hersteller: BOSCH
Artikelnummer: EB-F0156901D2-2610355217
nur Informationsartikel
Nie mehr lieferbar
keine Alternativen
Pos.
86
BOSCH Einlage | Ersatzteile für 6901 U2 | 2610355212
Hersteller: BOSCH
Artikelnummer: EB-F0156901D2-2610355212
nur Informationsartikel
Nie mehr lieferbar
keine Alternativen

Angaben zur Produktsicherheit

Hersteller:
Robert Bosch Power Tools GmbH
Postfach 30 02 20
70442 Stuttgart

E-Mail:
kontakt@bosch.de