BOSCH DBH 740 R - 0607557501

Artikelnummer: EB-0607557501

Position:

Marke: BOSCH


Bitte Kompatibilität prüfen!

Bitte prüfen Sie unbedingt die 10-stellige Typennummer Ihrer Maschine / Ihres Gerätes. Das Ersatzteil ist nur kompatibel, wenn Sie die Typennummer Ihrer Maschine in der unten stehenden Produktbeschreibung finden.

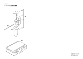
Bitte prüfen Sie ebenfalls detailliert die Explosionszeichnung mit Ihrem Artikelwunsch und der jeweiligen Pos-Nummer.

Alle Elemente, welche vom schwarzen Strich der Pos-Nummer ausgehend berührt / erfasst werden, gehören zu dieser Pos-Nummer und somit zu diesem Artikel. Jede Pos-Nummer ist ein eigenständiger Artikel, welchen Sie in der Auflistung finden.

Sie erhalten stets die aktuellste, neueste Produktversion zu der gewählten Pos-Nummer seitens des Herstellers. Es kann daher je nach Gerätealter vorkommen, dass Sie ggf. weitere, zugehörige Elemente, welche an diese Pos-Nummer grenzen, ebenfalls mittauschen müssen.

Nähere Informationen finden Sie unter dem Link
Hinweise zu Ihrer BOSCH Ersatzteilsuche

Beschreibung

Die aufgelisteten BOSCH Ersatzteile sind mit folgendem Gerät und Modell kompatibel:

BOSCH Gerätename:DBH 740 R
BOSCH Typennummer:0607557501
alternative Schreibweisen:0 607 557 501, 0607 557 501, 0.607.557.501, 0-607-557-501

Bitte prüfen Sie die Typennummer auf Ihrem Gerät um die Kompatibilität des BOSCH Ersatzteils zu gewährleisten.

Die passenden Ersatzteile des BOSCH DBH 740 R (Bohrhammer) mit der Typennummer 0607557501 finden Sie in der nachfolgenden Darstellung geordnet nach der Positionsnummern aus der Explosionszeichnung:

Pos.
20
BOSCH Zwischenflansch | Ersatzteile für DBH 740 R | 1615700037
Hersteller: BOSCH
Artikelnummer: EB-0607557501-1615700037
Netto: 35,77 € zzgl. MwSt.
zzgl. 6,90 € Versand (brutto)
einmalig pro Bestellung

Lieferzeit: 5 Werktage

Stück
Pos.
21
BOSCH Rasthülse SDS-PLUS | Ersatzteile für DBH 740 R | 1616490058
Hersteller: BOSCH
Artikelnummer: EB-0607557501-1616490058
Netto: 189,11 € zzgl. MwSt.
zzgl. 6,90 € Versand (brutto)
einmalig pro Bestellung

Lieferzeit: 5 Werktage

Stück
Pos.
22
BOSCH Stirnrad Z=46 | Ersatzteile für DBH 740 R | 1616320007
Hersteller: BOSCH
Artikelnummer: EB-0607557501-1616320007
Netto: 7,76 € zzgl. MwSt.
zzgl. 6,90 € Versand (brutto)
einmalig pro Bestellung

Lieferzeit: 5 Werktage

Stück
Pos.
24
BOSCH Zahnwelle Z=6/10 | Ersatzteile für DBH 740 R | 1613060010
Hersteller: BOSCH
Artikelnummer: EB-0607557501-1613060010
Netto: 47,09 € zzgl. MwSt.
zzgl. 6,90 € Versand (brutto)
einmalig pro Bestellung

Lieferzeit: 5 Werktage

Stück
Pos.
26
BOSCH Hammerkolben | Ersatzteile für DBH 740 R | 1618700052
Hersteller: BOSCH
Artikelnummer: EB-0607557501-1618700052
Netto: 11,92 € zzgl. MwSt.
zzgl. 6,90 € Versand (brutto)
einmalig pro Bestellung

Lieferzeit: 5 Werktage

Stück
Pos.
28
BOSCH Schlagbolzen | Ersatzteile für DBH 740 R | 1613124026
Hersteller: BOSCH
Artikelnummer: EB-0607557501-1613124026
Netto: 4,82 € zzgl. MwSt.
zzgl. 6,90 € Versand (brutto)
einmalig pro Bestellung

Lieferzeit: 5 Werktage

Stück
Pos.
29
BOSCH Kolbenbolzen | Ersatzteile für DBH 740 R | 1613105012
Hersteller: BOSCH
Artikelnummer: EB-0607557501-1613105012
Netto: 5,19 € zzgl. MwSt.
zzgl. 6,90 € Versand (brutto)
einmalig pro Bestellung

Lieferzeit: 5 Werktage

Stück
Pos.
30
BOSCH Antriebslager | Ersatzteile für DBH 740 R | 1615819005
Hersteller: BOSCH
Artikelnummer: EB-0607557501-1615819005
Netto: 26,88 € zzgl. MwSt.
zzgl. 6,90 € Versand (brutto)
einmalig pro Bestellung

Lieferzeit: 5 Werktage

Stück
Pos.
31
BOSCH Lagerscheibe 0,8 MM DICK | Ersatzteile für DBH 740 R | 1610100003
Hersteller: BOSCH
Artikelnummer: EB-0607557501-1610100003
Netto: 3,94 € zzgl. MwSt.
zzgl. 6,90 € Versand (brutto)
einmalig pro Bestellung

Lieferzeit: 5 Werktage

Stück
Pos.
32
BOSCH Knebelgriff SCHWARZ | Ersatzteile für DBH 740 R | 1612026023
Hersteller: BOSCH
Artikelnummer: EB-0607557501-1612026023
Netto: 4,53 € zzgl. MwSt.
zzgl. 6,90 € Versand (brutto)
einmalig pro Bestellung

Lieferzeit: 5 Werktage

Stück
Pos.
34
BOSCH Schutzkappe L=17 MM, SDS-PLUS | Ersatzteile für DBH 740 R | 1610508008
Hersteller: BOSCH
Artikelnummer: EB-0607557501-1610508008
Netto: 4,32 € zzgl. MwSt.
zzgl. 6,90 € Versand (brutto)
einmalig pro Bestellung

Lieferzeit: 5 Werktage

Stück
Pos.
37
BOSCH Dämpfungsbuchse | Ersatzteile für DBH 740 R | 1610390011
Hersteller: BOSCH
Artikelnummer: EB-0607557501-1610390011
Netto: 5,19 € zzgl. MwSt.
zzgl. 6,90 € Versand (brutto)
einmalig pro Bestellung

Lieferzeit: 5 Werktage

Stück
Pos.
38
BOSCH Stützscheibe | Ersatzteile für DBH 740 R | 1610102022
Hersteller: BOSCH
Artikelnummer: EB-0607557501-1610102022
Netto: 4,32 € zzgl. MwSt.
zzgl. 6,90 € Versand (brutto)
einmalig pro Bestellung

Lieferzeit: 5 Werktage

Stück
Pos.
39
BOSCH Zylinderstift | Ersatzteile für DBH 740 R | 1613100013
Hersteller: BOSCH
Artikelnummer: EB-0607557501-1613100013
Netto: 4,32 € zzgl. MwSt.
zzgl. 6,90 € Versand (brutto)
einmalig pro Bestellung

Lieferzeit: 5 Werktage

Stück
Pos.
40
BOSCH Haltefeder | Ersatzteile für DBH 740 R | 1614690001
Hersteller: BOSCH
Artikelnummer: EB-0607557501-1614690001
Netto: 3,63 € zzgl. MwSt.
zzgl. 6,90 € Versand (brutto)
einmalig pro Bestellung

Lieferzeit: 5 Werktage

Stück
Pos.
41
BOSCH Rollenkranz | Ersatzteile für DBH 740 R | 1610920003
Hersteller: BOSCH
Artikelnummer: EB-0607557501-1610920003
Netto: 5,67 € zzgl. MwSt.
zzgl. 6,90 € Versand (brutto)
einmalig pro Bestellung

Lieferzeit: 5 Werktage

Stück
Pos.
44
BOSCH Druckfeder | Ersatzteile für DBH 740 R | 1614633001
Hersteller: BOSCH
Artikelnummer: EB-0607557501-1614633001
Netto: 4,32 € zzgl. MwSt.
zzgl. 6,90 € Versand (brutto)
einmalig pro Bestellung

Lieferzeit: 5 Werktage

Stück
Pos.
45
BOSCH Druckfeder | Ersatzteile für DBH 740 R | 1614614001
Hersteller: BOSCH
Artikelnummer: EB-0607557501-1614614001
Netto: 3,63 € zzgl. MwSt.
zzgl. 6,90 € Versand (brutto)
einmalig pro Bestellung

Lieferzeit: 5 Werktage

Stück
Pos.
54
BOSCH O-Ring 24,0x2,5 MM | Ersatzteile für DBH 740 R | 1610210068
Hersteller: BOSCH
Artikelnummer: EB-0607557501-1610210068
Netto: 3,94 € zzgl. MwSt.
zzgl. 6,90 € Versand (brutto)
einmalig pro Bestellung

Lieferzeit: 5 Werktage

Stück
Pos.
55
BOSCH Dichtring | Ersatzteile für DBH 740 R | 1610206023
Hersteller: BOSCH
Artikelnummer: EB-0607557501-1610206023
Netto: 4,82 € zzgl. MwSt.
zzgl. 6,90 € Versand (brutto)
einmalig pro Bestellung

Lieferzeit: 5 Werktage

Stück
Pos.
56
BOSCH O-Ring 14,0x3,0 MM | Ersatzteile für DBH 740 R | 1610210070
Hersteller: BOSCH
Artikelnummer: EB-0607557501-1610210070
Netto: 4,53 € zzgl. MwSt.
zzgl. 6,90 € Versand (brutto)
einmalig pro Bestellung

Lieferzeit: 5 Werktage

Stück
Pos.
23
BOSCH Stirnrad Z=6/19 | Ersatzteile für DBH 740 R | 3606320012
Hersteller: BOSCH
Artikelnummer: EB-0607557501-3606320012
Netto: 51,18 € zzgl. MwSt.
zzgl. 6,90 € Versand (brutto)
einmalig pro Bestellung

Lieferzeit: 5 Werktage

Stück
Pos.
58
BOSCH O-Ring 18,0x3,0 MM | Ersatzteile für DBH 740 R | 1610210058
Hersteller: BOSCH
Artikelnummer: EB-0607557501-1610210058
Netto: 4,53 € zzgl. MwSt.
zzgl. 6,90 € Versand (brutto)
einmalig pro Bestellung

Lieferzeit: 5 Werktage

Stück
Pos.
59
BOSCH O-Ring 6,0x2,5 MM | Ersatzteile für DBH 740 R | 1610210069
Hersteller: BOSCH
Artikelnummer: EB-0607557501-1610210069
Netto: 3,63 € zzgl. MwSt.
zzgl. 6,90 € Versand (brutto)
einmalig pro Bestellung

Lieferzeit: 5 Werktage

Stück
Pos.
60
BOSCH O-Ring 10,0x3,5 MM | Ersatzteile für DBH 740 R | 1610210073
Hersteller: BOSCH
Artikelnummer: EB-0607557501-1610210073
Netto: 4,32 € zzgl. MwSt.
zzgl. 6,90 € Versand (brutto)
einmalig pro Bestellung

Lieferzeit: 5 Werktage

Stück
Pos.
61
BOSCH Radial-Wellendichtring | Ersatzteile für DBH 740 R | 1610283017
Hersteller: BOSCH
Artikelnummer: EB-0607557501-1610283017
Netto: 7,76 € zzgl. MwSt.
zzgl. 6,90 € Versand (brutto)
einmalig pro Bestellung

Lieferzeit: 5 Werktage

Stück
Pos.
62
BOSCH Gleitlager | Ersatzteile für DBH 740 R | 1610202026
Hersteller: BOSCH
Artikelnummer: EB-0607557501-1610202026
Netto: 6,15 € zzgl. MwSt.
zzgl. 6,90 € Versand (brutto)
einmalig pro Bestellung

Lieferzeit: 5 Werktage

Stück
Pos.
63
BOSCH Rillenkugellager 9x24x7 | Ersatzteile für DBH 740 R | 1610905048
Hersteller: BOSCH
Artikelnummer: EB-0607557501-1610905048
Netto: 8,33 € zzgl. MwSt.
zzgl. 6,90 € Versand (brutto)
einmalig pro Bestellung

Lieferzeit: 5 Werktage

Stück
Pos.
65
BOSCH Rillenkugellager 8x22x7 | Ersatzteile für DBH 740 R | 1900900228
Hersteller: BOSCH
Artikelnummer: EB-0607557501-1900900228
Netto: 6,75 € zzgl. MwSt.
zzgl. 6,90 € Versand (brutto)
einmalig pro Bestellung

Lieferzeit: 5 Werktage

Stück
Pos.
66
BOSCH Lagerbuchse Ø30xØ37x15,7 MM | Ersatzteile für DBH 740 R | 1610301000
Hersteller: BOSCH
Artikelnummer: EB-0607557501-1610301000
Netto: 4,53 € zzgl. MwSt.
zzgl. 6,90 € Versand (brutto)
einmalig pro Bestellung

Lieferzeit: 5 Werktage

Stück
Pos.
67
BOSCH Nadelhülse | Ersatzteile für DBH 740 R | 1610910064
Hersteller: BOSCH
Artikelnummer: EB-0607557501-1610910064
nur Informationsartikel
Nie mehr lieferbar
keine Alternativen
Pos.
70
BOSCH Kugel DIN 5401-Ø7MM-III-ST | Ersatzteile für DBH 740 R | 1903230013
Hersteller: BOSCH
Artikelnummer: EB-0607557501-1903230013
Netto: 4,32 € zzgl. MwSt.
zzgl. 6,90 € Versand (brutto)
einmalig pro Bestellung

Lieferzeit: 5 Werktage

Stück
Pos.
71
BOSCH Distanzscheibe 1,2 MM DICK | Ersatzteile für DBH 740 R | 1610101011
Hersteller: BOSCH
Artikelnummer: EB-0607557501-1610101011
Netto: 3,94 € zzgl. MwSt.
zzgl. 6,90 € Versand (brutto)
einmalig pro Bestellung

Lieferzeit: 5 Werktage

Stück
Pos.
72
BOSCH Sprengring DIN 7993-A32 | Ersatzteile für DBH 740 R | 2916540018
Hersteller: BOSCH
Artikelnummer: EB-0607557501-2916540018
Netto: 5,19 € zzgl. MwSt.
zzgl. 6,90 € Versand (brutto)
einmalig pro Bestellung

Lieferzeit: 5 Werktage

Stück
Pos.
73
BOSCH Sprengring DIN 9045-24 | Ersatzteile für DBH 740 R | 1614601009
Hersteller: BOSCH
Artikelnummer: EB-0607557501-1614601009
Netto: 3,63 € zzgl. MwSt.
zzgl. 6,90 € Versand (brutto)
einmalig pro Bestellung

Lieferzeit: 5 Werktage

Stück
Pos.
76
BOSCH Blechschraube ST-4,8x57,5-TORX,T20 | Ersatzteile für DBH 740 R | 1613435009
Hersteller: BOSCH
Artikelnummer: EB-0607557501-1613435009
Netto: 3,94 € zzgl. MwSt.
zzgl. 6,90 € Versand (brutto)
einmalig pro Bestellung

Lieferzeit: 5 Werktage

Stück
Pos.
83
BOSCH Kugel 5 MM V DIN 5401 | Ersatzteile für DBH 740 R | 1903230309
Hersteller: BOSCH
Artikelnummer: EB-0607557501-1903230309
Netto: 3,94 € zzgl. MwSt.
zzgl. 6,90 € Versand (brutto)
einmalig pro Bestellung

Lieferzeit: 5 Werktage

Stück
Pos.
87
BOSCH Sprengring DIN 7993-A22 | Ersatzteile für DBH 740 R | 2916540012
Hersteller: BOSCH
Artikelnummer: EB-0607557501-2916540012
Netto: 4,27 € zzgl. MwSt.
zzgl. 6,90 € Versand (brutto)
einmalig pro Bestellung

Lieferzeit: 5 Werktage

Stück
Pos.
94
BOSCH Rastbolzen | Ersatzteile für DBH 740 R | 1613120017
Hersteller: BOSCH
Artikelnummer: EB-0607557501-1613120017
Netto: 3,94 € zzgl. MwSt.
zzgl. 6,90 € Versand (brutto)
einmalig pro Bestellung

Lieferzeit: 5 Werktage

Stück
Pos.
99
BOSCH Hinweisschild | Ersatzteile für DBH 740 R | 3601119236
Hersteller: BOSCH
Artikelnummer: EB-0607557501-3601119236
Netto: 5,19 € zzgl. MwSt.
zzgl. 6,90 € Versand (brutto)
einmalig pro Bestellung

Lieferzeit: 5 Werktage

Stück
Pos.
120
BOSCH Zusatzhandgriff M8 | Ersatzteile für DBH 740 R | 1612025019
Hersteller: BOSCH
Artikelnummer: EB-0607557501-1612025019
Netto: 7,30 € zzgl. MwSt.
zzgl. 6,90 € Versand (brutto)
einmalig pro Bestellung

Lieferzeit: 5 Werktage

Stück
Pos.
121
BOSCH Klemmhalter Ø43 MM | Ersatzteile für DBH 740 R | 1618040048
Hersteller: BOSCH
Artikelnummer: EB-0607557501-1618040048
Netto: 8,33 € zzgl. MwSt.
zzgl. 6,90 € Versand (brutto)
einmalig pro Bestellung

Lieferzeit: 5 Werktage

Stück
Pos.
122
BOSCH Hammerschraube M8x40 MM | Ersatzteile für DBH 740 R | 1613490002
Hersteller: BOSCH
Artikelnummer: EB-0607557501-1613490002
Netto: 5,67 € zzgl. MwSt.
zzgl. 6,90 € Versand (brutto)
einmalig pro Bestellung

Lieferzeit: 5 Werktage

Stück
Pos.
123
BOSCH Spannband Ø43 MM | Ersatzteile für DBH 740 R | 1611316006
Hersteller: BOSCH
Artikelnummer: EB-0607557501-1611316006
Netto: 4,53 € zzgl. MwSt.
zzgl. 6,90 € Versand (brutto)
einmalig pro Bestellung

Lieferzeit: 5 Werktage

Stück
Pos.
202
BOSCH Stator 740W | Ersatzteile für DBH 740 R | 3604090022
Hersteller: BOSCH
Artikelnummer: EB-0607557501-3604090022
Netto: 135,20 € zzgl. MwSt.
zzgl. 6,90 € Versand (brutto)
einmalig pro Bestellung

Lieferzeit: 5 Werktage

Stück
Pos.
203
BOSCH Rotor | Ersatzteile für DBH 740 R | 3604220021
Hersteller: BOSCH
Artikelnummer: EB-0607557501-3604220021
Netto: 96,32 € zzgl. MwSt.
zzgl. 6,90 € Versand (brutto)
einmalig pro Bestellung

Lieferzeit: 5 Werktage

Stück
Pos.
205
BOSCH Lagerflansch | Ersatzteile für DBH 740 R | 3605700014
Hersteller: BOSCH
Artikelnummer: EB-0607557501-3605700014
Netto: 52,14 € zzgl. MwSt.
zzgl. 6,90 € Versand (brutto)
einmalig pro Bestellung

Lieferzeit: 5 Werktage

Stück
Pos.
206
BOSCH Rillenkugellager 10x26x8 | Ersatzteile für DBH 740 R | 1900905127
Hersteller: BOSCH
Artikelnummer: EB-0607557501-1900905127
Netto: 24,13 € zzgl. MwSt.
zzgl. 6,90 € Versand (brutto)
einmalig pro Bestellung

Lieferzeit: 5 Werktage

Stück
Pos.
208
BOSCH Rillenkugellager 8x22x7 | Ersatzteile für DBH 740 R | 1900905029
Hersteller: BOSCH
Artikelnummer: EB-0607557501-1900905029
Netto: 17,38 € zzgl. MwSt.
zzgl. 6,90 € Versand (brutto)
einmalig pro Bestellung

Lieferzeit: 5 Werktage

Stück
Pos.
209
BOSCH Distanzring | Ersatzteile für DBH 740 R | 2600200007
Hersteller: BOSCH
Artikelnummer: EB-0607557501-2600200007
Netto: 9,18 € zzgl. MwSt.
zzgl. 6,90 € Versand (brutto)
einmalig pro Bestellung

Lieferzeit: 5 Werktage

Stück
Pos.
210
BOSCH Distanzring | Ersatzteile für DBH 740 R | 3600202004
Hersteller: BOSCH
Artikelnummer: EB-0607557501-3600202004
Netto: 9,95 € zzgl. MwSt.
zzgl. 6,90 € Versand (brutto)
einmalig pro Bestellung

Lieferzeit: 5 Werktage

Stück
Pos.
211
BOSCH Unterlegscheibe DIN 125-A5,3-ST | Ersatzteile für DBH 740 R | 2916011012
Hersteller: BOSCH
Artikelnummer: EB-0607557501-2916011012
Netto: 3,63 € zzgl. MwSt.
zzgl. 6,90 € Versand (brutto)
einmalig pro Bestellung

Lieferzeit: 5 Werktage

Stück
Pos.
212
BOSCH Sechskantschraube DIN 933-M5x8-8.8 | Ersatzteile für DBH 740 R | 2911061150
Hersteller: BOSCH
Artikelnummer: EB-0607557501-2911061150
Netto: 4,53 € zzgl. MwSt.
zzgl. 6,90 € Versand (brutto)
einmalig pro Bestellung

Lieferzeit: 5 Werktage

Stück
Pos.
230
BOSCH Kupplungsteil Z=21 | Ersatzteile für DBH 740 R | 3606491000
Hersteller: BOSCH
Artikelnummer: EB-0607557501-3606491000
Netto: 7,30 € zzgl. MwSt.
zzgl. 6,90 € Versand (brutto)
einmalig pro Bestellung

Lieferzeit: 5 Werktage

Stück
Pos.
254
BOSCH Anschlussstutzen | Ersatzteile für DBH 740 R | 3603458008
Hersteller: BOSCH
Artikelnummer: EB-0607557501-3603458008
Netto: 8,33 € zzgl. MwSt.
zzgl. 6,90 € Versand (brutto)
einmalig pro Bestellung

Lieferzeit: 5 Werktage

Stück
Pos.
255
BOSCH O-Ring 10x2 MM | Ersatzteile für DBH 740 R | 1900210106
Hersteller: BOSCH
Artikelnummer: EB-0607557501-1900210106
Netto: 3,94 € zzgl. MwSt.
zzgl. 6,90 € Versand (brutto)
einmalig pro Bestellung

Lieferzeit: 5 Werktage

Stück
Pos.
260
BOSCH Sieb | Ersatzteile für DBH 740 R | 3600002000
Hersteller: BOSCH
Artikelnummer: EB-0607557501-3600002000
Netto: 5,19 € zzgl. MwSt.
zzgl. 6,90 € Versand (brutto)
einmalig pro Bestellung

Lieferzeit: 5 Werktage

Stück
Pos.
265
BOSCH O-Ring 15,6x1,8 MM | Ersatzteile für DBH 740 R | 3600210003
Hersteller: BOSCH
Artikelnummer: EB-0607557501-3600210003
Netto: 3,94 € zzgl. MwSt.
zzgl. 6,90 € Versand (brutto)
einmalig pro Bestellung

Lieferzeit: 5 Werktage

Stück
Pos.
269
BOSCH Druckfeder | Ersatzteile für DBH 740 R | 3604616002
Hersteller: BOSCH
Artikelnummer: EB-0607557501-3604616002
Netto: 4,32 € zzgl. MwSt.
zzgl. 6,90 € Versand (brutto)
einmalig pro Bestellung

Lieferzeit: 5 Werktage

Stück
Pos.
272
BOSCH Zylinderstift 3M6x24 DIN 7-C35K | Ersatzteile für DBH 740 R | 2917610083
Hersteller: BOSCH
Artikelnummer: EB-0607557501-2917610083
Netto: 3,94 € zzgl. MwSt.
zzgl. 6,90 € Versand (brutto)
einmalig pro Bestellung

Lieferzeit: 5 Werktage

Stück
Pos.
292
BOSCH Schalldämpfer | Ersatzteile für DBH 740 R | 3603462000
Hersteller: BOSCH
Artikelnummer: EB-0607557501-3603462000
Netto: 14,36 € zzgl. MwSt.
zzgl. 6,90 € Versand (brutto)
einmalig pro Bestellung

Lieferzeit: 5 Werktage

Stück
Pos.
650
BOSCH Schlauchnippel | Ersatzteile für DBH 740 R | 3607030219
Hersteller: BOSCH
Artikelnummer: EB-0607557501-3607030219
Netto: 14,36 € zzgl. MwSt.
zzgl. 6,90 € Versand (brutto)
einmalig pro Bestellung

Lieferzeit: 5 Werktage

Stück
Pos.
650/20
BOSCH Teilesatz 2 STUECK | Ersatzteile für DBH 740 R | 3607010030
Hersteller: BOSCH
Artikelnummer: EB-0607557501-3607010030
nur Informationsartikel
Nie mehr lieferbar
keine Alternativen
Pos.
720
BOSCH Zusatzhandgriff Ø43 MM | Ersatzteile für DBH 740 R | 2602025070
Hersteller: BOSCH
Artikelnummer: EB-0607557501-2602025070
Netto: 12,98 € zzgl. MwSt.
zzgl. 6,90 € Versand (brutto)
einmalig pro Bestellung

Lieferzeit: 5 Werktage

Stück
Pos.
804
BOSCH Teilesatz 5 STUECK | Ersatzteile für DBH 740 R | 3607030254
Hersteller: BOSCH
Artikelnummer: EB-0607557501-3607030254
Netto: 24,13 € zzgl. MwSt.
zzgl. 6,90 € Versand (brutto)
einmalig pro Bestellung

Lieferzeit: 5 Werktage

Stück
Pos.
816
BOSCH Getriebegehäuse SCHWARZ | Ersatzteile für DBH 740 R | 1615806077
Hersteller: BOSCH
Artikelnummer: EB-0607557501-1615806077
Netto: 39,11 € zzgl. MwSt.
zzgl. 6,90 € Versand (brutto)
einmalig pro Bestellung

Lieferzeit: 5 Werktage

Stück
Pos.
821
BOSCH Rasthülse | Ersatzteile für DBH 740 R | 1617000931
Hersteller: BOSCH
Artikelnummer: EB-0607557501-1617000931
Netto: 241,95 € zzgl. MwSt.
zzgl. 6,90 € Versand (brutto)
einmalig pro Bestellung

Lieferzeit: 5 Werktage

Stück
Pos.
827
BOSCH Schläger | Ersatzteile für DBH 740 R | 1617000338
Hersteller: BOSCH
Artikelnummer: EB-0607557501-1617000338
Netto: 24,13 € zzgl. MwSt.
zzgl. 6,90 € Versand (brutto)
einmalig pro Bestellung

Lieferzeit: 5 Werktage

Stück
Pos.
833
BOSCH Schutzhülse SDS-PLUS | Ersatzteile für DBH 740 R | 1617000163
Hersteller: BOSCH
Artikelnummer: EB-0607557501-1617000163
Netto: 7,76 € zzgl. MwSt.
zzgl. 6,90 € Versand (brutto)
einmalig pro Bestellung

Lieferzeit: 5 Werktage

Stück
Pos.
201
BOSCH Motorgehäuse | Ersatzteile für DBH 740 R | 3605108114
Hersteller: BOSCH
Artikelnummer: EB-0607557501-3605108114
Netto: 424,76 € zzgl. MwSt.
zzgl. 6,90 € Versand (brutto)
einmalig pro Bestellung

Lieferzeit: 5 Werktage

Stück
Pos.
207
BOSCH Lagerflansch | Ersatzteile für DBH 740 R | 3605700012
Hersteller: BOSCH
Artikelnummer: EB-0607557501-3605700012
nur Informationsartikel
Nie mehr lieferbar
keine Alternativen
Pos.
213
BOSCH Dichtplatte | Ersatzteile für DBH 740 R | 3600031000
Hersteller: BOSCH
Artikelnummer: EB-0607557501-3600031000
Netto: 4,32 € zzgl. MwSt.
zzgl. 6,90 € Versand (brutto)
einmalig pro Bestellung

Lieferzeit: 5 Werktage

Stück
Pos.
226
BOSCH Ritzel Z=21 | Ersatzteile für DBH 740 R | 3603060012
Hersteller: BOSCH
Artikelnummer: EB-0607557501-3603060012
nur Informationsartikel
Nie mehr lieferbar
keine Alternativen
Pos.
228
BOSCH Gewindering | Ersatzteile für DBH 740 R | 3600290037
Hersteller: BOSCH
Artikelnummer: EB-0607557501-3600290037
nur Informationsartikel
Nie mehr lieferbar
keine Alternativen
Pos.
229
BOSCH Ritzel Z=5/21 | Ersatzteile für DBH 740 R | 3603060010
Hersteller: BOSCH
Artikelnummer: EB-0607557501-3603060010
nur Informationsartikel
Nie mehr lieferbar
keine Alternativen
Pos.
256
BOSCH Ventileinsatz | Ersatzteile für DBH 740 R | 3605190137
Hersteller: BOSCH
Artikelnummer: EB-0607557501-3605190137
Netto: 96,32 € zzgl. MwSt.
zzgl. 6,90 € Versand (brutto)
einmalig pro Bestellung

Lieferzeit: 5 Werktage

Stück
Pos.
266
BOSCH Zylinderstift | Ersatzteile für DBH 740 R | 3604710007
Hersteller: BOSCH
Artikelnummer: EB-0607557501-3604710007
Netto: 9,18 € zzgl. MwSt.
zzgl. 6,90 € Versand (brutto)
einmalig pro Bestellung

Lieferzeit: 5 Werktage

Stück
Pos.
267
BOSCH Schalthebel | Ersatzteile für DBH 740 R | 3602053005
Hersteller: BOSCH
Artikelnummer: EB-0607557501-3602053005
Netto: 12,98 € zzgl. MwSt.
zzgl. 6,90 € Versand (brutto)
einmalig pro Bestellung

Lieferzeit: 5 Werktage

Stück
Pos.
268
BOSCH Kugel Ø9 MM | Ersatzteile für DBH 740 R | 3603230004
Hersteller: BOSCH
Artikelnummer: EB-0607557501-3603230004
Netto: 5,19 € zzgl. MwSt.
zzgl. 6,90 € Versand (brutto)
einmalig pro Bestellung

Lieferzeit: 5 Werktage

Stück
Pos.
271
BOSCH Zylinderkerbstift 2,5x16 DIN 1473 | Ersatzteile für DBH 740 R | 2917601059
Hersteller: BOSCH
Artikelnummer: EB-0607557501-2917601059
Netto: 3,63 € zzgl. MwSt.
zzgl. 6,90 € Versand (brutto)
einmalig pro Bestellung

Lieferzeit: 5 Werktage

Stück
Pos.
273
BOSCH Zylinderstift | Ersatzteile für DBH 740 R | 3604710003
Hersteller: BOSCH
Artikelnummer: EB-0607557501-3604710003
Netto: 7,30 € zzgl. MwSt.
zzgl. 6,90 € Versand (brutto)
einmalig pro Bestellung

Lieferzeit: 5 Werktage

Stück
Pos.
279
BOSCH O-Ring 1,8x1,0 MM | Ersatzteile für DBH 740 R | 3600210002
Hersteller: BOSCH
Artikelnummer: EB-0607557501-3600210002
Netto: 4,53 € zzgl. MwSt.
zzgl. 6,90 € Versand (brutto)
einmalig pro Bestellung

Lieferzeit: 5 Werktage

Stück
Pos.
296
BOSCH Firmenschild | Ersatzteile für DBH 740 R | 3601110038
Hersteller: BOSCH
Artikelnummer: EB-0607557501-3601110038
Netto: 6,15 € zzgl. MwSt.
zzgl. 6,90 € Versand (brutto)
einmalig pro Bestellung

Lieferzeit: 5 Werktage

Stück
Pos.
297
BOSCH Firmenschild | Ersatzteile für DBH 740 R | 3601110163
Hersteller: BOSCH
Artikelnummer: EB-0607557501-3601110163
Netto: 7,30 € zzgl. MwSt.
zzgl. 6,90 € Versand (brutto)
einmalig pro Bestellung

Lieferzeit: 5 Werktage

Stück
Pos.
650
BOSCH Schlauchnippel | Ersatzteile für DBH 740 R | 3603386016
Hersteller: BOSCH
Artikelnummer: EB-0607557501-3607030219
Netto: 12,98 € zzgl. MwSt.
zzgl. 6,90 € Versand (brutto)
einmalig pro Bestellung

Lieferzeit: 5 Werktage

Stück
Pos.
691
BOSCH Tragkasten | Ersatzteile für DBH 740 R | 1615438313
Hersteller: BOSCH
Artikelnummer: EB-0607557501-1615438313
nur Informationsartikel
Nie mehr lieferbar
keine Alternativen
Pos.
751
BOSCH Tiefenanschlag | Ersatzteile für DBH 740 R | 1613001003
Hersteller: BOSCH
Artikelnummer: EB-0607557501-1613001003
Netto: 8,84 € zzgl. MwSt.
zzgl. 6,90 € Versand (brutto)
einmalig pro Bestellung

Lieferzeit: 5 Werktage

Stück

Angaben zur Produktsicherheit

Hersteller:
Robert Bosch Power Tools GmbH
Postfach 30 02 20
70442 Stuttgart

E-Mail:
kontakt@bosch.de