BOSCH GSR 18V-150 C - 3601JJ5051

Artikelnummer: EB-3601JJ5051

Position:

Marke: BOSCH


Bitte Kompatibilität prüfen!

Bitte prüfen Sie unbedingt die 10-stellige Typennummer Ihrer Maschine / Ihres Gerätes. Das Ersatzteil ist nur kompatibel, wenn Sie die Typennummer Ihrer Maschine in der unten stehenden Produktbeschreibung finden.

Bitte prüfen Sie ebenfalls detailliert die Explosionszeichnung mit Ihrem Artikelwunsch und der jeweiligen Pos-Nummer.

Alle Elemente, welche vom schwarzen Strich der Pos-Nummer ausgehend berührt / erfasst werden, gehören zu dieser Pos-Nummer und somit zu diesem Artikel. Jede Pos-Nummer ist ein eigenständiger Artikel, welchen Sie in der Auflistung finden.

Sie erhalten stets die aktuellste, neueste Produktversion zu der gewählten Pos-Nummer seitens des Herstellers. Es kann daher je nach Gerätealter vorkommen, dass Sie ggf. weitere, zugehörige Elemente, welche an diese Pos-Nummer grenzen, ebenfalls mittauschen müssen.

Nähere Informationen finden Sie unter dem Link
Hinweise zu Ihrer BOSCH Ersatzteilsuche

Beschreibung

Die aufgelisteten BOSCH Ersatzteile sind mit folgendem Gerät und Modell kompatibel:

BOSCH Gerätename:GSR 18V-150 C
BOSCH Typennummer:3601JJ5051
alternative Schreibweisen:3 601 JJ5 051, 3601 JJ5 051, 3.601.JJ5.051, 3-601-JJ5-051

Bitte prüfen Sie die Typennummer auf Ihrem Gerät um die Kompatibilität des BOSCH Ersatzteils zu gewährleisten.

Die passenden Ersatzteile des BOSCH GSR 18V-150 C (Akku-Bohrschrauber) mit der Typennummer 3601JJ5051 finden Sie in der nachfolgenden Darstellung geordnet nach der Positionsnummern aus der Explosionszeichnung:

Pos.
1
BOSCH Gehäuse | Ersatzteile für GSR 18V-150 C | 1600A01RC8
Hersteller: BOSCH
Artikelnummer: EB-3601JJ5051-1600A01RC8
Netto: 15,75 € zzgl. MwSt.
zzgl. 6,90 € Versand (brutto)
einmalig pro Bestellung

Lieferzeit: 5 Werktage

Stück
Pos.
657/1
BOSCH Geräteclip | Ersatzteile für GSR 18V-150 C | 2609111584
Hersteller: BOSCH
Artikelnummer: EB-3601JJ5051-2609111584
Netto: 5,19 € zzgl. MwSt.
zzgl. 6,90 € Versand (brutto)
einmalig pro Bestellung

Lieferzeit: 5 Werktage

Stück
Pos.
657/2
BOSCH Schraube | Ersatzteile für GSR 18V-150 C | 2609110834
Hersteller: BOSCH
Artikelnummer: EB-3601JJ5051-2609110834
Netto: 3,94 € zzgl. MwSt.
zzgl. 6,90 € Versand (brutto)
einmalig pro Bestellung

Lieferzeit: 5 Werktage

Stück
Pos.
3
BOSCH Schalter | Ersatzteile für GSR 18V-150 C | 2607202501
Hersteller: BOSCH
Artikelnummer: EB-3601JJ5051-2607202501
Netto: 14,36 € zzgl. MwSt.
zzgl. 6,90 € Versand (brutto)
einmalig pro Bestellung

Lieferzeit: 5 Werktage

Stück
Pos.
4
BOSCH Elektronik-Modul | Ersatzteile für GSR 18V-150 C | 16072335G8
Hersteller: BOSCH
Artikelnummer: EB-3601JJ5051-16072335G8
Netto: 96,32 € zzgl. MwSt.
zzgl. 6,90 € Versand (brutto)
einmalig pro Bestellung

Lieferzeit: 5 Werktage

Stück
Pos.
5
BOSCH Umschalthebel | Ersatzteile für GSR 18V-150 C | 1600A01RH7
Hersteller: BOSCH
Artikelnummer: EB-3601JJ5051-1600A01RH7
Netto: 3,63 € zzgl. MwSt.
zzgl. 6,90 € Versand (brutto)
einmalig pro Bestellung

Lieferzeit: 5 Werktage

Stück
Pos.
7
BOSCH Deckeleinheit | Ersatzteile für GSR 18V-150 C | 1600A01TN9
Hersteller: BOSCH
Artikelnummer: EB-3601JJ5051-1600A01TN9
Netto: 3,94 € zzgl. MwSt.
zzgl. 6,90 € Versand (brutto)
einmalig pro Bestellung

Lieferzeit: 5 Werktage

Stück
Pos.
9
BOSCH Firmenschild | Ersatzteile für GSR 18V-150 C | 160111C3BC
Hersteller: BOSCH
Artikelnummer: EB-3601JJ5051-160111C3BC
Netto: 4,53 € zzgl. MwSt.
zzgl. 6,90 € Versand (brutto)
einmalig pro Bestellung

Lieferzeit: 5 Werktage

Stück
Pos.
16
BOSCH Elektronikmodul | Ersatzteile für GSR 18V-150 C | 1600A016CZ
Hersteller: BOSCH
Artikelnummer: EB-3601JJ5051-1600A016CZ
Netto: 9,18 € zzgl. MwSt.
zzgl. 6,90 € Versand (brutto)
einmalig pro Bestellung

Lieferzeit: 5 Werktage

Stück
Pos.
17
BOSCH Abdeckblende | Ersatzteile für GSR 18V-150 C | 1600A02KY7
Hersteller: BOSCH
Artikelnummer: EB-3601JJ5051-1600A02KY7
Netto: 4,32 € zzgl. MwSt.
zzgl. 6,90 € Versand (brutto)
einmalig pro Bestellung

Lieferzeit: 5 Werktage

Stück
Pos.
25
BOSCH Schnellspannbohrfutter | Ersatzteile für GSR 18V-150 C | 1600A02HZ9
Hersteller: BOSCH
Artikelnummer: EB-3601JJ5051-1600A02HZ9
Netto: 29,45 € zzgl. MwSt.
zzgl. 6,90 € Versand (brutto)
einmalig pro Bestellung

Lieferzeit: 23 Werktage

Stück
Pos.
32
BOSCH Umschalteinheit | Ersatzteile für GSR 18V-150 C | 1600A01C95
Hersteller: BOSCH
Artikelnummer: EB-3601JJ5051-1600A01C95
Netto: 3,63 € zzgl. MwSt.
zzgl. 6,90 € Versand (brutto)
einmalig pro Bestellung

Lieferzeit: 5 Werktage

Stück
Pos.
45
BOSCH Getriebekasten | Ersatzteile für GSR 18V-150 C | 1600A01006
Hersteller: BOSCH
Artikelnummer: EB-3601JJ5051-1600A01006
Netto: 57,47 € zzgl. MwSt.
zzgl. 6,90 € Versand (brutto)
einmalig pro Bestellung

Lieferzeit: 5 Werktage

Stück
Pos.
46
BOSCH Druckfeder | Ersatzteile für GSR 18V-150 C | 1609280477
Hersteller: BOSCH
Artikelnummer: EB-3601JJ5051-1609280477
Netto: 3,94 € zzgl. MwSt.
zzgl. 6,90 € Versand (brutto)
einmalig pro Bestellung

Lieferzeit: 5 Werktage

Stück
Pos.
47
BOSCH Elektronik-Modul | Ersatzteile für GSR 18V-150 C | 16072335LS
Hersteller: BOSCH
Artikelnummer: EB-3601JJ5051-16072335LS
Netto: 26,88 € zzgl. MwSt.
zzgl. 6,90 € Versand (brutto)
einmalig pro Bestellung

Lieferzeit: 5 Werktage

Stück
Pos.
48
BOSCH Elektronik-Modul | Ersatzteile für GSR 18V-150 C | 16072335LY
Hersteller: BOSCH
Artikelnummer: EB-3601JJ5051-16072335LY
Netto: 6,15 € zzgl. MwSt.
zzgl. 6,90 € Versand (brutto)
einmalig pro Bestellung

Lieferzeit: 5 Werktage

Stück
Pos.
91
BOSCH Akku-Paket | Ersatzteile für GSR 18V-150 C | 1607A350AR
Hersteller: BOSCH
Artikelnummer: EB-3601JJ5051-1607A350AR
Netto: 189,11 € zzgl. MwSt.
zzgl. 6,90 € Versand (brutto)
einmalig pro Bestellung

Lieferzeit: 5 Werktage

Stück
Pos.
101
BOSCH Torx-Linsenschraube | Ersatzteile für GSR 18V-150 C | 2609110353
Hersteller: BOSCH
Artikelnummer: EB-3601JJ5051-2609110353
Netto: 4,32 € zzgl. MwSt.
zzgl. 6,90 € Versand (brutto)
einmalig pro Bestellung

Lieferzeit: 5 Werktage

Stück
Pos.
107
BOSCH Senkschraube M6X23 LINKSGEWINDE | Ersatzteile für GSR 18V-150 C | 2603421229
Hersteller: BOSCH
Artikelnummer: EB-3601JJ5051-2603421229
Netto: 3,94 € zzgl. MwSt.
zzgl. 6,90 € Versand (brutto)
einmalig pro Bestellung

Lieferzeit: 5 Werktage

Stück
Pos.
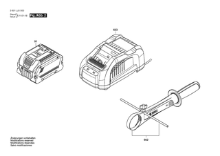
653
BOSCH Ladegerät | Ersatzteile für GSR 18V-150 C | 2607225931
Hersteller: BOSCH
Artikelnummer: EB-3601JJ5051-2607225931
Netto: 106,72 € zzgl. MwSt.
zzgl. 6,90 € Versand (brutto)
einmalig pro Bestellung

Lieferzeit: 5 Werktage

Stück
Pos.
658
BOSCH Bohrhalter | Ersatzteile für GSR 18V-150 C | 2609199748
Hersteller: BOSCH
Artikelnummer: EB-3601JJ5051-2609199748
Netto: 4,32 € zzgl. MwSt.
zzgl. 6,90 € Versand (brutto)
einmalig pro Bestellung

Lieferzeit: 5 Werktage

Stück
Pos.
662
BOSCH Zusatzhandgriff | Ersatzteile für GSR 18V-150 C | 160202507Y
Hersteller: BOSCH
Artikelnummer: EB-3601JJ5051-160202507Y
Netto: 21,16 € zzgl. MwSt.
zzgl. 6,90 € Versand (brutto)
einmalig pro Bestellung

Lieferzeit: 5 Werktage

Stück
Pos.
665
BOSCH Elektronikmodul | Ersatzteile für GSR 18V-150 C | 1600A013WF
Hersteller: BOSCH
Artikelnummer: EB-3601JJ5051-1600A013WF
Netto: 29,45 € zzgl. MwSt.
zzgl. 6,90 € Versand (brutto)
einmalig pro Bestellung

Lieferzeit: 5 Werktage

Stück
Pos.
802
BOSCH Bürstenloser DC-Motor | Ersatzteile für GSR 18V-150 C | 1600A024CL
Hersteller: BOSCH
Artikelnummer: EB-3601JJ5051-1600A024CL
Netto: 96,32 € zzgl. MwSt.
zzgl. 6,90 € Versand (brutto)
einmalig pro Bestellung

Lieferzeit: 5 Werktage

Stück
Pos.
804
BOSCH Kontakthalter | Ersatzteile für GSR 18V-150 C | 1600A023LU
Hersteller: BOSCH
Artikelnummer: EB-3601JJ5051-1600A023LU
Netto: 6,70 € zzgl. MwSt.
zzgl. 6,90 € Versand (brutto)
einmalig pro Bestellung

Lieferzeit: 5 Werktage

Stück
Pos.
808
BOSCH Typschild | Ersatzteile für GSR 18V-150 C | 160111A8PM
Hersteller: BOSCH
Artikelnummer: EB-3601JJ5051-160111A8PM
Netto: 4,53 € zzgl. MwSt.
zzgl. 6,90 € Versand (brutto)
einmalig pro Bestellung

Lieferzeit: 5 Werktage

Stück

Angaben zur Produktsicherheit

Hersteller:
Robert Bosch Power Tools GmbH
Postfach 30 02 20
70442 Stuttgart

E-Mail:
kontakt@bosch.de