BOSCH GSR18V-755C - 3601JG0110

Artikelnummer: EB-3601JG0110

Position:

Marke: BOSCH


Bitte Kompatibilität prüfen!

Bitte prüfen Sie unbedingt die 10-stellige Typennummer Ihrer Maschine / Ihres Gerätes. Das Ersatzteil ist nur kompatibel, wenn Sie die Typennummer Ihrer Maschine in der unten stehenden Produktbeschreibung finden.

Bitte prüfen Sie ebenfalls detailliert die Explosionszeichnung mit Ihrem Artikelwunsch und der jeweiligen Pos-Nummer.

Alle Elemente, welche vom schwarzen Strich der Pos-Nummer ausgehend berührt / erfasst werden, gehören zu dieser Pos-Nummer und somit zu diesem Artikel. Jede Pos-Nummer ist ein eigenständiger Artikel, welchen Sie in der Auflistung finden.

Sie erhalten stets die aktuellste, neueste Produktversion zu der gewählten Pos-Nummer seitens des Herstellers. Es kann daher je nach Gerätealter vorkommen, dass Sie ggf. weitere, zugehörige Elemente, welche an diese Pos-Nummer grenzen, ebenfalls mittauschen müssen.

Nähere Informationen finden Sie unter dem Link
Hinweise zu Ihrer BOSCH Ersatzteilsuche

Beschreibung

Die aufgelisteten BOSCH Ersatzteile sind mit folgendem Gerät und Modell kompatibel:

BOSCH Gerätename:GSR18V-755C
BOSCH Typennummer:3601JG0110
alternative Schreibweisen:3 601 JG0 110, 3601 JG0 110, 3.601.JG0.110, 3-601-JG0-110

Bitte prüfen Sie die Typennummer auf Ihrem Gerät um die Kompatibilität des BOSCH Ersatzteils zu gewährleisten.

Die passenden Ersatzteile des BOSCH GSR18V-755C (Akku-Bohrschrauber) mit der Typennummer 3601JG0110 finden Sie in der nachfolgenden Darstellung geordnet nach der Positionsnummern aus der Explosionszeichnung:

Pos.
1
BOSCH Gehäuse | Ersatzteile für GSR18V-755C | 1600A00M51
Hersteller: BOSCH
Artikelnummer: EB-3601JG0110-1600A00M51
Netto: 17,38 € zzgl. MwSt.
zzgl. 6,90 € Versand (brutto)
einmalig pro Bestellung

Lieferzeit: 65 Werktage

Stück
Pos.
4/3
BOSCH Leiterplatte Bestückt | Ersatzteile für GSR18V-755C | 1607503377
Hersteller: BOSCH
Artikelnummer: EB-3601JG0110-1607503377
Netto: 9,18 € zzgl. MwSt.
zzgl. 6,90 € Versand (brutto)
einmalig pro Bestellung

Lieferzeit: 5 Werktage

Stück
Pos.
656/1
BOSCH Geräteclip | Ersatzteile für GSR18V-755C | 2609111584
Hersteller: BOSCH
Artikelnummer: EB-3601JG0110-2609111584
Netto: 5,19 € zzgl. MwSt.
zzgl. 6,90 € Versand (brutto)
einmalig pro Bestellung

Lieferzeit: 5 Werktage

Stück
Pos.
656/2
BOSCH Schraube | Ersatzteile für GSR18V-755C | 2609110834
Hersteller: BOSCH
Artikelnummer: EB-3601JG0110-2609110834
Netto: 3,94 € zzgl. MwSt.
zzgl. 6,90 € Versand (brutto)
einmalig pro Bestellung

Lieferzeit: 5 Werktage

Stück
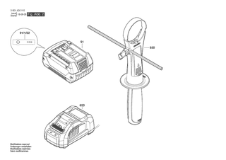
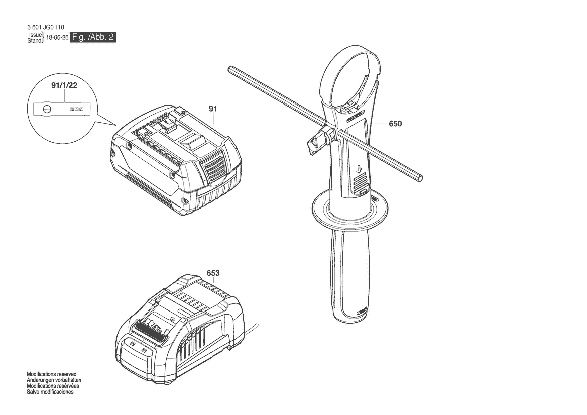
Pos.
91/1/22
BOSCH Klebeschild | Ersatzteile für GSR18V-755C | 2601115537
Hersteller: BOSCH
Artikelnummer: EB-3601JG0110-2601115537
nur Informationsartikel
Nie mehr lieferbar
keine Alternativen
Pos.
3
BOSCH O-Ring | Ersatzteile für GSR18V-755C | 2609170278
Hersteller: BOSCH
Artikelnummer: EB-3601JG0110-2609170278
Netto: 4,32 € zzgl. MwSt.
zzgl. 6,90 € Versand (brutto)
einmalig pro Bestellung

Lieferzeit: 5 Werktage

Stück
Pos.
4
BOSCH Elektronikmodul | Ersatzteile für GSR18V-755C | 16072335DC
Hersteller: BOSCH
Artikelnummer: EB-3601JG0110-16072335DC
Netto: 106,72 € zzgl. MwSt.
zzgl. 6,90 € Versand (brutto)
einmalig pro Bestellung

Lieferzeit: 5 Werktage

Stück
Pos.
5
BOSCH Verstellhebel | Ersatzteile für GSR18V-755C | 2609101551
Hersteller: BOSCH
Artikelnummer: EB-3601JG0110-2609101551
Netto: 3,63 € zzgl. MwSt.
zzgl. 6,90 € Versand (brutto)
einmalig pro Bestellung

Lieferzeit: 5 Werktage

Stück
Pos.
7
BOSCH Deckeleinheit | Ersatzteile für GSR18V-755C | 1600A00RU9
Hersteller: BOSCH
Artikelnummer: EB-3601JG0110-1600A032TA
Netto: 4,82 € zzgl. MwSt.
zzgl. 6,90 € Versand (brutto)
einmalig pro Bestellung

Lieferzeit: 5 Werktage

Stück
Pos.
9
BOSCH Firmenschild | Ersatzteile für GSR18V-755C | 2609138543
Hersteller: BOSCH
Artikelnummer: EB-3601JG0110-2609138543
Netto: 4,53 € zzgl. MwSt.
zzgl. 6,90 € Versand (brutto)
einmalig pro Bestellung

Lieferzeit: 5 Werktage

Stück
Pos.
16
BOSCH Leiterplatte Bestückt | Ersatzteile für GSR18V-755C | 1607503333
Hersteller: BOSCH
Artikelnummer: EB-3601JG0110-1607503333
Netto: 10,92 € zzgl. MwSt.
zzgl. 6,90 € Versand (brutto)
einmalig pro Bestellung

Lieferzeit: 5 Werktage

Stück
Pos.
17
BOSCH Abdeckblende | Ersatzteile für GSR18V-755C | 1600A00M53
Hersteller: BOSCH
Artikelnummer: EB-3601JG0110-1600A00M53
Netto: 3,63 € zzgl. MwSt.
zzgl. 6,90 € Versand (brutto)
einmalig pro Bestellung

Lieferzeit: 5 Werktage

Stück
Pos.
25
BOSCH Schnellspannbohrfutter | Ersatzteile für GSR18V-755C | 2609112024
Hersteller: BOSCH
Artikelnummer: EB-3601JG0110-1600A01YE8
Netto: 41,29 € zzgl. MwSt.
zzgl. 6,90 € Versand (brutto)
einmalig pro Bestellung

Lieferzeit: 63 Werktage

Stück
Pos.
45
BOSCH Getriebekasten | Ersatzteile für GSR18V-755C | 1600A003BB
Hersteller: BOSCH
Artikelnummer: EB-3601JG0110-1600A003BB
Netto: 47,09 € zzgl. MwSt.
zzgl. 6,90 € Versand (brutto)
einmalig pro Bestellung

Lieferzeit: 12 Werktage

Stück
Pos.
46
BOSCH Druckfeder | Ersatzteile für GSR18V-755C | 1609280477
Hersteller: BOSCH
Artikelnummer: EB-3601JG0110-1609280477
Netto: 3,94 € zzgl. MwSt.
zzgl. 6,90 € Versand (brutto)
einmalig pro Bestellung

Lieferzeit: 5 Werktage

Stück
Pos.
47
BOSCH Linse | Ersatzteile für GSR18V-755C | 2609101490
Hersteller: BOSCH
Artikelnummer: EB-3601JG0110-2609101490
Netto: 3,94 € zzgl. MwSt.
zzgl. 6,90 € Versand (brutto)
einmalig pro Bestellung

Lieferzeit: 5 Werktage

Stück
Pos.
91
BOSCH Akku-Paket USA BAT620 18V 4,0Ah | Ersatzteile für GSR18V-755C | 2607336819
Hersteller: BOSCH
Artikelnummer: EB-3601JG0110-2607336819
Netto: 150,24 € zzgl. MwSt.
zzgl. 6,90 € Versand (brutto)
einmalig pro Bestellung

Lieferzeit: 5 Werktage

Stück
Pos.
101
BOSCH Torx-Linsenschraube | Ersatzteile für GSR18V-755C | 2609110353
Hersteller: BOSCH
Artikelnummer: EB-3601JG0110-2609110353
Netto: 4,32 € zzgl. MwSt.
zzgl. 6,90 € Versand (brutto)
einmalig pro Bestellung

Lieferzeit: 5 Werktage

Stück
Pos.
107
BOSCH Senkschraube M6x23 | Ersatzteile für GSR18V-755C | 2603421229
Hersteller: BOSCH
Artikelnummer: EB-3601JG0110-2603421229
Netto: 3,94 € zzgl. MwSt.
zzgl. 6,90 € Versand (brutto)
einmalig pro Bestellung

Lieferzeit: 5 Werktage

Stück
Pos.
181
BOSCH Warnzettel | Ersatzteile für GSR18V-755C | 2609134293
Hersteller: BOSCH
Artikelnummer: EB-3601JG0110-2609134293
Netto: 4,53 € zzgl. MwSt.
zzgl. 6,90 € Versand (brutto)
einmalig pro Bestellung

Lieferzeit: 5 Werktage

Stück
Pos.
182
BOSCH Warnschild | Ersatzteile für GSR18V-755C | 2610045280
Hersteller: BOSCH
Artikelnummer: EB-3601JG0110-2610045280
Netto: 4,53 € zzgl. MwSt.
zzgl. 6,90 € Versand (brutto)
einmalig pro Bestellung

Lieferzeit: 5 Werktage

Stück
Pos.
650
BOSCH Zusatzhandgriff | Ersatzteile für GSR18V-755C | 160202507X
Hersteller: BOSCH
Artikelnummer: EB-3601JG0110-160202507X
Netto: 17,38 € zzgl. MwSt.
zzgl. 6,90 € Versand (brutto)
einmalig pro Bestellung

Lieferzeit: 5 Werktage

Stück
Pos.
653
BOSCH Ladegerät USA BC 1880 CV 13,3-18V/120V | Ersatzteile für GSR18V-755C | 2607225927
Hersteller: BOSCH
Artikelnummer: EB-3601JG0110-2607225927
nur Informationsartikel
Nie mehr lieferbar
keine Alternativen
Pos.
655
BOSCH Bohrhalter | Ersatzteile für GSR18V-755C | 2609199748
Hersteller: BOSCH
Artikelnummer: EB-3601JG0110-2609199748
Netto: 4,32 € zzgl. MwSt.
zzgl. 6,90 € Versand (brutto)
einmalig pro Bestellung

Lieferzeit: 5 Werktage

Stück
Pos.
803
BOSCH Et-Motorgruppe | Ersatzteile für GSR18V-755C | 1600A00XG0
Hersteller: BOSCH
Artikelnummer: EB-3601JG0110-1600A00XG0
Netto: 70,50 € zzgl. MwSt.
zzgl. 6,90 € Versand (brutto)
einmalig pro Bestellung

Lieferzeit: 47 Werktage

Stück
Pos.
804
BOSCH Kontakthalter 18V | Ersatzteile für GSR18V-755C | 1609280820
Hersteller: BOSCH
Artikelnummer: EB-3601JG0110-1609280820
Netto: 6,70 € zzgl. MwSt.
zzgl. 6,90 € Versand (brutto)
einmalig pro Bestellung

Lieferzeit: 5 Werktage

Stück
Pos.
808
BOSCH Typschild GSR 18V-755C | Ersatzteile für GSR18V-755C | 160111A6BM
Hersteller: BOSCH
Artikelnummer: EB-3601JG0110-160111A6BM
Netto: 4,53 € zzgl. MwSt.
zzgl. 6,90 € Versand (brutto)
einmalig pro Bestellung

Lieferzeit: 5 Werktage

Stück
Pos.
857
BOSCH Schaltschieber | Ersatzteile für GSR18V-755C | 2609101554
Hersteller: BOSCH
Artikelnummer: EB-3601JG0110-2609101554
Netto: 4,32 € zzgl. MwSt.
zzgl. 6,90 € Versand (brutto)
einmalig pro Bestellung

Lieferzeit: 5 Werktage

Stück
Pos.
858
BOSCH Schaltfeder | Ersatzteile für GSR18V-755C | 2609112036
Hersteller: BOSCH
Artikelnummer: EB-3601JG0110-2609112036
Netto: 3,63 € zzgl. MwSt.
zzgl. 6,90 € Versand (brutto)
einmalig pro Bestellung

Lieferzeit: 5 Werktage

Stück

Angaben zur Produktsicherheit

Hersteller:
Robert Bosch Power Tools GmbH
Postfach 30 02 20
70442 Stuttgart

E-Mail:
kontakt@bosch.de