BOSCH GSS 230 AVE - 3601B92831

Artikelnummer: EB-3601B92831

Position:

Marke: BOSCH


Bitte Kompatibilität prüfen!

Bitte prüfen Sie unbedingt die 10-stellige Typennummer Ihrer Maschine / Ihres Gerätes. Das Ersatzteil ist nur kompatibel, wenn Sie die Typennummer Ihrer Maschine in der unten stehenden Produktbeschreibung finden.

Bitte prüfen Sie ebenfalls detailliert die Explosionszeichnung mit Ihrem Artikelwunsch und der jeweiligen Pos-Nummer.

Alle Elemente, welche vom schwarzen Strich der Pos-Nummer ausgehend berührt / erfasst werden, gehören zu dieser Pos-Nummer und somit zu diesem Artikel. Jede Pos-Nummer ist ein eigenständiger Artikel, welchen Sie in der Auflistung finden.

Sie erhalten stets die aktuellste, neueste Produktversion zu der gewählten Pos-Nummer seitens des Herstellers. Es kann daher je nach Gerätealter vorkommen, dass Sie ggf. weitere, zugehörige Elemente, welche an diese Pos-Nummer grenzen, ebenfalls mittauschen müssen.

Nähere Informationen finden Sie unter dem Link
Hinweise zu Ihrer BOSCH Ersatzteilsuche

Beschreibung

Die aufgelisteten BOSCH Ersatzteile sind mit folgendem Gerät und Modell kompatibel:

BOSCH Gerätename:GSS 230 AVE
BOSCH Typennummer:3601B92831
alternative Schreibweisen:3 601 B92 831, 3601 B92 831, 3.601.B92.831, 3-601-B92-831

Bitte prüfen Sie die Typennummer auf Ihrem Gerät um die Kompatibilität des BOSCH Ersatzteils zu gewährleisten.

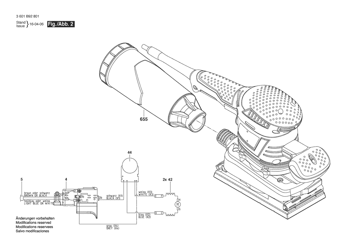
Die passenden Ersatzteile des BOSCH GSS 230 AVE (Schwingschleifer) mit der Typennummer 3601B92831 finden Sie in der nachfolgenden Darstellung geordnet nach der Positionsnummern aus der Explosionszeichnung:

Pos.
1
BOSCH Gehäuseschale BLAU | Ersatzteile für GSS 230 AVE | 2605105964
Hersteller: BOSCH
Artikelnummer: EB-3601B92831-2605105964
nur Informationsartikel
Nie mehr lieferbar
keine Alternativen
Pos.
803/13
BOSCH Rillenkugellager 7x19x6 | Ersatzteile für GSS 230 AVE | 2600905086
Hersteller: BOSCH
Artikelnummer: EB-3601B92831-2600905086
nur Informationsartikel
Nie mehr lieferbar
keine Alternativen
Pos.
803/3/6
BOSCH Lüfter | Ersatzteile für GSS 230 AVE | 2606610076
Hersteller: BOSCH
Artikelnummer: EB-3601B92831-2606610076
Netto: 5,19 € zzgl. MwSt.
zzgl. 6,90 € Versand (brutto)
einmalig pro Bestellung

Lieferzeit: 5 Werktage

Stück
Pos.
2
BOSCH Polschuh 230-240V | Ersatzteile für GSS 230 AVE | 2604220747
Hersteller: BOSCH
Artikelnummer: EB-3601B92831-2604220747
nur Informationsartikel
Nie mehr lieferbar
keine Alternativen
Pos.
4
BOSCH Schalter | Ersatzteile für GSS 230 AVE | 2607200688
Hersteller: BOSCH
Artikelnummer: EB-3601B92831-2607200688
nur Informationsartikel
Nie mehr lieferbar
keine Alternativen
Pos.
5
BOSCH Netzanschlussleitung CH 230V 4,15m 2 x 1,0mm H05 RN-F | Ersatzteile für GSS 230 AVE | 1604460401
Hersteller: BOSCH
Artikelnummer: EB-3601B92831-1604460401
Netto: 12,98 € zzgl. MwSt.
zzgl. 6,90 € Versand (brutto)
einmalig pro Bestellung

Lieferzeit: 5 Werktage

Stück
Pos.
6
BOSCH Tülle Ø6,4-Ø7,2x76 MM | Ersatzteile für GSS 230 AVE | 2600703017
Hersteller: BOSCH
Artikelnummer: EB-3601B92831-2600703017
Netto: 4,53 € zzgl. MwSt.
zzgl. 6,90 € Versand (brutto)
einmalig pro Bestellung

Lieferzeit: 5 Werktage

Stück
Pos.
9
BOSCH Firmenschild GSS 230 AVE | Ersatzteile für GSS 230 AVE | 2601112337
Hersteller: BOSCH
Artikelnummer: EB-3601B92831-2601112337
nur Informationsartikel
Nie mehr lieferbar
keine Alternativen
Pos.
14
BOSCH Rillenkugellager | Ersatzteile für GSS 230 AVE | 1619P00290
Hersteller: BOSCH
Artikelnummer: EB-3601B92831-1619P00290
Netto: 7,30 € zzgl. MwSt.
zzgl. 6,90 € Versand (brutto)
einmalig pro Bestellung

Lieferzeit: 5 Werktage

Stück
Pos.
16
BOSCH Bürstenhalter | Ersatzteile für GSS 230 AVE | 2604337003
Hersteller: BOSCH
Artikelnummer: EB-3601B92831-2604337003
Netto: 4,32 € zzgl. MwSt.
zzgl. 6,90 € Versand (brutto)
einmalig pro Bestellung

Lieferzeit: 5 Werktage

Stück
Pos.
19
BOSCH Torx-Linsenschraube 3x10 | Ersatzteile für GSS 230 AVE | 2603490017
Hersteller: BOSCH
Artikelnummer: EB-3601B92831-2603490017
Netto: 4,32 € zzgl. MwSt.
zzgl. 6,90 € Versand (brutto)
einmalig pro Bestellung

Lieferzeit: 5 Werktage

Stück
Pos.
20
BOSCH Hinweisschild | Ersatzteile für GSS 230 AVE | 2601111477
Hersteller: BOSCH
Artikelnummer: EB-3601B92831-2601111477
nur Informationsartikel
Nie mehr lieferbar
keine Alternativen
Pos.
22
BOSCH Absaugteil | Ersatzteile für GSS 230 AVE | 2601328094
Hersteller: BOSCH
Artikelnummer: EB-3601B92831-2601328094
nur Informationsartikel
Nie mehr lieferbar
keine Alternativen
Pos.
23
BOSCH Sicherungsring DIN 471 9x1MM | Ersatzteile für GSS 230 AVE | 2916640006
Hersteller: BOSCH
Artikelnummer: EB-3601B92831-2916640006
Netto: 3,94 € zzgl. MwSt.
zzgl. 6,90 € Versand (brutto)
einmalig pro Bestellung

Lieferzeit: 5 Werktage

Stück
Pos.
24
BOSCH Dichtscheibe | Ersatzteile für GSS 230 AVE | 2600590013
Hersteller: BOSCH
Artikelnummer: EB-3601B92831-2600590013
Netto: 4,32 € zzgl. MwSt.
zzgl. 6,90 € Versand (brutto)
einmalig pro Bestellung

Lieferzeit: 5 Werktage

Stück
Pos.
25
BOSCH V-Ring | Ersatzteile für GSS 230 AVE | 2600290030
Hersteller: BOSCH
Artikelnummer: EB-3601B92831-2600290030
nur Informationsartikel
Nie mehr lieferbar
keine Alternativen
Pos.
26
BOSCH Nadelhülse | Ersatzteile für GSS 230 AVE | 2600910012
Hersteller: BOSCH
Artikelnummer: EB-3601B92831-2600910012
Netto: 6,15 € zzgl. MwSt.
zzgl. 6,90 € Versand (brutto)
einmalig pro Bestellung

Lieferzeit: 5 Werktage

Stück
Pos.
27
BOSCH Innenring | Ersatzteile für GSS 230 AVE | 2600400035
Hersteller: BOSCH
Artikelnummer: EB-3601B92831-2600400035
nur Informationsartikel
Nie mehr lieferbar
keine Alternativen
Pos.
28
BOSCH Exzenter | Ersatzteile für GSS 230 AVE | 2602210045
Hersteller: BOSCH
Artikelnummer: EB-3601B92831-2602210045
nur Informationsartikel
Nie mehr lieferbar
keine Alternativen
Pos.
29
BOSCH Lüfter | Ersatzteile für GSS 230 AVE | 2606610085
Hersteller: BOSCH
Artikelnummer: EB-3601B92831-2606610085
Netto: 8,33 € zzgl. MwSt.
zzgl. 6,90 € Versand (brutto)
einmalig pro Bestellung

Lieferzeit: 5 Werktage

Stück
Pos.
30
BOSCH Gewindefurchschraube M4x8 | Ersatzteile für GSS 230 AVE | 2603410048
Hersteller: BOSCH
Artikelnummer: EB-3601B92831-2603410048
Netto: 3,94 € zzgl. MwSt.
zzgl. 6,90 € Versand (brutto)
einmalig pro Bestellung

Lieferzeit: 5 Werktage

Stück
Pos.
31
BOSCH Wellendichtring | Ersatzteile für GSS 230 AVE | 2600290031
Hersteller: BOSCH
Artikelnummer: EB-3601B92831-2600290031
Netto: 4,82 € zzgl. MwSt.
zzgl. 6,90 € Versand (brutto)
einmalig pro Bestellung

Lieferzeit: 5 Werktage

Stück
Pos.
32
BOSCH Dichtungsdeckel | Ersatzteile für GSS 230 AVE | 2600500019
Hersteller: BOSCH
Artikelnummer: EB-3601B92831-2600500019
Netto: 3,94 € zzgl. MwSt.
zzgl. 6,90 € Versand (brutto)
einmalig pro Bestellung

Lieferzeit: 5 Werktage

Stück
Pos.
34
BOSCH Schleifplatte | Ersatzteile für GSS 230 AVE | 2600009019
Hersteller: BOSCH
Artikelnummer: EB-3601B92831-2600009019
nur Informationsartikel
Nie mehr lieferbar
keine Alternativen
Pos.
35
BOSCH Sechskantmutter DIN 439-BM8-04 | Ersatzteile für GSS 230 AVE | 2915051107
Hersteller: BOSCH
Artikelnummer: EB-3601B92831-2915051107
Netto: 3,94 € zzgl. MwSt.
zzgl. 6,90 € Versand (brutto)
einmalig pro Bestellung

Lieferzeit: 5 Werktage

Stück
Pos.
37
BOSCH Blechschraube | Ersatzteile für GSS 230 AVE | 2603435086
Hersteller: BOSCH
Artikelnummer: EB-3601B92831-2603435086
Netto: 3,63 € zzgl. MwSt.
zzgl. 6,90 € Versand (brutto)
einmalig pro Bestellung

Lieferzeit: 5 Werktage

Stück
Pos.
40
BOSCH Gewindefurchschraube | Ersatzteile für GSS 230 AVE | 2603435042
Hersteller: BOSCH
Artikelnummer: EB-3601B92831-2603435042
Netto: 3,94 € zzgl. MwSt.
zzgl. 6,90 € Versand (brutto)
einmalig pro Bestellung

Lieferzeit: 5 Werktage

Stück
Pos.
42
BOSCH Entstörglied | Ersatzteile für GSS 230 AVE | 2604465115
Hersteller: BOSCH
Artikelnummer: EB-3601B92831-2604465115
nur Informationsartikel
Nie mehr lieferbar
keine Alternativen
Pos.
43
BOSCH Dämpfungselement | Ersatzteile für GSS 230 AVE | 2603203041
Hersteller: BOSCH
Artikelnummer: EB-3601B92831-2603203041
nur Informationsartikel
Nie mehr lieferbar
keine Alternativen
Pos.
44
BOSCH Drehzahlregler 230-240V | Ersatzteile für GSS 230 AVE | 1607233556
Hersteller: BOSCH
Artikelnummer: EB-3601B92831-1607233556
nur Informationsartikel
Nie mehr lieferbar
keine Alternativen
Pos.
45
BOSCH Vierkantmutter DIN 562-M6-04 | Ersatzteile für GSS 230 AVE | 2915121006
Hersteller: BOSCH
Artikelnummer: EB-3601B92831-2915121006
Netto: 4,53 € zzgl. MwSt.
zzgl. 6,90 € Versand (brutto)
einmalig pro Bestellung

Lieferzeit: 5 Werktage

Stück
Pos.
46
BOSCH Torx-Linsenschraube 4x20 | Ersatzteile für GSS 230 AVE | 2603490023
Hersteller: BOSCH
Artikelnummer: EB-3601B92831-2603490023
Netto: 3,63 € zzgl. MwSt.
zzgl. 6,90 € Versand (brutto)
einmalig pro Bestellung

Lieferzeit: 5 Werktage

Stück
Pos.
47
BOSCH Gehäusedeckel | Ersatzteile für GSS 230 AVE | 2605500208
Hersteller: BOSCH
Artikelnummer: EB-3601B92831-2605500208
nur Informationsartikel
Nie mehr lieferbar
keine Alternativen
Pos.
48
BOSCH Schraube 4x16 | Ersatzteile für GSS 230 AVE | 2603490022
Hersteller: BOSCH
Artikelnummer: EB-3601B92831-2603490022
Netto: 3,63 € zzgl. MwSt.
zzgl. 6,90 € Versand (brutto)
einmalig pro Bestellung

Lieferzeit: 5 Werktage

Stück
Pos.
49
BOSCH Schieber | Ersatzteile für GSS 230 AVE | 2601035002
Hersteller: BOSCH
Artikelnummer: EB-3601B92831-2601035002
Netto: 4,32 € zzgl. MwSt.
zzgl. 6,90 € Versand (brutto)
einmalig pro Bestellung

Lieferzeit: 5 Werktage

Stück
Pos.
50
BOSCH Absaugstutzen | Ersatzteile für GSS 230 AVE | 2601328054
Hersteller: BOSCH
Artikelnummer: EB-3601B92831-2601328054
Netto: 5,19 € zzgl. MwSt.
zzgl. 6,90 € Versand (brutto)
einmalig pro Bestellung

Lieferzeit: 5 Werktage

Stück
Pos.
51
BOSCH Filzstreifen | Ersatzteile für GSS 230 AVE | 2601005017
Hersteller: BOSCH
Artikelnummer: EB-3601B92831-2601005017
Netto: 3,94 € zzgl. MwSt.
zzgl. 6,90 € Versand (brutto)
einmalig pro Bestellung

Lieferzeit: 5 Werktage

Stück
Pos.
54
BOSCH Spannbügel | Ersatzteile für GSS 230 AVE | 2609200378
Hersteller: BOSCH
Artikelnummer: EB-3601B92831-2609200378
nur Informationsartikel
Nie mehr lieferbar
keine Alternativen
Pos.
56
BOSCH Hebel | Ersatzteile für GSS 230 AVE | 2601901020
Hersteller: BOSCH
Artikelnummer: EB-3601B92831-2601901020
nur Informationsartikel
Nie mehr lieferbar
keine Alternativen
Pos.
57
BOSCH Gewindefurchschraube | Ersatzteile für GSS 230 AVE | 2603410051
Hersteller: BOSCH
Artikelnummer: EB-3601B92831-2603410051
nur Informationsartikel
Nie mehr lieferbar
keine Alternativen
Pos.
58
BOSCH Federscheibe | Ersatzteile für GSS 230 AVE | 2600100713
Hersteller: BOSCH
Artikelnummer: EB-3601B92831-2600100713
nur Informationsartikel
Nie mehr lieferbar
keine Alternativen
Pos.
59
BOSCH Führungsbüchse | Ersatzteile für GSS 230 AVE | 2600499078
Hersteller: BOSCH
Artikelnummer: EB-3601B92831-2600499078
nur Informationsartikel
Nie mehr lieferbar
keine Alternativen
Pos.
61
BOSCH Anpressleiste | Ersatzteile für GSS 230 AVE | 2601014020
Hersteller: BOSCH
Artikelnummer: EB-3601B92831-2601014020
Netto: 5,67 € zzgl. MwSt.
zzgl. 6,90 € Versand (brutto)
einmalig pro Bestellung

Lieferzeit: 5 Werktage

Stück
Pos.
62
BOSCH Schenkelfeder | Ersatzteile für GSS 230 AVE | 2604651029
Hersteller: BOSCH
Artikelnummer: EB-3601B92831-2604651029
Netto: 4,80 € zzgl. MwSt.
zzgl. 6,90 € Versand (brutto)
einmalig pro Bestellung

Lieferzeit: 5 Werktage

Stück
Pos.
655
BOSCH Staubkasten | Ersatzteile für GSS 230 AVE | 2605411228
Hersteller: BOSCH
Artikelnummer: EB-3601B92831-2605411228
nur Informationsartikel
Nie mehr lieferbar
keine Alternativen
Pos.
656
BOSCH Zusatzhandgriff SCHWARZ | Ersatzteile für GSS 230 AVE | 2602026175
Hersteller: BOSCH
Artikelnummer: EB-3601B92831-2602026175
nur Informationsartikel
Nie mehr lieferbar
keine Alternativen
Pos.
680
BOSCH Innensechskantschlüssel 5 MM | Ersatzteile für GSS 230 AVE | 2610364015
Hersteller: BOSCH
Artikelnummer: EB-3601B92831-2610364015
Netto: 5,19 € zzgl. MwSt.
zzgl. 6,90 € Versand (brutto)
einmalig pro Bestellung

Lieferzeit: 5 Werktage

Stück
Pos.
803
BOSCH Anker 230-240V | Ersatzteile für GSS 230 AVE | 2604011951
Hersteller: BOSCH
Artikelnummer: EB-3601B92831-2604011951
nur Informationsartikel
Nie mehr lieferbar
keine Alternativen
Pos.
805
BOSCH Netzanschlussleitung EU 230V 4,15m 2 x 1,0mm H05 RN-F | Ersatzteile für GSS 230 AVE | 1607000386
Hersteller: BOSCH
Artikelnummer: EB-3601B92831-1607000386
Netto: 17,38 € zzgl. MwSt.
zzgl. 6,90 € Versand (brutto)
einmalig pro Bestellung

Lieferzeit: 5 Werktage

Stück
Pos.
808
BOSCH Typschild | Ersatzteile für GSS 230 AVE | 160111A216
Hersteller: BOSCH
Artikelnummer: EB-3601B92831-160111A33X
nur Informationsartikel
Nie mehr lieferbar
keine Alternativen
Pos.
810
BOSCH Kohlebürste | Ersatzteile für GSS 230 AVE | 1607014117
Hersteller: BOSCH
Artikelnummer: EB-3601B92831-1607014117
nur Informationsartikel
Nie mehr lieferbar
keine Alternativen
Pos.
821
BOSCH Absaughaube | Ersatzteile für GSS 230 AVE | 2605510903
Hersteller: BOSCH
Artikelnummer: EB-3601B92831-2605510903
nur Informationsartikel
Nie mehr lieferbar
keine Alternativen
Pos.
833
BOSCH Schwingfeder 4 STUECK | Ersatzteile für GSS 230 AVE | 2608005902
Hersteller: BOSCH
Artikelnummer: EB-3601B92831-2608005902
Netto: 14,36 € zzgl. MwSt.
zzgl. 6,90 € Versand (brutto)
einmalig pro Bestellung

Lieferzeit: 5 Werktage

Stück
Pos.
836
BOSCH Motorgehäuse BLAU | Ersatzteile für GSS 230 AVE | 2605105966
Hersteller: BOSCH
Artikelnummer: EB-3601B92831-2605105966
nur Informationsartikel
Nie mehr lieferbar
keine Alternativen
Pos.
852
BOSCH Schwingplatte | Ersatzteile für GSS 230 AVE | 2601099901
Hersteller: BOSCH
Artikelnummer: EB-3601B92831-2601099901
nur Informationsartikel
Nie mehr lieferbar
keine Alternativen

Angaben zur Produktsicherheit

Hersteller:
Robert Bosch Power Tools GmbH
Postfach 30 02 20
70442 Stuttgart

E-Mail:
kontakt@bosch.de