BOSCH O-Ring 22,0X3,0 MM | Ersatzteile für 11265EVS | 1610210144

Artikelnummer: EB-3611B64113-1610210144

Position: 168

Marke: BOSCH


Bitte Kompatibilität prüfen!

Bitte prüfen Sie unbedingt die 10-stellige Typennummer Ihrer Maschine / Ihres Gerätes. Das Ersatzteil ist nur kompatibel, wenn Sie die Typennummer Ihrer Maschine in der unten stehenden Produktbeschreibung finden.

Bitte prüfen Sie ebenfalls detailliert die Explosionszeichnung mit Ihrem Artikelwunsch und der jeweiligen Pos-Nummer.

Alle Elemente, welche vom schwarzen Strich der Pos-Nummer ausgehend berührt / erfasst werden, gehören zu dieser Pos-Nummer und somit zu diesem Artikel. Jede Pos-Nummer ist ein eigenständiger Artikel, welchen Sie in der Auflistung finden.

Sie erhalten stets die aktuellste, neueste Produktversion zu der gewählten Pos-Nummer seitens des Herstellers. Es kann daher je nach Gerätealter vorkommen, dass Sie ggf. weitere, zugehörige Elemente, welche an diese Pos-Nummer grenzen, ebenfalls mittauschen müssen.

Nähere Informationen finden Sie unter dem Link
Hinweise zu Ihrer BOSCH Ersatzteilsuche

Preisübersicht

Einzelpreis: 6,15 €* (Brutto: 7,32 €)
Gesamtpreis: 6,15 €* 
Position:

Lieferzeit: 5 Werktage


Beschreibung

  • O-Ring 22,0X3,0 MM
  • Original Bosch Zubehör / BOSCH Ersatzteil (1610210144)
  • im Gerät verbaut: 1
Dieses BOSCH Ersatzteil ist mit folgendem Gerät und Modell kompatibel:
  • BOSCH Gerätename: 11265EVS
  • BOSCH Explosionszeichnung: Position 168
  • BOSCH Typennummer: 3611B64113
  • BOSCH Typennummer alternative Schreibweisen: 3 611 B64 113, 3611 B64 113, 3.611.B64.113, 3-611-B64-113
    Bitte prüfen Sie diese Typennummer auf Ihrem Gerät um die Kompatibilität des BOSCH Ersatzteils zu gewährleisten.
Weitere BOSCH Ersatzteile des Gerätes 11265EVS (Bohrhammer) mit der Typennummer 3611B64113 finden Sie in der nachfolgenden Darstellung und im Dropdown zu Ihrer Auswahl:

Pos.
1
BOSCH Motorgehäuse BLAU | Ersatzteile für 11265EVS | 1615102161
Hersteller: BOSCH
Artikelnummer: EB-3611B64113-1615102161
Netto: 24,13 € zzgl. MwSt.
zzgl. 6,90 € Versand (brutto)
einmalig pro Bestellung

Lieferzeit: 5 Werktage

Pos.
2
BOSCH Polschuh 115V | Ersatzteile für 11265EVS | 1614220200
Hersteller: BOSCH
Artikelnummer: EB-3611B64113-1614220200
Netto: 29,45 € zzgl. MwSt.
zzgl. 6,90 € Versand (brutto)
einmalig pro Bestellung

Lieferzeit: 5 Werktage

Pos.
4
BOSCH Schalter | Ersatzteile für 11265EVS | 1617200120
Hersteller: BOSCH
Artikelnummer: EB-3611B64113-1617200120
Netto: 15,75 € zzgl. MwSt.
zzgl. 6,90 € Versand (brutto)
einmalig pro Bestellung

Lieferzeit: 18 Werktage

Pos.
5
BOSCH Netzanschlussleitung USA/CDN 3,1M 3 X 2,08MM SJ0W | Ersatzteile für 11265EVS | 1614461035
Hersteller: BOSCH
Artikelnummer: EB-3611B64113-1614461035
Netto: 32,74 € zzgl. MwSt.
zzgl. 6,90 € Versand (brutto)
einmalig pro Bestellung

Lieferzeit: 5 Werktage

Pos.
6
BOSCH Tülle Ø8,7-Ø9,6X66 MM | Ersatzteile für 11265EVS | 1600703035
Hersteller: BOSCH
Artikelnummer: EB-3611B64113-1600703035
Netto: 4,82 € zzgl. MwSt.
zzgl. 6,90 € Versand (brutto)
einmalig pro Bestellung

Lieferzeit: 5 Werktage

Pos.
7
BOSCH Befestigungsschelle | Ersatzteile für 11265EVS | 1601302019
Hersteller: BOSCH
Artikelnummer: EB-3611B64113-1601302019
Netto: 3,94 € zzgl. MwSt.
zzgl. 6,90 € Versand (brutto)
einmalig pro Bestellung

Lieferzeit: 5 Werktage

Pos.
9
BOSCH Firmenschild | Ersatzteile für 11265EVS | 1611110D74
Hersteller: BOSCH
Artikelnummer: EB-3611B64113-1611110D74
Netto: 4,53 € zzgl. MwSt.
zzgl. 6,90 € Versand (brutto)
einmalig pro Bestellung

Lieferzeit: 5 Werktage

Pos.
13
BOSCH Rillenkugellager 8X24X8 | Ersatzteile für 11265EVS | 1610900026
Hersteller: BOSCH
Artikelnummer: EB-3611B64113-1610900026
Netto: 10,92 € zzgl. MwSt.
zzgl. 6,90 € Versand (brutto)
einmalig pro Bestellung

Lieferzeit: 5 Werktage

Pos.
14
BOSCH Rillenkugellager 12X32X10 | Ersatzteile für 11265EVS | 1610905041
Hersteller: BOSCH
Artikelnummer: EB-3611B64113-1610905041
Netto: 9,95 € zzgl. MwSt.
zzgl. 6,90 € Versand (brutto)
einmalig pro Bestellung

Lieferzeit: 5 Werktage

Pos.
15
BOSCH Lüfter | Ersatzteile für 11265EVS | 1616610090
Hersteller: BOSCH
Artikelnummer: EB-3611B64113-1616610090
Netto: 10,92 € zzgl. MwSt.
zzgl. 6,90 € Versand (brutto)
einmalig pro Bestellung

Lieferzeit: 5 Werktage

Pos.
21
BOSCH Schutzkappe SCHWARZ | Ersatzteile für 11265EVS | 1610508044
Hersteller: BOSCH
Artikelnummer: EB-3611B64113-1610508044
Netto: 6,15 € zzgl. MwSt.
zzgl. 6,90 € Versand (brutto)
einmalig pro Bestellung

Lieferzeit: 5 Werktage

Pos.
22
BOSCH Schutzhülse SCHWARZ | Ersatzteile für 11265EVS | 1610591033
Hersteller: BOSCH
Artikelnummer: EB-3611B64113-1610591033
Netto: 9,18 € zzgl. MwSt.
zzgl. 6,90 € Versand (brutto)
einmalig pro Bestellung

Lieferzeit: 5 Werktage

Pos.
24
BOSCH Sperrscheibe | Ersatzteile für 11265EVS | 1610500020
Hersteller: BOSCH
Artikelnummer: EB-3611B64113-1610500020
Netto: 7,30 € zzgl. MwSt.
zzgl. 6,90 € Versand (brutto)
einmalig pro Bestellung

Lieferzeit: 5 Werktage

Pos.
25
BOSCH Sperrbolzen | Ersatzteile für 11265EVS | 1613100029
Hersteller: BOSCH
Artikelnummer: EB-3611B64113-1613100029
Netto: 5,19 € zzgl. MwSt.
zzgl. 6,90 € Versand (brutto)
einmalig pro Bestellung

Lieferzeit: 5 Werktage

Pos.
27
BOSCH Luftleitring | Ersatzteile für 11265EVS | 1610591028
Hersteller: BOSCH
Artikelnummer: EB-3611B64113-1610591028
Netto: 4,53 € zzgl. MwSt.
zzgl. 6,90 € Versand (brutto)
einmalig pro Bestellung

Lieferzeit: 5 Werktage

Pos.
28
BOSCH Druckfeder | Ersatzteile für 11265EVS | 1614621000
Hersteller: BOSCH
Artikelnummer: EB-3611B64113-1614621000
Netto: 4,82 € zzgl. MwSt.
zzgl. 6,90 € Versand (brutto)
einmalig pro Bestellung

Lieferzeit: 5 Werktage

Pos.
34
BOSCH Flansch | Ersatzteile für 11265EVS | 1610516013
Hersteller: BOSCH
Artikelnummer: EB-3611B64113-1610516013
Netto: 3,94 € zzgl. MwSt.
zzgl. 6,90 € Versand (brutto)
einmalig pro Bestellung

Lieferzeit: 5 Werktage

Pos.
35
BOSCH Hammerrohr | Ersatzteile für 11265EVS | 1615806231
Hersteller: BOSCH
Artikelnummer: EB-3611B64113-1615806231
Netto: 135,20 € zzgl. MwSt.
zzgl. 6,90 € Versand (brutto)
einmalig pro Bestellung

Lieferzeit: 5 Werktage

Pos.
37
BOSCH Lagerbock | Ersatzteile für 11265EVS | 1615500393
Hersteller: BOSCH
Artikelnummer: EB-3611B64113-1615500393
Netto: 8,33 € zzgl. MwSt.
zzgl. 6,90 € Versand (brutto)
einmalig pro Bestellung

Lieferzeit: 5 Werktage

Pos.
38
BOSCH Abdeckhaube BLAU | Ersatzteile für 11265EVS | 1615190159
Hersteller: BOSCH
Artikelnummer: EB-3611B64113-1615190159
Netto: 14,36 € zzgl. MwSt.
zzgl. 6,90 € Versand (brutto)
einmalig pro Bestellung

Lieferzeit: 5 Werktage

Pos.
42
BOSCH Bürstenhalter | Ersatzteile für 11265EVS | 1614336085
Hersteller: BOSCH
Artikelnummer: EB-3611B64113-1614336085
Netto: 32,74 € zzgl. MwSt.
zzgl. 6,90 € Versand (brutto)
einmalig pro Bestellung

Lieferzeit: 5 Werktage

Pos.
43
BOSCH Lüfterdeckel SCHWARZ | Ersatzteile für 11265EVS | 1615500410
Hersteller: BOSCH
Artikelnummer: EB-3611B64113-1615500410
Netto: 11,92 € zzgl. MwSt.
zzgl. 6,90 € Versand (brutto)
einmalig pro Bestellung

Lieferzeit: 5 Werktage

Pos.
44
BOSCH Druckfeder | Ersatzteile für 11265EVS | 1614617004
Hersteller: BOSCH
Artikelnummer: EB-3611B64113-1614617004
Netto: 4,82 € zzgl. MwSt.
zzgl. 6,90 € Versand (brutto)
einmalig pro Bestellung

Lieferzeit: 5 Werktage

Pos.
45
BOSCH Steuerhülse | Ersatzteile für 11265EVS | 1610499070
Hersteller: BOSCH
Artikelnummer: EB-3611B64113-1610499070
Netto: 15,75 € zzgl. MwSt.
zzgl. 6,90 € Versand (brutto)
einmalig pro Bestellung

Lieferzeit: 5 Werktage

Pos.
47
BOSCH Zahnhülse | Ersatzteile für 11265EVS | 1610300064
Hersteller: BOSCH
Artikelnummer: EB-3611B64113-1610300064
Netto: 7,30 € zzgl. MwSt.
zzgl. 6,90 € Versand (brutto)
einmalig pro Bestellung

Lieferzeit: 5 Werktage

Pos.
48
BOSCH Schaltring | Ersatzteile für 11265EVS | 1616334012
Hersteller: BOSCH
Artikelnummer: EB-3611B64113-1616334012
Netto: 6,15 € zzgl. MwSt.
zzgl. 6,90 € Versand (brutto)
einmalig pro Bestellung

Lieferzeit: 5 Werktage

Pos.
53
BOSCH Lagerscheibe | Ersatzteile für 11265EVS | 1610290068
Hersteller: BOSCH
Artikelnummer: EB-3611B64113-1610290068
Netto: 5,19 € zzgl. MwSt.
zzgl. 6,90 € Versand (brutto)
einmalig pro Bestellung

Lieferzeit: 5 Werktage

Pos.
57
BOSCH Schläger | Ersatzteile für 11265EVS | 1618710091
Hersteller: BOSCH
Artikelnummer: EB-3611B64113-1618710091
Netto: 24,13 € zzgl. MwSt.
zzgl. 6,90 € Versand (brutto)
einmalig pro Bestellung

Lieferzeit: 5 Werktage

Pos.
72
BOSCH Exzenterzahnrad | Ersatzteile für 11265EVS | 1600A014S9
Hersteller: BOSCH
Artikelnummer: EB-3611B64113-1600A014S9
Netto: 19,18 € zzgl. MwSt.
zzgl. 6,90 € Versand (brutto)
einmalig pro Bestellung

Lieferzeit: 5 Werktage

Pos.
74
BOSCH Führungsplatte | Ersatzteile für 11265EVS | 1611921001
Hersteller: BOSCH
Artikelnummer: EB-3611B64113-1611921001
Netto: 4,53 € zzgl. MwSt.
zzgl. 6,90 € Versand (brutto)
einmalig pro Bestellung

Lieferzeit: 5 Werktage

Pos.
75
BOSCH Handgriff BLAU | Ersatzteile für 11265EVS | 1615132118
Hersteller: BOSCH
Artikelnummer: EB-3611B64113-1615132118
Netto: 42,86 € zzgl. MwSt.
zzgl. 6,90 € Versand (brutto)
einmalig pro Bestellung

Lieferzeit: 5 Werktage

Pos.
79
BOSCH Torx-Linsenschraube M5X12-TORX,T25 SILBER | Ersatzteile für 11265EVS | 1613435015
Hersteller: BOSCH
Artikelnummer: EB-3611B64113-1613435015
Netto: 3,94 € zzgl. MwSt.
zzgl. 6,90 € Versand (brutto)
einmalig pro Bestellung

Lieferzeit: 5 Werktage

Pos.
80
BOSCH Drehzahlregler | Ersatzteile für 11265EVS | 1617233048
Hersteller: BOSCH
Artikelnummer: EB-3611B64113-1617233048
Netto: 70,50 € zzgl. MwSt.
zzgl. 6,90 € Versand (brutto)
einmalig pro Bestellung

Lieferzeit: 5 Werktage

Pos.
81
BOSCH Griffschale SCHWARZ | Ersatzteile für 11265EVS | 1615132088
Hersteller: BOSCH
Artikelnummer: EB-3611B64113-1615132088
Netto: 19,18 € zzgl. MwSt.
zzgl. 6,90 € Versand (brutto)
einmalig pro Bestellung

Lieferzeit: 5 Werktage

Pos.
84
BOSCH Zusatzhandgriff M8 SCHWARZ | Ersatzteile für 11265EVS | 1612025060
Hersteller: BOSCH
Artikelnummer: EB-3611B64113-1612025060
Netto: 7,76 € zzgl. MwSt.
zzgl. 6,90 € Versand (brutto)
einmalig pro Bestellung

Lieferzeit: 5 Werktage

Pos.
85
BOSCH Klemmhalter | Ersatzteile für 11265EVS | 1618040074
Hersteller: BOSCH
Artikelnummer: EB-3611B64113-1618040074
Netto: 6,21 € zzgl. MwSt.
zzgl. 6,90 € Versand (brutto)
einmalig pro Bestellung

Lieferzeit: 5 Werktage

Pos.
86
BOSCH Hammerschraube M8X40 MM | Ersatzteile für 11265EVS | 1613490002
Hersteller: BOSCH
Artikelnummer: EB-3611B64113-1613490002
Netto: 5,67 € zzgl. MwSt.
zzgl. 6,90 € Versand (brutto)
einmalig pro Bestellung

Lieferzeit: 5 Werktage

Pos.
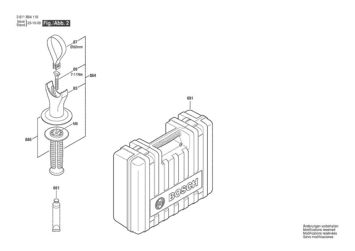
87
BOSCH Spannband Ø62 MM | Ersatzteile für 11265EVS | 1611316019
Hersteller: BOSCH
Artikelnummer: EB-3611B64113-1611316019
Netto: 5,67 € zzgl. MwSt.
zzgl. 6,90 € Versand (brutto)
einmalig pro Bestellung

Lieferzeit: 5 Werktage

Pos.
94
BOSCH Anlaufscheibe | Ersatzteile für 11265EVS | 1610102056
Hersteller: BOSCH
Artikelnummer: EB-3611B64113-1610102056
Netto: 4,82 € zzgl. MwSt.
zzgl. 6,90 € Versand (brutto)
einmalig pro Bestellung

Lieferzeit: 5 Werktage

Pos.
95
BOSCH O-Ring 32,0X1,5 MM | Ersatzteile für 11265EVS | 1610210173
Hersteller: BOSCH
Artikelnummer: EB-3611B64113-1610210173
Netto: 4,32 € zzgl. MwSt.
zzgl. 6,90 € Versand (brutto)
einmalig pro Bestellung

Lieferzeit: 5 Werktage

Pos.
97
BOSCH Sicherungsscheibe | Ersatzteile für 11265EVS | 1610031005
Hersteller: BOSCH
Artikelnummer: EB-3611B64113-1610031005
Netto: 5,19 € zzgl. MwSt.
zzgl. 6,90 € Versand (brutto)
einmalig pro Bestellung

Lieferzeit: 5 Werktage

Pos.
99
BOSCH Lagerscheibe | Ersatzteile für 11265EVS | 1610102059
Hersteller: BOSCH
Artikelnummer: EB-3611B64113-1610102059
Netto: 4,53 € zzgl. MwSt.
zzgl. 6,90 € Versand (brutto)
einmalig pro Bestellung

Lieferzeit: 5 Werktage

Pos.
102
BOSCH Ausgleichscheibe 0,2 MM | Ersatzteile für 11265EVS | 1610102058
Hersteller: BOSCH
Artikelnummer: EB-3611B64113-1610102058
Netto: 3,94 € zzgl. MwSt.
zzgl. 6,90 € Versand (brutto)
einmalig pro Bestellung

Lieferzeit: 5 Werktage

Pos.
102
BOSCH Ausgleichscheibe 0,3 MM | Ersatzteile für 11265EVS | 1610102057
Hersteller: BOSCH
Artikelnummer: EB-3611B64113-1610102057
Netto: 3,94 € zzgl. MwSt.
zzgl. 6,90 € Versand (brutto)
einmalig pro Bestellung

Lieferzeit: 5 Werktage

Pos.
104
BOSCH O-Ring 52,0X2,0 MM | Ersatzteile für 11265EVS | 1610210160
Hersteller: BOSCH
Artikelnummer: EB-3611B64113-1610210160
Netto: 5,19 € zzgl. MwSt.
zzgl. 6,90 € Versand (brutto)
einmalig pro Bestellung

Lieferzeit: 5 Werktage

Pos.
106
BOSCH Haltering | Ersatzteile für 11265EVS | 1610499073
Hersteller: BOSCH
Artikelnummer: EB-3611B64113-1610499073
Netto: 7,30 € zzgl. MwSt.
zzgl. 6,90 € Versand (brutto)
einmalig pro Bestellung

Lieferzeit: 5 Werktage

Pos.
111
BOSCH Lagerbuchse | Ersatzteile für 11265EVS | 1610290064
Hersteller: BOSCH
Artikelnummer: EB-3611B64113-1610290064
Netto: 3,94 € zzgl. MwSt.
zzgl. 6,90 € Versand (brutto)
einmalig pro Bestellung

Lieferzeit: 5 Werktage

Pos.
112
BOSCH Sechskantmutter DIN 936-M8X1-8 | Ersatzteile für 11265EVS | 1613300008
Hersteller: BOSCH
Artikelnummer: EB-3611B64113-1613300008
Netto: 4,53 € zzgl. MwSt.
zzgl. 6,90 € Versand (brutto)
einmalig pro Bestellung

Lieferzeit: 5 Werktage

Pos.
113
BOSCH Blechschraube ST-4,8X57,5-TORX,T20 | Ersatzteile für 11265EVS | 1613435009
Hersteller: BOSCH
Artikelnummer: EB-3611B64113-1613435009
Netto: 3,94 € zzgl. MwSt.
zzgl. 6,90 € Versand (brutto)
einmalig pro Bestellung

Lieferzeit: 5 Werktage

Pos.
117
BOSCH Nadelkranz | Ersatzteile für 11265EVS | 1610913029
Hersteller: BOSCH
Artikelnummer: EB-3611B64113-1610913029
Netto: 5,67 € zzgl. MwSt.
zzgl. 6,90 € Versand (brutto)
einmalig pro Bestellung

Lieferzeit: 5 Werktage

Pos.
120
BOSCH Anschlaghülse | Ersatzteile für 11265EVS | 1610590019
Hersteller: BOSCH
Artikelnummer: EB-3611B64113-1610590019
Netto: 15,75 € zzgl. MwSt.
zzgl. 6,90 € Versand (brutto)
einmalig pro Bestellung

Lieferzeit: 5 Werktage

Pos.
126
BOSCH Schraube 4X16 | Ersatzteile für 11265EVS | 2603490022
Hersteller: BOSCH
Artikelnummer: EB-3611B64113-2603490022
Netto: 3,63 € zzgl. MwSt.
zzgl. 6,90 € Versand (brutto)
einmalig pro Bestellung

Lieferzeit: 5 Werktage

Pos.
131
BOSCH Firmenschild | Ersatzteile für 11265EVS | 1611110C71
Hersteller: BOSCH
Artikelnummer: EB-3611B64113-1611110C71
Netto: 5,19 € zzgl. MwSt.
zzgl. 6,90 € Versand (brutto)
einmalig pro Bestellung

Lieferzeit: 5 Werktage

Pos.
134
BOSCH Flachkopfschraube DIN 85 AM 4X6-MS | Ersatzteile für 11265EVS | 2910110116
Hersteller: BOSCH
Artikelnummer: EB-3611B64113-2910110116
Netto: 3,63 € zzgl. MwSt.
zzgl. 6,90 € Versand (brutto)
einmalig pro Bestellung

Lieferzeit: 5 Werktage

Pos.
135
BOSCH Verbindungsleitung | Ersatzteile für 11265EVS | 1614431031
Hersteller: BOSCH
Artikelnummer: EB-3611B64113-1614431031
Netto: 6,70 € zzgl. MwSt.
zzgl. 6,90 € Versand (brutto)
einmalig pro Bestellung

Lieferzeit: 5 Werktage

Pos.
137
BOSCH Federring | Ersatzteile für 11265EVS | 1610151007
Hersteller: BOSCH
Artikelnummer: EB-3611B64113-1610151007
Netto: 3,63 € zzgl. MwSt.
zzgl. 6,90 € Versand (brutto)
einmalig pro Bestellung

Lieferzeit: 5 Werktage

Pos.
138
BOSCH Dichtrahmen | Ersatzteile für 11265EVS | 1611015053
Hersteller: BOSCH
Artikelnummer: EB-3611B64113-1611015053
Netto: 10,92 € zzgl. MwSt.
zzgl. 6,90 € Versand (brutto)
einmalig pro Bestellung

Lieferzeit: 5 Werktage

Pos.
141
BOSCH Radial-Wellendichtring | Ersatzteile für 11265EVS | 1610290066
Hersteller: BOSCH
Artikelnummer: EB-3611B64113-1610290066
Netto: 9,18 € zzgl. MwSt.
zzgl. 6,90 € Versand (brutto)
einmalig pro Bestellung

Lieferzeit: 5 Werktage

Pos.
142
BOSCH Radial-Wellendichtring | Ersatzteile für 11265EVS | 1610290069
Hersteller: BOSCH
Artikelnummer: EB-3611B64113-1610290069
Netto: 6,70 € zzgl. MwSt.
zzgl. 6,90 € Versand (brutto)
einmalig pro Bestellung

Lieferzeit: 5 Werktage

Pos.
143
BOSCH Sprengring DIN 7993 A 30 | Ersatzteile für 11265EVS | 2916540017
Hersteller: BOSCH
Artikelnummer: EB-3611B64113-2916540017
Netto: 3,94 € zzgl. MwSt.
zzgl. 6,90 € Versand (brutto)
einmalig pro Bestellung

Lieferzeit: 5 Werktage

Pos.
145
BOSCH Sicherungsring | Ersatzteile für 11265EVS | 1610119012
Hersteller: BOSCH
Artikelnummer: EB-3611B64113-1610119012
Netto: 4,53 € zzgl. MwSt.
zzgl. 6,90 € Versand (brutto)
einmalig pro Bestellung

Lieferzeit: 5 Werktage

Pos.
153
BOSCH Sprengring 38X2,5 A38 DIN7993 | Ersatzteile für 11265EVS | 2916540020
Hersteller: BOSCH
Artikelnummer: EB-3611B64113-2916540020
Netto: 4,53 € zzgl. MwSt.
zzgl. 6,90 € Versand (brutto)
einmalig pro Bestellung

Lieferzeit: 5 Werktage

Pos.
154
BOSCH Sicherungsring DIN 472 52X2MM | Ersatzteile für 11265EVS | 2916660023
Hersteller: BOSCH
Artikelnummer: EB-3611B64113-2916660023
Netto: 6,15 € zzgl. MwSt.
zzgl. 6,90 € Versand (brutto)
einmalig pro Bestellung

Lieferzeit: 5 Werktage

Pos.
160
BOSCH Dämpfungsring | Ersatzteile für 11265EVS | 1610290095
Hersteller: BOSCH
Artikelnummer: EB-3611B64113-1610290095
Netto: 9,95 € zzgl. MwSt.
zzgl. 6,90 € Versand (brutto)
einmalig pro Bestellung

Lieferzeit: 5 Werktage

Pos.
161
BOSCH Dämpfungsring | Ersatzteile für 11265EVS | 1610290094
Hersteller: BOSCH
Artikelnummer: EB-3611B64113-1610290094
Netto: 5,67 € zzgl. MwSt.
zzgl. 6,90 € Versand (brutto)
einmalig pro Bestellung

Lieferzeit: 5 Werktage

Pos.
162
BOSCH O-Ring 22,5X3,5 MM | Ersatzteile für 11265EVS | 1610210204
Hersteller: BOSCH
Artikelnummer: EB-3611B64113-1610210204
Netto: 6,70 € zzgl. MwSt.
zzgl. 6,90 € Versand (brutto)
einmalig pro Bestellung

Lieferzeit: 16 Werktage

Pos.
163
BOSCH Dichtring | Ersatzteile für 11265EVS | 1610290065
Hersteller: BOSCH
Artikelnummer: EB-3611B64113-1610290065
Netto: 8,33 € zzgl. MwSt.
zzgl. 6,90 € Versand (brutto)
einmalig pro Bestellung

Lieferzeit: 39 Werktage

Pos.
165
BOSCH O-Ring 22,0X4,0 MM | Ersatzteile für 11265EVS | 1610210079
Hersteller: BOSCH
Artikelnummer: EB-3611B64113-1610210079
Netto: 6,70 € zzgl. MwSt.
zzgl. 6,90 € Versand (brutto)
einmalig pro Bestellung

Lieferzeit: 46 Werktage

Pos.
166
BOSCH Zylinderrolle | Ersatzteile für 11265EVS | 1613200015
Hersteller: BOSCH
Artikelnummer: EB-3611B64113-1613200015
Netto: 4,53 € zzgl. MwSt.
zzgl. 6,90 € Versand (brutto)
einmalig pro Bestellung

Lieferzeit: 5 Werktage

Pos.
167
BOSCH Radial-Wellendichtring | Ersatzteile für 11265EVS | 1610283033
Hersteller: BOSCH
Artikelnummer: EB-3611B64113-1610283033
Netto: 7,30 € zzgl. MwSt.
zzgl. 6,90 € Versand (brutto)
einmalig pro Bestellung

Lieferzeit: 5 Werktage

Pos.
168
BOSCH O-Ring 22,0X3,0 MM | Ersatzteile für 11265EVS | 1610210144
Hersteller: BOSCH
Artikelnummer: EB-3611B64113-1610210144
Netto: 6,15 € zzgl. MwSt.
zzgl. 6,90 € Versand (brutto)
einmalig pro Bestellung

Lieferzeit: 5 Werktage

Pos.
171
BOSCH Torx-Linsenschraube M5X20-TORX,T25 SILBER | Ersatzteile für 11265EVS | 1613435016
Hersteller: BOSCH
Artikelnummer: EB-3611B64113-1613435016
Netto: 4,32 € zzgl. MwSt.
zzgl. 6,90 € Versand (brutto)
einmalig pro Bestellung

Lieferzeit: 5 Werktage

Pos.
172
BOSCH Torx-Linsenschraube M6X30-TORX,T30 SILBER | Ersatzteile für 11265EVS | 1613435013
Hersteller: BOSCH
Artikelnummer: EB-3611B64113-1613435013
Netto: 4,32 € zzgl. MwSt.
zzgl. 6,90 € Versand (brutto)
einmalig pro Bestellung

Lieferzeit: 5 Werktage

Pos.
175
BOSCH Blechschraube DIN7981-ST3,9X13-C-Z | Ersatzteile für 11265EVS | 2912401018
Hersteller: BOSCH
Artikelnummer: EB-3611B64113-2912401018
Netto: 3,63 € zzgl. MwSt.
zzgl. 6,90 € Versand (brutto)
einmalig pro Bestellung

Lieferzeit: 5 Werktage

Pos.
176
BOSCH Torx-Linsenschraube M4,8X25-TORX,T25 SILBER | Ersatzteile für 11265EVS | 1613435012
Hersteller: BOSCH
Artikelnummer: EB-3611B64113-1613435012
Netto: 4,32 € zzgl. MwSt.
zzgl. 6,90 € Versand (brutto)
einmalig pro Bestellung

Lieferzeit: 5 Werktage

Pos.
177
BOSCH Torx-Linsenschraube 4X25 | Ersatzteile für 11265EVS | 2603490024
Hersteller: BOSCH
Artikelnummer: EB-3611B64113-2603490024
Netto: 3,94 € zzgl. MwSt.
zzgl. 6,90 € Versand (brutto)
einmalig pro Bestellung

Lieferzeit: 5 Werktage

Pos.
192
BOSCH Druckfeder | Ersatzteile für 11265EVS | 1614611019
Hersteller: BOSCH
Artikelnummer: EB-3611B64113-1614611019
Netto: 4,53 € zzgl. MwSt.
zzgl. 6,90 € Versand (brutto)
einmalig pro Bestellung

Lieferzeit: 5 Werktage

Pos.
195
BOSCH Torx-Linsenschraube | Ersatzteile für 11265EVS | 1613490015
Hersteller: BOSCH
Artikelnummer: EB-3611B64113-1613490015
Netto: 4,53 € zzgl. MwSt.
zzgl. 6,90 € Versand (brutto)
einmalig pro Bestellung

Lieferzeit: 5 Werktage

Pos.
196
BOSCH Kombi-Schraube | Ersatzteile für 11265EVS | 1613435019
Hersteller: BOSCH
Artikelnummer: EB-3611B64113-1613435019
Netto: 3,94 € zzgl. MwSt.
zzgl. 6,90 € Versand (brutto)
einmalig pro Bestellung

Lieferzeit: 5 Werktage

Pos.
198
BOSCH Schalthebel | Ersatzteile für 11265EVS | 1618900001
Hersteller: BOSCH
Artikelnummer: EB-3611B64113-1618900001
Netto: 6,70 € zzgl. MwSt.
zzgl. 6,90 € Versand (brutto)
einmalig pro Bestellung

Lieferzeit: 5 Werktage

Pos.
200
BOSCH Faltenbalg | Ersatzteile für 11265EVS | 1610284000
Hersteller: BOSCH
Artikelnummer: EB-3611B64113-1610284000
Netto: 9,18 € zzgl. MwSt.
zzgl. 6,90 € Versand (brutto)
einmalig pro Bestellung

Lieferzeit: 5 Werktage

Pos.
202
BOSCH Schalthaken | Ersatzteile für 11265EVS | 1611010006
Hersteller: BOSCH
Artikelnummer: EB-3611B64113-1611010006
Netto: 6,15 € zzgl. MwSt.
zzgl. 6,90 € Versand (brutto)
einmalig pro Bestellung

Lieferzeit: 5 Werktage

Pos.
661
BOSCH Fetttube 30 ML | Ersatzteile für 11265EVS | 1615430010
Hersteller: BOSCH
Artikelnummer: EB-3611B64113-1615430010
Netto: 6,70 € zzgl. MwSt.
zzgl. 6,90 € Versand (brutto)
einmalig pro Bestellung

Lieferzeit: 5 Werktage

Pos.
691
BOSCH Tragkasten | Ersatzteile für 11265EVS | 1615438461
Hersteller: BOSCH
Artikelnummer: EB-3611B64113-1615438461
Netto: 39,11 € zzgl. MwSt.
zzgl. 6,90 € Versand (brutto)
einmalig pro Bestellung

Lieferzeit: 5 Werktage

Pos.
803
BOSCH Anker 120V | Ersatzteile für 11265EVS | 1614011128
Hersteller: BOSCH
Artikelnummer: EB-3611B64113-1614011128
Netto: 121,18 € zzgl. MwSt.
zzgl. 6,90 € Versand (brutto)
einmalig pro Bestellung

Lieferzeit: 5 Werktage

Pos.
808
BOSCH Typschild | Ersatzteile für 11265EVS | 160111A3H5
Hersteller: BOSCH
Artikelnummer: EB-3611B64113-160111A3H5
Netto: 4,53 € zzgl. MwSt.
zzgl. 6,90 € Versand (brutto)
einmalig pro Bestellung

Lieferzeit: 5 Werktage

Pos.
811
BOSCH Kohlebürstensatz | Ersatzteile für 11265EVS | 1617014144
Hersteller: BOSCH
Artikelnummer: EB-3611B64113-1617014144
Netto: 14,36 € zzgl. MwSt.
zzgl. 6,90 € Versand (brutto)
einmalig pro Bestellung

Lieferzeit: 11 Werktage

Pos.
816
BOSCH Zylinderschraube | Ersatzteile für 11265EVS | 1609271281
Hersteller: BOSCH
Artikelnummer: EB-3611B64113-1609271281
Netto: 3,63 € zzgl. MwSt.
zzgl. 6,90 € Versand (brutto)
einmalig pro Bestellung

Lieferzeit: 5 Werktage

Pos.
817
BOSCH Spiralfeder | Ersatzteile für 11265EVS | 1614652004
Hersteller: BOSCH
Artikelnummer: EB-3611B64113-1614652004
Netto: 7,76 € zzgl. MwSt.
zzgl. 6,90 € Versand (brutto)
einmalig pro Bestellung

Lieferzeit: 5 Werktage

Pos.
818
BOSCH Zylinderschraube DIN 84-AM3,5X6-5.8 | Ersatzteile für 11265EVS | 2910011082
Hersteller: BOSCH
Artikelnummer: EB-3611B64113-2910011082
Netto: 3,63 € zzgl. MwSt.
zzgl. 6,90 € Versand (brutto)
einmalig pro Bestellung

Lieferzeit: 5 Werktage

Pos.
820
BOSCH Werkzeughalter | Ersatzteile für 11265EVS | 1617000A14
Hersteller: BOSCH
Artikelnummer: EB-3611B64113-1617000A14
Netto: 135,20 € zzgl. MwSt.
zzgl. 6,90 € Versand (brutto)
einmalig pro Bestellung

Lieferzeit: 5 Werktage

Pos.
821
BOSCH Lagerbuchse | Ersatzteile für 11265EVS | 1617000A02
Hersteller: BOSCH
Artikelnummer: EB-3611B64113-1617000A02
Netto: 21,16 € zzgl. MwSt.
zzgl. 6,90 € Versand (brutto)
einmalig pro Bestellung

Lieferzeit: 5 Werktage

Pos.
825
BOSCH Lagerachse | Ersatzteile für 11265EVS | 1617000706
Hersteller: BOSCH
Artikelnummer: EB-3611B64113-1617000706
Netto: 10,92 € zzgl. MwSt.
zzgl. 6,90 € Versand (brutto)
einmalig pro Bestellung

Lieferzeit: 5 Werktage

Pos.
840
BOSCH Schlagwerkgehäuse | Ersatzteile für 11265EVS | 1607000EL8
Hersteller: BOSCH
Artikelnummer: EB-3611B64113-1607000EL8
Nie mehr lieferbar
keine Alternativen
Pos.
841
BOSCH Schlagbolzen | Ersatzteile für 11265EVS | 1617000899
Hersteller: BOSCH
Artikelnummer: EB-3611B64113-1617000899
Netto: 35,77 € zzgl. MwSt.
zzgl. 6,90 € Versand (brutto)
einmalig pro Bestellung

Lieferzeit: 5 Werktage

Pos.
849
BOSCH Schaltgabel | Ersatzteile für 11265EVS | 1617000839
Hersteller: BOSCH
Artikelnummer: EB-3611B64113-1617000839
Netto: 21,16 € zzgl. MwSt.
zzgl. 6,90 € Versand (brutto)
einmalig pro Bestellung

Lieferzeit: 5 Werktage

Pos.
854
BOSCH Führungsbuchse | Ersatzteile für 11265EVS | 1617000718
Hersteller: BOSCH
Artikelnummer: EB-3611B64113-1617000718
Netto: 26,88 € zzgl. MwSt.
zzgl. 6,90 € Versand (brutto)
einmalig pro Bestellung

Lieferzeit: 5 Werktage

Pos.
856
BOSCH Hammerkolben | Ersatzteile für 11265EVS | 1617000A04
Hersteller: BOSCH
Artikelnummer: EB-3611B64113-1617000A04
Netto: 21,16 € zzgl. MwSt.
zzgl. 6,90 € Versand (brutto)
einmalig pro Bestellung

Lieferzeit: 5 Werktage

Pos.
860
BOSCH Stirnradkupplung | Ersatzteile für 11265EVS | 1607000F00
Hersteller: BOSCH
Artikelnummer: EB-3611B64113-1607000E7U
Netto: 39,11 € zzgl. MwSt.
zzgl. 6,90 € Versand (brutto)
einmalig pro Bestellung

Lieferzeit: 5 Werktage

Pos.
873
BOSCH Gehäusedeckel | Ersatzteile für 11265EVS | 1607000ET8
Hersteller: BOSCH
Artikelnummer: EB-3611B64113-1607000ET8
Netto: 42,86 € zzgl. MwSt.
zzgl. 6,90 € Versand (brutto)
einmalig pro Bestellung

Lieferzeit: 5 Werktage

Pos.
884
BOSCH Zusatzhandgriff | Ersatzteile für 11265EVS | 1607000F30
Hersteller: BOSCH
Artikelnummer: EB-3611B64113-1607000F30
Netto: 24,13 € zzgl. MwSt.
zzgl. 6,90 € Versand (brutto)
einmalig pro Bestellung

Lieferzeit: 5 Werktage

Pos.
886
BOSCH Zusatzhandgriff | Ersatzteile für 11265EVS | 1607000F31
Hersteller: BOSCH
Artikelnummer: EB-3611B64113-1607000F31
Netto: 11,92 € zzgl. MwSt.
zzgl. 6,90 € Versand (brutto)
einmalig pro Bestellung

Lieferzeit: 5 Werktage

Pos.
891
BOSCH Federpaket | Ersatzteile für 11265EVS | 1617000A26
Hersteller: BOSCH
Artikelnummer: EB-3611B64113-1617000A26
Netto: 21,16 € zzgl. MwSt.
zzgl. 6,90 € Versand (brutto)
einmalig pro Bestellung

Lieferzeit: 5 Werktage

Pos.
897
BOSCH Verschleissteilsatz | Ersatzteile für 11265EVS | 1617000A09
Hersteller: BOSCH
Artikelnummer: EB-3611B64113-1617000A09
Netto: 32,74 € zzgl. MwSt.
zzgl. 6,90 € Versand (brutto)
einmalig pro Bestellung

Lieferzeit: 5 Werktage

Angaben zur Produktsicherheit

Hersteller:
Robert Bosch Power Tools GmbH
Postfach 30 02 20
70442 Stuttgart

E-Mail:
kontakt@bosch.de