BOSCH Warnzettel | Ersatzteile für AdvLeafBlower36 | F016L78488

Artikelnummer: EB-3600HC6000-F016L78488

Position: 21

Marke: BOSCH


Bitte Kompatibilität prüfen!

Bitte prüfen Sie unbedingt die 10-stellige Typennummer Ihrer Maschine / Ihres Gerätes. Das Ersatzteil ist nur kompatibel, wenn Sie die Typennummer Ihrer Maschine in der unten stehenden Produktbeschreibung finden.

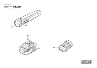
Bitte prüfen Sie ebenfalls detailliert die Explosionszeichnung mit Ihrem Artikelwunsch und der jeweiligen Pos-Nummer.

Alle Elemente, welche vom schwarzen Strich der Pos-Nummer ausgehend berührt / erfasst werden, gehören zu dieser Pos-Nummer und somit zu diesem Artikel. Jede Pos-Nummer ist ein eigenständiger Artikel, welchen Sie in der Auflistung finden.

Sie erhalten stets die aktuellste, neueste Produktversion zu der gewählten Pos-Nummer seitens des Herstellers. Es kann daher je nach Gerätealter vorkommen, dass Sie ggf. weitere, zugehörige Elemente, welche an diese Pos-Nummer grenzen, ebenfalls mittauschen müssen.

Nähere Informationen finden Sie unter dem Link
Hinweise zu Ihrer BOSCH Ersatzteilsuche

Preisübersicht

Einzelpreis: 3,63 €* (Brutto: 4,32 €)
Gesamtpreis: 3,63 €* 
Position:

Lieferzeit: 5 Werktage


Beschreibung

  • Warnzettel
  • Original Bosch Zubehör / BOSCH Ersatzteil (F016L78488)
  • im Gerät verbaut: 1
Dieses BOSCH Ersatzteil ist mit folgendem Gerät und Modell kompatibel:
  • BOSCH Gerätename: AdvLeafBlower36
  • BOSCH Explosionszeichnung: Position 21
  • BOSCH Typennummer: 3600HC6000
  • BOSCH Typennummer alternative Schreibweisen: 3 600 HC6 000, 3600 HC6 000, 3.600.HC6.000, 3-600-HC6-000
    Bitte prüfen Sie diese Typennummer auf Ihrem Gerät um die Kompatibilität des BOSCH Ersatzteils zu gewährleisten.
Weitere BOSCH Ersatzteile des Gerätes AdvLeafBlower36 (Gartensaug-/blasgerät) mit der Typennummer 3600HC6000 finden Sie in der nachfolgenden Darstellung und im Dropdown zu Ihrer Auswahl:

Pos.
1
BOSCH Gehäuseschale | Ersatzteile für AdvLeafBlower36 | F016F05825
Hersteller: BOSCH
Artikelnummer: EB-3600HC6000-F016F05825
Netto: 24,13 € zzgl. MwSt.
zzgl. 6,90 € Versand (brutto)
einmalig pro Bestellung

Lieferzeit: 5 Werktage

Pos.
3
BOSCH Auslösehebel | Ersatzteile für AdvLeafBlower36 | F016L78275
Hersteller: BOSCH
Artikelnummer: EB-3600HC6000-F016L78275
Netto: 3,63 € zzgl. MwSt.
zzgl. 6,90 € Versand (brutto)
einmalig pro Bestellung

Lieferzeit: 5 Werktage

Pos.
4
BOSCH Druckfeder | Ersatzteile für AdvLeafBlower36 | F016L78286
Hersteller: BOSCH
Artikelnummer: EB-3600HC6000-F016L78286
Netto: 3,63 € zzgl. MwSt.
zzgl. 6,90 € Versand (brutto)
einmalig pro Bestellung

Lieferzeit: 5 Werktage

Pos.
7
BOSCH Typschild | Ersatzteile für AdvLeafBlower36 | F016F05827
Hersteller: BOSCH
Artikelnummer: EB-3600HC6000-F016F05827
Netto: 4,53 € zzgl. MwSt.
zzgl. 6,90 € Versand (brutto)
einmalig pro Bestellung

Lieferzeit: 5 Werktage

Pos.
8
BOSCH Auslöser | Ersatzteile für AdvLeafBlower36 | F016L78271
Hersteller: BOSCH
Artikelnummer: EB-3600HC6000-F016L78271
Netto: 3,94 € zzgl. MwSt.
zzgl. 6,90 € Versand (brutto)
einmalig pro Bestellung

Lieferzeit: 5 Werktage

Pos.
9
BOSCH Druckfeder | Ersatzteile für AdvLeafBlower36 | F016L78284
Hersteller: BOSCH
Artikelnummer: EB-3600HC6000-F016L78284
Netto: 3,63 € zzgl. MwSt.
zzgl. 6,90 € Versand (brutto)
einmalig pro Bestellung

Lieferzeit: 5 Werktage

Pos.
11
BOSCH Motorgehäuse | Ersatzteile für AdvLeafBlower36 | F016F05826
Hersteller: BOSCH
Artikelnummer: EB-3600HC6000-F016F05826
Netto: 52,14 € zzgl. MwSt.
zzgl. 6,90 € Versand (brutto)
einmalig pro Bestellung

Lieferzeit: 5 Werktage

Pos.
12
BOSCH Elektronikmodul | Ersatzteile für AdvLeafBlower36 | F016L78489
Hersteller: BOSCH
Artikelnummer: EB-3600HC6000-F016L78489
Netto: 63,99 € zzgl. MwSt.
zzgl. 6,90 € Versand (brutto)
einmalig pro Bestellung

Lieferzeit: 5 Werktage

Pos.
14
BOSCH Gebläserohr | Ersatzteile für AdvLeafBlower36 | F016L78266
Hersteller: BOSCH
Artikelnummer: EB-3600HC6000-F016L78266
Netto: 7,76 € zzgl. MwSt.
zzgl. 6,90 € Versand (brutto)
einmalig pro Bestellung

Lieferzeit: 5 Werktage

Pos.
15
BOSCH Schraube | Ersatzteile für AdvLeafBlower36 | F016F04198
Hersteller: BOSCH
Artikelnummer: EB-3600HC6000-F016F04198
Netto: 3,63 € zzgl. MwSt.
zzgl. 6,90 € Versand (brutto)
einmalig pro Bestellung

Lieferzeit: 5 Werktage

Pos.
16
BOSCH Schutzgitter | Ersatzteile für AdvLeafBlower36 | F016L78268
Hersteller: BOSCH
Artikelnummer: EB-3600HC6000-F016L78268
Netto: 7,30 € zzgl. MwSt.
zzgl. 6,90 € Versand (brutto)
einmalig pro Bestellung

Lieferzeit: 5 Werktage

Pos.
20
BOSCH Gewindeschneidschraube | Ersatzteile für AdvLeafBlower36 | F016L78290
Hersteller: BOSCH
Artikelnummer: EB-3600HC6000-F016L78290
Netto: 3,63 € zzgl. MwSt.
zzgl. 6,90 € Versand (brutto)
einmalig pro Bestellung

Lieferzeit: 5 Werktage

Pos.
21
BOSCH Warnzettel | Ersatzteile für AdvLeafBlower36 | F016L78488
Hersteller: BOSCH
Artikelnummer: EB-3600HC6000-F016L78488
Netto: 3,63 € zzgl. MwSt.
zzgl. 6,90 € Versand (brutto)
einmalig pro Bestellung

Lieferzeit: 5 Werktage

Pos.
22
BOSCH Zierkappe | Ersatzteile für AdvLeafBlower36 | F016L78272
Hersteller: BOSCH
Artikelnummer: EB-3600HC6000-F016L78272
Netto: 6,15 € zzgl. MwSt.
zzgl. 6,90 € Versand (brutto)
einmalig pro Bestellung

Lieferzeit: 5 Werktage

Pos.
23
BOSCH Zierkappe | Ersatzteile für AdvLeafBlower36 | F016L78273
Hersteller: BOSCH
Artikelnummer: EB-3600HC6000-F016L78273
Netto: 6,15 € zzgl. MwSt.
zzgl. 6,90 € Versand (brutto)
einmalig pro Bestellung

Lieferzeit: 5 Werktage

Pos.
24
BOSCH Zierkappe | Ersatzteile für AdvLeafBlower36 | F016L78276
Hersteller: BOSCH
Artikelnummer: EB-3600HC6000-F016L78276
Netto: 4,32 € zzgl. MwSt.
zzgl. 6,90 € Versand (brutto)
einmalig pro Bestellung

Lieferzeit: 5 Werktage

Pos.
25
BOSCH Berührungsschutz | Ersatzteile für AdvLeafBlower36 | F016L78267
Hersteller: BOSCH
Artikelnummer: EB-3600HC6000-F016L78267
Netto: 3,94 € zzgl. MwSt.
zzgl. 6,90 € Versand (brutto)
einmalig pro Bestellung

Lieferzeit: 5 Werktage

Pos.
26
BOSCH Spindel | Ersatzteile für AdvLeafBlower36 | F016L78285
Hersteller: BOSCH
Artikelnummer: EB-3600HC6000-F016L78285
Netto: 3,63 € zzgl. MwSt.
zzgl. 6,90 € Versand (brutto)
einmalig pro Bestellung

Lieferzeit: 5 Werktage

Pos.
27
BOSCH Laufrolle | Ersatzteile für AdvLeafBlower36 | F016L78279
Hersteller: BOSCH
Artikelnummer: EB-3600HC6000-F016L78279
Netto: 3,63 € zzgl. MwSt.
zzgl. 6,90 € Versand (brutto)
einmalig pro Bestellung

Lieferzeit: 5 Werktage

Pos.
28
BOSCH Taste | Ersatzteile für AdvLeafBlower36 | F016L78274
Hersteller: BOSCH
Artikelnummer: EB-3600HC6000-F016L78274
Netto: 3,63 € zzgl. MwSt.
zzgl. 6,90 € Versand (brutto)
einmalig pro Bestellung

Lieferzeit: 5 Werktage

Pos.
29
BOSCH Druckfeder | Ersatzteile für AdvLeafBlower36 | F016L78291
Hersteller: BOSCH
Artikelnummer: EB-3600HC6000-F016L78291
Netto: 3,63 € zzgl. MwSt.
zzgl. 6,90 € Versand (brutto)
einmalig pro Bestellung

Lieferzeit: 5 Werktage

Pos.
30
BOSCH Federhalteplatte | Ersatzteile für AdvLeafBlower36 | F016L78458
Hersteller: BOSCH
Artikelnummer: EB-3600HC6000-F016L78458
Netto: 3,63 € zzgl. MwSt.
zzgl. 6,90 € Versand (brutto)
einmalig pro Bestellung

Lieferzeit: 5 Werktage

Pos.
31
BOSCH Schraube | Ersatzteile für AdvLeafBlower36 | F016L78787
Hersteller: BOSCH
Artikelnummer: EB-3600HC6000-F016L78787
Netto: 3,63 € zzgl. MwSt.
zzgl. 6,90 € Versand (brutto)
einmalig pro Bestellung

Lieferzeit: 5 Werktage

Pos.
651
BOSCH Schnell-Lader | Ersatzteile für AdvLeafBlower36 | 2607226273
Hersteller: BOSCH
Artikelnummer: EB-3600HC6000-2607226273
Netto: 52,14 € zzgl. MwSt.
zzgl. 6,90 € Versand (brutto)
einmalig pro Bestellung

Lieferzeit: 5 Werktage

Pos.
653
BOSCH Akku-Paket 36V 2,0 Ah Li | Ersatzteile für AdvLeafBlower36 | 2607336913
Hersteller: BOSCH
Artikelnummer: EB-3600HC6000-2607336913
nur Informationsartikel
Nie mehr lieferbar
keine Alternativen
Pos.
653
BOSCH Akku-Paket GBA 36V 2,0AH H-B | Ersatzteile für AdvLeafBlower36 | 1607A350PZ
Hersteller: BOSCH
Artikelnummer: EB-3600HC6000-1607A350PZ
Netto: 169,85 € zzgl. MwSt.
zzgl. 6,90 € Versand (brutto)
einmalig pro Bestellung

Lieferzeit: 5 Werktage

Pos.
655
BOSCH Düse | Ersatzteile für AdvLeafBlower36 | F016L78269
Hersteller: BOSCH
Artikelnummer: EB-3600HC6000-F016L78269
Netto: 7,76 € zzgl. MwSt.
zzgl. 6,90 € Versand (brutto)
einmalig pro Bestellung

Lieferzeit: 5 Werktage

Angaben zur Produktsicherheit

Hersteller:
Robert Bosch Power Tools GmbH
Postfach 30 02 20
70442 Stuttgart

E-Mail:
kontakt@bosch.de