BOSCH O-Ring 9,92x2,62 MM BLAU | Ersatzteile für AQUATAK 10 | F016F03633

Artikelnummer: EB-3600H76G80-F016F03633

Position: 2/1/2

Marke: BOSCH


Bitte Kompatibilität prüfen!

Bitte prüfen Sie unbedingt die 10-stellige Typennummer Ihrer Maschine / Ihres Gerätes. Das Ersatzteil ist nur kompatibel, wenn Sie die Typennummer Ihrer Maschine in der unten stehenden Produktbeschreibung finden.

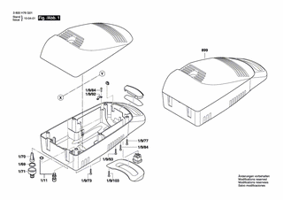
Bitte prüfen Sie ebenfalls detailliert die Explosionszeichnung mit Ihrem Artikelwunsch und der jeweiligen Pos-Nummer.

Alle Elemente, welche vom schwarzen Strich der Pos-Nummer ausgehend berührt / erfasst werden, gehören zu dieser Pos-Nummer und somit zu diesem Artikel. Jede Pos-Nummer ist ein eigenständiger Artikel, welchen Sie in der Auflistung finden.

Sie erhalten stets die aktuellste, neueste Produktversion zu der gewählten Pos-Nummer seitens des Herstellers. Es kann daher je nach Gerätealter vorkommen, dass Sie ggf. weitere, zugehörige Elemente, welche an diese Pos-Nummer grenzen, ebenfalls mittauschen müssen.

Nähere Informationen finden Sie unter dem Link
Hinweise zu Ihrer BOSCH Ersatzteilsuche

Preisübersicht

Einzelpreis: 4,56 €* (Brutto: 5,43 €)
Gesamtpreis: 4,56 €* 
Position:

Lieferzeit: 5 Werktage


Beschreibung

  • O-Ring 9,92x2,62 MM BLAU
  • Original Bosch Zubehör / BOSCH Ersatzteil (F016F03633)
  • im Gerät verbaut: 1
Dieses BOSCH Ersatzteil ist mit folgendem Gerät und Modell kompatibel:
  • BOSCH Gerätename: AQUATAK 10
  • BOSCH Explosionszeichnung: Position 2/1/2
  • BOSCH Typennummer: 3600H76G80
  • BOSCH Typennummer alternative Schreibweisen: 3 600 H76 G80, 3600 H76 G80, 3.600.H76.G80, 3-600-H76-G80
    Bitte prüfen Sie diese Typennummer auf Ihrem Gerät um die Kompatibilität des BOSCH Ersatzteils zu gewährleisten.
Weitere BOSCH Ersatzteile des Gerätes AQUATAK 10 (Hochdruckreiniger) mit der Typennummer 3600H76G80 finden Sie in der nachfolgenden Darstellung und im Dropdown zu Ihrer Auswahl:

Pos.
1/1
BOSCH Kommandogeber | Ersatzteile für AQUATAK 10 | F016F04073
Hersteller: BOSCH
Artikelnummer: EB-3600H76G80-F016F04073
nur Informationsartikel
Nie mehr lieferbar
keine Alternativen
Pos.
1/1/44
BOSCH O-Ring | Ersatzteile für AQUATAK 10 | F016F04074
Hersteller: BOSCH
Artikelnummer: EB-3600H76G80-F016F04074
nur Informationsartikel
Nie mehr lieferbar
keine Alternativen
Pos.
1/1/45
BOSCH Schraube | Ersatzteile für AQUATAK 10 | F016F04075
Hersteller: BOSCH
Artikelnummer: EB-3600H76G80-F016F04075
nur Informationsartikel
Nie mehr lieferbar
keine Alternativen
Pos.
1/1/46
BOSCH O-Ring | Ersatzteile für AQUATAK 10 | F016F04082
Hersteller: BOSCH
Artikelnummer: EB-3600H76G80-F016F04082
nur Informationsartikel
Nie mehr lieferbar
keine Alternativen
Pos.
1/1/51
BOSCH Schallwand | Ersatzteile für AQUATAK 10 | F016F04076
Hersteller: BOSCH
Artikelnummer: EB-3600H76G80-F016F04076
nur Informationsartikel
Nie mehr lieferbar
keine Alternativen
Pos.
1/1/53
BOSCH O-Ring | Ersatzteile für AQUATAK 10 | F016F04077
Hersteller: BOSCH
Artikelnummer: EB-3600H76G80-F016F04077
nur Informationsartikel
Nie mehr lieferbar
keine Alternativen
Pos.
1/1/56
BOSCH Mattendichtung | Ersatzteile für AQUATAK 10 | F016F04078
Hersteller: BOSCH
Artikelnummer: EB-3600H76G80-F016F04078
nur Informationsartikel
Nie mehr lieferbar
keine Alternativen
Pos.
1/1/57
BOSCH O-Ring | Ersatzteile für AQUATAK 10 | F016F04079
Hersteller: BOSCH
Artikelnummer: EB-3600H76G80-F016F04079
nur Informationsartikel
Nie mehr lieferbar
keine Alternativen
Pos.
1/1/58
BOSCH O-Ring | Ersatzteile für AQUATAK 10 | F016F04080
Hersteller: BOSCH
Artikelnummer: EB-3600H76G80-F016F04080
Netto: 3,60 € zzgl. MwSt.
zzgl. 6,90 € Versand (brutto)
einmalig pro Bestellung

Lieferzeit: 5 Werktage

Pos.
1/1/60
BOSCH Schraubkappe | Ersatzteile für AQUATAK 10 | F016F04081
Hersteller: BOSCH
Artikelnummer: EB-3600H76G80-F016F04081
nur Informationsartikel
Nie mehr lieferbar
keine Alternativen
Pos.
1/10
BOSCH Kugellager | Ersatzteile für AQUATAK 10 | F016F04065
Hersteller: BOSCH
Artikelnummer: EB-3600H76G80-F016F04065
nur Informationsartikel
Nie mehr lieferbar
keine Alternativen
Pos.
1/11
BOSCH Kabelhalter | Ersatzteile für AQUATAK 10 | F016F02918
Hersteller: BOSCH
Artikelnummer: EB-3600H76G80-F016F02918
Netto: 6,63 € zzgl. MwSt.
zzgl. 6,90 € Versand (brutto)
einmalig pro Bestellung

Lieferzeit: 5 Werktage

Pos.
1/12
BOSCH Lagerschild | Ersatzteile für AQUATAK 10 | F016F04062
Hersteller: BOSCH
Artikelnummer: EB-3600H76G80-F016F04062
nur Informationsartikel
Nie mehr lieferbar
keine Alternativen
Pos.
1/12/10
BOSCH O-Ring | Ersatzteile für AQUATAK 10 | F016F04063
Hersteller: BOSCH
Artikelnummer: EB-3600H76G80-F016F04063
nur Informationsartikel
Nie mehr lieferbar
keine Alternativen
Pos.
1/12/14
BOSCH Schraube | Ersatzteile für AQUATAK 10 | F016F04064
Hersteller: BOSCH
Artikelnummer: EB-3600H76G80-F016F04064
nur Informationsartikel
Nie mehr lieferbar
keine Alternativen
Pos.
1/12/6
BOSCH Dichtring | Ersatzteile für AQUATAK 10 | F016F04061
Hersteller: BOSCH
Artikelnummer: EB-3600H76G80-F016F04061
nur Informationsartikel
Nie mehr lieferbar
keine Alternativen
Pos.
1/13
BOSCH Elektromotor | Ersatzteile für AQUATAK 10 | F016F04052
Hersteller: BOSCH
Artikelnummer: EB-3600H76G80-F016F04052
nur Informationsartikel
Nie mehr lieferbar
keine Alternativen
Pos.
1/13/3
BOSCH Bolzen | Ersatzteile für AQUATAK 10 | F016F04053
Hersteller: BOSCH
Artikelnummer: EB-3600H76G80-F016F04053
nur Informationsartikel
Nie mehr lieferbar
keine Alternativen
Pos.
1/13/4
BOSCH Mattendichtung | Ersatzteile für AQUATAK 10 | F016F04054
Hersteller: BOSCH
Artikelnummer: EB-3600H76G80-F016F04054
nur Informationsartikel
Nie mehr lieferbar
keine Alternativen
Pos.
1/13/5
BOSCH Lager | Ersatzteile für AQUATAK 10 | F016F04055
Hersteller: BOSCH
Artikelnummer: EB-3600H76G80-F016F04055
nur Informationsartikel
Nie mehr lieferbar
keine Alternativen
Pos.
1/16
BOSCH Teilesatz | Ersatzteile für AQUATAK 10 | F016F04056
Hersteller: BOSCH
Artikelnummer: EB-3600H76G80-F016F04056
nur Informationsartikel
Nie mehr lieferbar
keine Alternativen
Pos.
1/16/26
BOSCH Schraube | Ersatzteile für AQUATAK 10 | F016F04057
Hersteller: BOSCH
Artikelnummer: EB-3600H76G80-F016F04057
nur Informationsartikel
Nie mehr lieferbar
keine Alternativen
Pos.
1/16/34
BOSCH Mattendichtung | Ersatzteile für AQUATAK 10 | F016F04058
Hersteller: BOSCH
Artikelnummer: EB-3600H76G80-F016F04058
nur Informationsartikel
Nie mehr lieferbar
keine Alternativen
Pos.
1/16/35
BOSCH Schraube | Ersatzteile für AQUATAK 10 | F016F04059
Hersteller: BOSCH
Artikelnummer: EB-3600H76G80-F016F04059
nur Informationsartikel
Nie mehr lieferbar
keine Alternativen
Pos.
1/3
BOSCH Gehäuse | Ersatzteile für AQUATAK 10 | F016F04067
Hersteller: BOSCH
Artikelnummer: EB-3600H76G80-F016F04067
nur Informationsartikel
Nie mehr lieferbar
keine Alternativen
Pos.
1/3/31
BOSCH O-Ring | Ersatzteile für AQUATAK 10 | F016F04068
Hersteller: BOSCH
Artikelnummer: EB-3600H76G80-F016F04068
nur Informationsartikel
Nie mehr lieferbar
keine Alternativen
Pos.
1/3/33
BOSCH Schraube | Ersatzteile für AQUATAK 10 | F016F04069
Hersteller: BOSCH
Artikelnummer: EB-3600H76G80-F016F04069
nur Informationsartikel
Nie mehr lieferbar
keine Alternativen
Pos.
1/3/39
BOSCH O-Ring | Ersatzteile für AQUATAK 10 | F016F04070
Hersteller: BOSCH
Artikelnummer: EB-3600H76G80-F016F04070
nur Informationsartikel
Nie mehr lieferbar
keine Alternativen
Pos.
1/3/43
BOSCH O-Ring | Ersatzteile für AQUATAK 10 | F016F04071
Hersteller: BOSCH
Artikelnummer: EB-3600H76G80-F016F04071
nur Informationsartikel
Nie mehr lieferbar
keine Alternativen
Pos.
1/3/8
BOSCH Ventil | Ersatzteile für AQUATAK 10 | F016F04072
Hersteller: BOSCH
Artikelnummer: EB-3600H76G80-F016F04072
nur Informationsartikel
Nie mehr lieferbar
keine Alternativen
Pos.
1/4
BOSCH Steckkupplung | Ersatzteile für AQUATAK 10 | F016F04060
Hersteller: BOSCH
Artikelnummer: EB-3600H76G80-F016F04060
nur Informationsartikel
Nie mehr lieferbar
keine Alternativen
Pos.
1/69
BOSCH Mutter 3/4 FLANG.NYL | Ersatzteile für AQUATAK 10 | F016F03087
Hersteller: BOSCH
Artikelnummer: EB-3600H76G80-F016F03087
Netto: 4,54 € zzgl. MwSt.
zzgl. 6,90 € Versand (brutto)
einmalig pro Bestellung

Lieferzeit: 5 Werktage

Pos.
1/7
BOSCH Gehäuse | Ersatzteile für AQUATAK 10 | F016F04066
Hersteller: BOSCH
Artikelnummer: EB-3600H76G80-F016F04066
nur Informationsartikel
Nie mehr lieferbar
keine Alternativen
Pos.
1/70
BOSCH Sieb | Ersatzteile für AQUATAK 10 | F016F02905
Hersteller: BOSCH
Artikelnummer: EB-3600H76G80-F016F02905
Netto: 5,13 € zzgl. MwSt.
zzgl. 6,90 € Versand (brutto)
einmalig pro Bestellung

Lieferzeit: 5 Werktage

Pos.
1/71
BOSCH Anschlussverschraubung | Ersatzteile für AQUATAK 10 | F016F03359
Hersteller: BOSCH
Artikelnummer: EB-3600H76G80-F016F03359
nur Informationsartikel
Nie mehr lieferbar
keine Alternativen
Pos.
1/8
BOSCH Schalter | Ersatzteile für AQUATAK 10 | F016F04083
Hersteller: BOSCH
Artikelnummer: EB-3600H76G80-F016F04083
nur Informationsartikel
Nie mehr lieferbar
keine Alternativen
Pos.
1/8/1
BOSCH Haken | Ersatzteile für AQUATAK 10 | F016F03862
Hersteller: BOSCH
Artikelnummer: EB-3600H76G80-F016F03862
nur Informationsartikel
Nie mehr lieferbar
keine Alternativen
Pos.
1/9/103
BOSCH Schraube | Ersatzteile für AQUATAK 10 | F016F03336
Hersteller: BOSCH
Artikelnummer: EB-3600H76G80-F016F03336
Netto: 3,60 € zzgl. MwSt.
zzgl. 6,90 € Versand (brutto)
einmalig pro Bestellung

Lieferzeit: 5 Werktage

Pos.
1/9/73
BOSCH Schraube | Ersatzteile für AQUATAK 10 | F016F02898
Hersteller: BOSCH
Artikelnummer: EB-3600H76G80-F016F02898
Netto: 3,60 € zzgl. MwSt.
zzgl. 6,90 € Versand (brutto)
einmalig pro Bestellung

Lieferzeit: 5 Werktage

Pos.
1/9/77
BOSCH Schraube | Ersatzteile für AQUATAK 10 | F016F02896
Hersteller: BOSCH
Artikelnummer: EB-3600H76G80-F016F02896
Netto: 0,60 € zzgl. MwSt.
zzgl. 6,90 € Versand (brutto)
einmalig pro Bestellung

Lieferzeit: 5 Werktage

Pos.
1/9/84
BOSCH Schraube | Ersatzteile für AQUATAK 10 | F016F03404
Hersteller: BOSCH
Artikelnummer: EB-3600H76G80-F016F03404
nur Informationsartikel
Nie mehr lieferbar
keine Alternativen
Pos.
1/9/92
BOSCH Klemmstück | Ersatzteile für AQUATAK 10 | F016F03035
Hersteller: BOSCH
Artikelnummer: EB-3600H76G80-F016F03035
nur Informationsartikel
Nie mehr lieferbar
keine Alternativen
Pos.
1/9/93
BOSCH Schraube | Ersatzteile für AQUATAK 10 | F016F03335
Hersteller: BOSCH
Artikelnummer: EB-3600H76G80-F016F03335
Netto: 3,60 € zzgl. MwSt.
zzgl. 6,90 € Versand (brutto)
einmalig pro Bestellung

Lieferzeit: 5 Werktage

Pos.
2/1
BOSCH Handgriff | Ersatzteile für AQUATAK 10 | F016F03148
Hersteller: BOSCH
Artikelnummer: EB-3600H76G80-F016F03148
Netto: 57,55 € zzgl. MwSt.
zzgl. 6,90 € Versand (brutto)
einmalig pro Bestellung

Lieferzeit: 5 Werktage

Pos.
2/1/2
BOSCH O-Ring 9,92x2,62 MM BLAU | Ersatzteile für AQUATAK 10 | F016F03633
Hersteller: BOSCH
Artikelnummer: EB-3600H76G80-F016F03633
Netto: 4,54 € zzgl. MwSt.
zzgl. 6,90 € Versand (brutto)
einmalig pro Bestellung

Lieferzeit: 5 Werktage

Pos.
2/1/3
BOSCH O-Ring 10,0x2,0 MM SCHWARZ | Ersatzteile für AQUATAK 10 | F016F03634
Hersteller: BOSCH
Artikelnummer: EB-3600H76G80-F016F03634
nur Informationsartikel
Nie mehr lieferbar
keine Alternativen
Pos.
2/5
BOSCH Behälter | Ersatzteile für AQUATAK 10 | F016F02928
Hersteller: BOSCH
Artikelnummer: EB-3600H76G80-F016F02928
nur Informationsartikel
Nie mehr lieferbar
keine Alternativen
Pos.
2/6
BOSCH Strahlrohr | Ersatzteile für AQUATAK 10 | F016F03420
Hersteller: BOSCH
Artikelnummer: EB-3600H76G80-F016F03420
nur Informationsartikel
Nie mehr lieferbar
keine Alternativen
Pos.
2/6/1
BOSCH O-Ring | Ersatzteile für AQUATAK 10 | F016F03330
Hersteller: BOSCH
Artikelnummer: EB-3600H76G80-F016F03330
nur Informationsartikel
Nie mehr lieferbar
keine Alternativen
Pos.
899
BOSCH Hochdruckreiniger | Ersatzteile für AQUATAK 10 | 0600876G80
Hersteller: BOSCH
Artikelnummer: EB-3600H76G80-0600876G80
nur Informationsartikel
Nie mehr lieferbar
keine Alternativen

Angaben zur Produktsicherheit

Hersteller:
Robert Bosch Power Tools GmbH
Postfach 30 02 20
70442 Stuttgart

E-Mail:
kontakt@bosch.de