BOSCH Lagerbuchse | Ersatzteile für ENSIGN 12 | F016L08537

Artikelnummer: EB-F016L80184-F016L08537

Position: 407

Marke: BOSCH


Bitte Kompatibilität prüfen!

Bitte prüfen Sie unbedingt die 10-stellige Typennummer Ihrer Maschine / Ihres Gerätes. Das Ersatzteil ist nur kompatibel, wenn Sie die Typennummer Ihrer Maschine in der unten stehenden Produktbeschreibung finden.

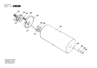
Bitte prüfen Sie ebenfalls detailliert die Explosionszeichnung mit Ihrem Artikelwunsch und der jeweiligen Pos-Nummer.

Alle Elemente, welche vom schwarzen Strich der Pos-Nummer ausgehend berührt / erfasst werden, gehören zu dieser Pos-Nummer und somit zu diesem Artikel. Jede Pos-Nummer ist ein eigenständiger Artikel, welchen Sie in der Auflistung finden.

Sie erhalten stets die aktuellste, neueste Produktversion zu der gewählten Pos-Nummer seitens des Herstellers. Es kann daher je nach Gerätealter vorkommen, dass Sie ggf. weitere, zugehörige Elemente, welche an diese Pos-Nummer grenzen, ebenfalls mittauschen müssen.

Nähere Informationen finden Sie unter dem Link
Hinweise zu Ihrer BOSCH Ersatzteilsuche

Preisübersicht

Einzelpreis: 10,62 €* (Brutto: 12,64 €)
Gesamtpreis: 10,62 €* 
Position:

Lieferzeit: 5 Werktage


Beschreibung

  • Lagerbuchse
  • Original Bosch Zubehör / BOSCH Ersatzteil (F016L08537)
  • im Gerät verbaut: 1
Dieses BOSCH Ersatzteil ist mit folgendem Gerät und Modell kompatibel:
  • BOSCH Gerätename: ENSIGN 12
  • BOSCH Explosionszeichnung: Position 407
  • BOSCH Typennummer: F016L80184
  • BOSCH Typennummer alternative Schreibweisen: F 016 L80 184, F016 L80 184, F.016.L80.184, F-016-L80-184
    Bitte prüfen Sie diese Typennummer auf Ihrem Gerät um die Kompatibilität des BOSCH Ersatzteils zu gewährleisten.
Weitere BOSCH Ersatzteile des Gerätes ENSIGN 12 (Rasenmäher) mit der Typennummer F016L80184 finden Sie in der nachfolgenden Darstellung und im Dropdown zu Ihrer Auswahl:

Pos.
1
BOSCH Gewindeschneidschraube | Ersatzteile für ENSIGN 12 | F016L08798
Hersteller: BOSCH
Artikelnummer: EB-F016L80184-F016L08798
nur Informationsartikel
Nie mehr lieferbar
keine Alternativen
Pos.
2
BOSCH Schutzabdeckung | Ersatzteile für ENSIGN 12 | F016100006
Hersteller: BOSCH
Artikelnummer: EB-F016L80184-F016100006
nur Informationsartikel
Nie mehr lieferbar
keine Alternativen
Pos.
3
BOSCH Riemen | Ersatzteile für ENSIGN 12 | F016L08476
Hersteller: BOSCH
Artikelnummer: EB-F016L80184-F016L08476
nur Informationsartikel
Nie mehr lieferbar
keine Alternativen
Pos.
4
BOSCH Halter | Ersatzteile für ENSIGN 12 | F016L66172
Hersteller: BOSCH
Artikelnummer: EB-F016L80184-F016L66172
nur Informationsartikel
Nie mehr lieferbar
keine Alternativen
Pos.
5
BOSCH Feder | Ersatzteile für ENSIGN 12 | F016L08487
Hersteller: BOSCH
Artikelnummer: EB-F016L80184-F016L08487
nur Informationsartikel
Nie mehr lieferbar
keine Alternativen
Pos.
6
BOSCH Splint 3/32 DIA X 3/4 | Ersatzteile für ENSIGN 12 | F016L20901
Hersteller: BOSCH
Artikelnummer: EB-F016L80184-F016L20901
Netto: 3,60 € zzgl. MwSt.
zzgl. 6,90 € Versand (brutto)
einmalig pro Bestellung

Lieferzeit: 5 Werktage

Pos.
7
BOSCH Feder | Ersatzteile für ENSIGN 12 | F016L09037
Hersteller: BOSCH
Artikelnummer: EB-F016L80184-F016L09037
nur Informationsartikel
Nie mehr lieferbar
keine Alternativen
Pos.
8
BOSCH Platte 12" | Ersatzteile für ENSIGN 12 | F016L08447
Hersteller: BOSCH
Artikelnummer: EB-F016L80184-F016L08447
nur Informationsartikel
Nie mehr lieferbar
keine Alternativen
Pos.
9
BOSCH Schraube | Ersatzteile für ENSIGN 12 | F016L14723
Hersteller: BOSCH
Artikelnummer: EB-F016L80184-F016L14723
nur Informationsartikel
Nie mehr lieferbar
keine Alternativen
Pos.
10
BOSCH Sicherungsscheibe 1/4 SQ SEC | Ersatzteile für ENSIGN 12 | F016L35319
Hersteller: BOSCH
Artikelnummer: EB-F016L80184-F016L35319
nur Informationsartikel
Nie mehr lieferbar
keine Alternativen
Pos.
11
BOSCH Scheibe 9/16X17/64X20G | Ersatzteile für ENSIGN 12 | F016L18030
Hersteller: BOSCH
Artikelnummer: EB-F016L80184-F016L18030
nur Informationsartikel
Nie mehr lieferbar
keine Alternativen
Pos.
12
BOSCH Seitenplatte | Ersatzteile für ENSIGN 12 | F016S30003
Hersteller: BOSCH
Artikelnummer: EB-F016L80184-F016S30003
nur Informationsartikel
Nie mehr lieferbar
keine Alternativen
Pos.
13
BOSCH Ersatzteil | Ersatzteile für ENSIGN 12 | F016101063
Hersteller: BOSCH
Artikelnummer: EB-F016L80184-F016101063
nur Informationsartikel
Nie mehr lieferbar
keine Alternativen
Pos.
14
BOSCH Kette | Ersatzteile für ENSIGN 12 | F016L08716
Hersteller: BOSCH
Artikelnummer: EB-F016L80184-F016L08716
nur Informationsartikel
Nie mehr lieferbar
keine Alternativen
Pos.
15
BOSCH Deckel | Ersatzteile für ENSIGN 12 | F016101492
Hersteller: BOSCH
Artikelnummer: EB-F016L80184-F016101492
nur Informationsartikel
Nie mehr lieferbar
keine Alternativen
Pos.
16
BOSCH Schraube | Ersatzteile für ENSIGN 12 | F016L08583
Hersteller: BOSCH
Artikelnummer: EB-F016L80184-F016L08583
nur Informationsartikel
Nie mehr lieferbar
keine Alternativen
Pos.
17
BOSCH Spannbügel | Ersatzteile für ENSIGN 12 | F016L10832
Hersteller: BOSCH
Artikelnummer: EB-F016L80184-F016L10832
nur Informationsartikel
Nie mehr lieferbar
keine Alternativen
Pos.
19
BOSCH Formscheibe | Ersatzteile für ENSIGN 12 | F016L18177
Hersteller: BOSCH
Artikelnummer: EB-F016L80184-F016L18177
nur Informationsartikel
Nie mehr lieferbar
keine Alternativen
Pos.
20
BOSCH Hülse | Ersatzteile für ENSIGN 12 | F016L07063
Hersteller: BOSCH
Artikelnummer: EB-F016L80184-F016L07063
nur Informationsartikel
Nie mehr lieferbar
keine Alternativen
Pos.
21
BOSCH Mutter 5/16-UNF D/C | Ersatzteile für ENSIGN 12 | F016L20303
Hersteller: BOSCH
Artikelnummer: EB-F016L80184-F016L20303
Netto: 3,60 € zzgl. MwSt.
zzgl. 6,90 € Versand (brutto)
einmalig pro Bestellung

Lieferzeit: 5 Werktage

Pos.
22
BOSCH Untermesser | Ersatzteile für ENSIGN 12 | F016L23147
Hersteller: BOSCH
Artikelnummer: EB-F016L80184-F016L23147
Netto: 3,60 € zzgl. MwSt.
zzgl. 6,90 € Versand (brutto)
einmalig pro Bestellung

Lieferzeit: 5 Werktage

Pos.
23
BOSCH Schraube 1/4 UNF X 1,3/4 HEX | Ersatzteile für ENSIGN 12 | F016L08041
Hersteller: BOSCH
Artikelnummer: EB-F016L80184-F016L08041
nur Informationsartikel
Nie mehr lieferbar
keine Alternativen
Pos.
24
BOSCH Federscheibe 5/16 SW SE | Ersatzteile für ENSIGN 12 | F016L35307
Hersteller: BOSCH
Artikelnummer: EB-F016L80184-F016L35307
Netto: 3,60 € zzgl. MwSt.
zzgl. 6,90 € Versand (brutto)
einmalig pro Bestellung

Lieferzeit: 5 Werktage

Pos.
25
BOSCH Schraube 5/16 UNPA X3/4 | Ersatzteile für ENSIGN 12 | F016L20407
Hersteller: BOSCH
Artikelnummer: EB-F016L80184-F016L20407
nur Informationsartikel
Nie mehr lieferbar
keine Alternativen
Pos.
26
BOSCH Zugstange | Ersatzteile für ENSIGN 12 | F016L22413
Hersteller: BOSCH
Artikelnummer: EB-F016L80184-F016L22413
nur Informationsartikel
Nie mehr lieferbar
keine Alternativen
Pos.
27
BOSCH Auffangbehälter | Ersatzteile für ENSIGN 12 | F016103792
Hersteller: BOSCH
Artikelnummer: EB-F016L80184-F016103792
nur Informationsartikel
Nie mehr lieferbar
keine Alternativen
Pos.
28
BOSCH Untermesser 12" | Ersatzteile für ENSIGN 12 | F016101495
Hersteller: BOSCH
Artikelnummer: EB-F016L80184-F016101495
nur Informationsartikel
Nie mehr lieferbar
keine Alternativen
Pos.
29
BOSCH Plattform | Ersatzteile für ENSIGN 12 | F016101408
Hersteller: BOSCH
Artikelnummer: EB-F016L80184-F016101408
nur Informationsartikel
Nie mehr lieferbar
keine Alternativen
Pos.
30
BOSCH Seitenplatte | Ersatzteile für ENSIGN 12 | F016101454
Hersteller: BOSCH
Artikelnummer: EB-F016L80184-F016101454
nur Informationsartikel
Nie mehr lieferbar
keine Alternativen
Pos.
31
BOSCH Lagerbolzen | Ersatzteile für ENSIGN 12 | F016L10984
Hersteller: BOSCH
Artikelnummer: EB-F016L80184-F016L10984
nur Informationsartikel
Nie mehr lieferbar
keine Alternativen
Pos.
32
BOSCH Schraube 1/4 UNC X 3/8 | Ersatzteile für ENSIGN 12 | F016L18029
Hersteller: BOSCH
Artikelnummer: EB-F016L80184-F016L18029
nur Informationsartikel
Nie mehr lieferbar
keine Alternativen
Pos.
33
BOSCH Führungsstein | Ersatzteile für ENSIGN 12 | F016L08490
Hersteller: BOSCH
Artikelnummer: EB-F016L80184-F016L08490
nur Informationsartikel
Nie mehr lieferbar
keine Alternativen
Pos.
34
BOSCH Sicherungsbügel 1/2" | Ersatzteile für ENSIGN 12 | F016L08585
Hersteller: BOSCH
Artikelnummer: EB-F016L80184-F016L08585
nur Informationsartikel
Nie mehr lieferbar
keine Alternativen
Pos.
35
BOSCH Umlenkwalze | Ersatzteile für ENSIGN 12 | F016L08815
Hersteller: BOSCH
Artikelnummer: EB-F016L80184-F016L08815
nur Informationsartikel
Nie mehr lieferbar
keine Alternativen
Pos.
36
BOSCH Lagerbuchse | Ersatzteile für ENSIGN 12 | F016L09056
Hersteller: BOSCH
Artikelnummer: EB-F016L80184-F016L09056
nur Informationsartikel
Nie mehr lieferbar
keine Alternativen
Pos.
37
BOSCH Hebelarm | Ersatzteile für ENSIGN 12 | F016L09039
Hersteller: BOSCH
Artikelnummer: EB-F016L80184-F016L09039
nur Informationsartikel
Nie mehr lieferbar
keine Alternativen
Pos.
38
BOSCH Bolzen | Ersatzteile für ENSIGN 12 | F016L03725
Hersteller: BOSCH
Artikelnummer: EB-F016L80184-F016L03725
nur Informationsartikel
Nie mehr lieferbar
keine Alternativen
Pos.
39
BOSCH Schraube 5/16 UNF X 1 | Ersatzteile für ENSIGN 12 | F016L18019
Hersteller: BOSCH
Artikelnummer: EB-F016L80184-F016L18019
Netto: 3,60 € zzgl. MwSt.
zzgl. 6,90 € Versand (brutto)
einmalig pro Bestellung

Lieferzeit: 5 Werktage

Pos.
40
BOSCH Mutter | Ersatzteile für ENSIGN 12 | F016L08770
Hersteller: BOSCH
Artikelnummer: EB-F016L80184-F016L08770
nur Informationsartikel
Nie mehr lieferbar
keine Alternativen
Pos.
41
BOSCH Gewindeschneidschraube | Ersatzteile für ENSIGN 12 | F016L35318
Hersteller: BOSCH
Artikelnummer: EB-F016L80184-F016L35318
nur Informationsartikel
Nie mehr lieferbar
keine Alternativen
Pos.
42
BOSCH Gewindebolzen 5/16 UNC X 17/32 | Ersatzteile für ENSIGN 12 | F016T40588
Hersteller: BOSCH
Artikelnummer: EB-F016L80184-F016T40588
nur Informationsartikel
Nie mehr lieferbar
keine Alternativen
Pos.
43
BOSCH Motorhaube | Ersatzteile für ENSIGN 12 | F016101502
Hersteller: BOSCH
Artikelnummer: EB-F016L80184-F016101502
nur Informationsartikel
Nie mehr lieferbar
keine Alternativen
Pos.
46
BOSCH Sicherungsmutter M8 | Ersatzteile für ENSIGN 12 | F016L11218
Hersteller: BOSCH
Artikelnummer: EB-F016L80184-F016L11218
nur Informationsartikel
Nie mehr lieferbar
keine Alternativen
Pos.
47
BOSCH Mutter 1/4 UNF | Ersatzteile für ENSIGN 12 | F016L06954
Hersteller: BOSCH
Artikelnummer: EB-F016L80184-F016L06954
nur Informationsartikel
Nie mehr lieferbar
keine Alternativen
Pos.
48
BOSCH Unterlegscheibe | Ersatzteile für ENSIGN 12 | F016L35379
Hersteller: BOSCH
Artikelnummer: EB-F016L80184-F016L35379
nur Informationsartikel
Nie mehr lieferbar
keine Alternativen
Pos.
49
BOSCH Halter | Ersatzteile für ENSIGN 12 | F016101067
Hersteller: BOSCH
Artikelnummer: EB-F016L80184-F016101067
nur Informationsartikel
Nie mehr lieferbar
keine Alternativen
Pos.
51
BOSCH Führungsplatte | Ersatzteile für ENSIGN 12 | F016L22220
Hersteller: BOSCH
Artikelnummer: EB-F016L80184-F016L22220
nur Informationsartikel
Nie mehr lieferbar
keine Alternativen
Pos.
52
BOSCH Klebeschild | Ersatzteile für ENSIGN 12 | F016L34900
Hersteller: BOSCH
Artikelnummer: EB-F016L80184-F016L34900
nur Informationsartikel
Nie mehr lieferbar
keine Alternativen
Pos.
53
BOSCH Klebeschild | Ersatzteile für ENSIGN 12 | F016L32789
Hersteller: BOSCH
Artikelnummer: EB-F016L80184-F016L32789
nur Informationsartikel
Nie mehr lieferbar
keine Alternativen
Pos.
301
BOSCH Handgriff | Ersatzteile für ENSIGN 12 | F016L34849
Hersteller: BOSCH
Artikelnummer: EB-F016L80184-F016L34849
nur Informationsartikel
Nie mehr lieferbar
keine Alternativen
Pos.
302
BOSCH Handgriff | Ersatzteile für ENSIGN 12 | F016101427
Hersteller: BOSCH
Artikelnummer: EB-F016L80184-F016101427
nur Informationsartikel
Nie mehr lieferbar
keine Alternativen
Pos.
303
BOSCH Tankdeckel PCL89/QX | Ersatzteile für ENSIGN 12 | F016L62783
Hersteller: BOSCH
Artikelnummer: EB-F016L80184-F016L62783
nur Informationsartikel
Nie mehr lieferbar
keine Alternativen
Pos.
304
BOSCH Gummi | Ersatzteile für ENSIGN 12 | F016L34854
Hersteller: BOSCH
Artikelnummer: EB-F016L80184-F016L34854
nur Informationsartikel
Nie mehr lieferbar
keine Alternativen
Pos.
305
BOSCH Tank | Ersatzteile für ENSIGN 12 | F016101426
Hersteller: BOSCH
Artikelnummer: EB-F016L80184-F016101426
nur Informationsartikel
Nie mehr lieferbar
keine Alternativen
Pos.
307
BOSCH Schraube M 4X30 | Ersatzteile für ENSIGN 12 | F016T40945
Hersteller: BOSCH
Artikelnummer: EB-F016L80184-F016T40945
nur Informationsartikel
Nie mehr lieferbar
keine Alternativen
Pos.
308
BOSCH Mutter | Ersatzteile für ENSIGN 12 | F016L11228
Hersteller: BOSCH
Artikelnummer: EB-F016L80184-F016L11228
nur Informationsartikel
Nie mehr lieferbar
keine Alternativen
Pos.
309
BOSCH Halter | Ersatzteile für ENSIGN 12 | F016103834
Hersteller: BOSCH
Artikelnummer: EB-F016L80184-F016103834
Netto: 7,26 € zzgl. MwSt.
zzgl. 6,90 € Versand (brutto)
einmalig pro Bestellung

Lieferzeit: 64 Werktage

Pos.
310
BOSCH Klemmbügel | Ersatzteile für ENSIGN 12 | F016L22592
Hersteller: BOSCH
Artikelnummer: EB-F016L80184-F016L22592
nur Informationsartikel
Nie mehr lieferbar
keine Alternativen
Pos.
311
BOSCH Kupplungshebel | Ersatzteile für ENSIGN 12 | F016L34872
Hersteller: BOSCH
Artikelnummer: EB-F016L80184-F016L34872
nur Informationsartikel
Nie mehr lieferbar
keine Alternativen
Pos.
312
BOSCH Laufbolzen 5/16 UNC X 1.1/18 | Ersatzteile für ENSIGN 12 | F016L08672
Hersteller: BOSCH
Artikelnummer: EB-F016L80184-F016L08672
nur Informationsartikel
Nie mehr lieferbar
keine Alternativen
Pos.
314
BOSCH Unterlegscheibe | Ersatzteile für ENSIGN 12 | F016T48727
Hersteller: BOSCH
Artikelnummer: EB-F016L80184-F016T48727
Netto: 4,56 € zzgl. MwSt.
zzgl. 6,90 € Versand (brutto)
einmalig pro Bestellung

Lieferzeit: 5 Werktage

Pos.
315
BOSCH Sicherungskappe Ø8 MM SCHWARZ | Ersatzteile für ENSIGN 12 | F016T48990
Hersteller: BOSCH
Artikelnummer: EB-F016L80184-F016T48990
Netto: 3,60 € zzgl. MwSt.
zzgl. 6,90 € Versand (brutto)
einmalig pro Bestellung

Lieferzeit: 5 Werktage

Pos.
316
BOSCH Mutter 5/16 UNC | Ersatzteile für ENSIGN 12 | F016L18016
Hersteller: BOSCH
Artikelnummer: EB-F016L80184-F016L18016
nur Informationsartikel
Nie mehr lieferbar
keine Alternativen
Pos.
317
BOSCH Schalthebel | Ersatzteile für ENSIGN 12 | F016L22758
Hersteller: BOSCH
Artikelnummer: EB-F016L80184-F016L22758
nur Informationsartikel
Nie mehr lieferbar
keine Alternativen
Pos.
318
BOSCH Laufbolzen | Ersatzteile für ENSIGN 12 | F016L07350
Hersteller: BOSCH
Artikelnummer: EB-F016L80184-F016L07350
nur Informationsartikel
Nie mehr lieferbar
keine Alternativen
Pos.
319
BOSCH Mutter | Ersatzteile für ENSIGN 12 | F016L07318
Hersteller: BOSCH
Artikelnummer: EB-F016L80184-F016L07318
nur Informationsartikel
Nie mehr lieferbar
keine Alternativen
Pos.
321
BOSCH Seilzug | Ersatzteile für ENSIGN 12 | F016L34897
Hersteller: BOSCH
Artikelnummer: EB-F016L80184-F016L34897
nur Informationsartikel
Nie mehr lieferbar
keine Alternativen
Pos.
322
BOSCH Kabelhalter | Ersatzteile für ENSIGN 12 | F016L11580
Hersteller: BOSCH
Artikelnummer: EB-F016L80184-F016L11580
nur Informationsartikel
Nie mehr lieferbar
keine Alternativen
Pos.
323
BOSCH Schraube | Ersatzteile für ENSIGN 12 | F016L32257
Hersteller: BOSCH
Artikelnummer: EB-F016L80184-F016L32257
nur Informationsartikel
Nie mehr lieferbar
keine Alternativen
Pos.
324
BOSCH Beilegring | Ersatzteile für ENSIGN 12 | F016L32527
Hersteller: BOSCH
Artikelnummer: EB-F016L80184-F016L32527
nur Informationsartikel
Nie mehr lieferbar
keine Alternativen
Pos.
325
BOSCH Unterlegscheibe | Ersatzteile für ENSIGN 12 | F016L35302
Hersteller: BOSCH
Artikelnummer: EB-F016L80184-F016L35302
Netto: 3,60 € zzgl. MwSt.
zzgl. 6,90 € Versand (brutto)
einmalig pro Bestellung

Lieferzeit: 5 Werktage

Pos.
326
BOSCH Ersatzteil | Ersatzteile für ENSIGN 12 | F016L22129
Hersteller: BOSCH
Artikelnummer: EB-F016L80184-F016L22129
nur Informationsartikel
Nie mehr lieferbar
keine Alternativen
Pos.
327
BOSCH Kraftstoffschlauch 24" | Ersatzteile für ENSIGN 12 | F016L32260
Hersteller: BOSCH
Artikelnummer: EB-F016L80184-F016L32260
nur Informationsartikel
Nie mehr lieferbar
keine Alternativen
Pos.
328
BOSCH Mutter | Ersatzteile für ENSIGN 12 | F016L18020
Hersteller: BOSCH
Artikelnummer: EB-F016L80184-F016L18020
Netto: 3,60 € zzgl. MwSt.
zzgl. 6,90 € Versand (brutto)
einmalig pro Bestellung

Lieferzeit: 5 Werktage

Pos.
329
BOSCH Schraube | Ersatzteile für ENSIGN 12 | F016L09313
Hersteller: BOSCH
Artikelnummer: EB-F016L80184-F016L09313
nur Informationsartikel
Nie mehr lieferbar
keine Alternativen
Pos.
330
BOSCH Seilzug | Ersatzteile für ENSIGN 12 | F016L22743
Hersteller: BOSCH
Artikelnummer: EB-F016L80184-F016L22743
nur Informationsartikel
Nie mehr lieferbar
keine Alternativen
Pos.
331
BOSCH Schneidring | Ersatzteile für ENSIGN 12 | F016L22692
Hersteller: BOSCH
Artikelnummer: EB-F016L80184-F016L22692
nur Informationsartikel
Nie mehr lieferbar
keine Alternativen
Pos.
332
BOSCH Griff | Ersatzteile für ENSIGN 12 | F016L11932
Hersteller: BOSCH
Artikelnummer: EB-F016L80184-F016L11932
nur Informationsartikel
Nie mehr lieferbar
keine Alternativen
Pos.
333
BOSCH Seil | Ersatzteile für ENSIGN 12 | F016L22664
Hersteller: BOSCH
Artikelnummer: EB-F016L80184-F016L22664
nur Informationsartikel
Nie mehr lieferbar
keine Alternativen
Pos.
334
BOSCH Klebeschild | Ersatzteile für ENSIGN 12 | F016L34855
Hersteller: BOSCH
Artikelnummer: EB-F016L80184-F016L34855
nur Informationsartikel
Nie mehr lieferbar
keine Alternativen
Pos.
335
BOSCH Klebeschild | Ersatzteile für ENSIGN 12 | F016L34899
Hersteller: BOSCH
Artikelnummer: EB-F016L80184-F016L34899
nur Informationsartikel
Nie mehr lieferbar
keine Alternativen
Pos.
336
BOSCH Schraube M6X35 | Ersatzteile für ENSIGN 12 | F016L22702
Hersteller: BOSCH
Artikelnummer: EB-F016L80184-F016L22702
Netto: 3,60 € zzgl. MwSt.
zzgl. 6,90 € Versand (brutto)
einmalig pro Bestellung

Lieferzeit: 5 Werktage

Pos.
337
BOSCH Sicherungsmutter M6 | Ersatzteile für ENSIGN 12 | F016L35388
Hersteller: BOSCH
Artikelnummer: EB-F016L80184-F016L35388
nur Informationsartikel
Nie mehr lieferbar
keine Alternativen
Pos.
401
BOSCH Sicherungsmutter | Ersatzteile für ENSIGN 12 | F016L06957
Hersteller: BOSCH
Artikelnummer: EB-F016L80184-F016L06957
nur Informationsartikel
Nie mehr lieferbar
keine Alternativen
Pos.
402
BOSCH Scheibe 7/8X33/64 X21G | Ersatzteile für ENSIGN 12 | F016L08474
Hersteller: BOSCH
Artikelnummer: EB-F016L80184-F016L08474
nur Informationsartikel
Nie mehr lieferbar
keine Alternativen
Pos.
403
BOSCH Scheibe | Ersatzteile für ENSIGN 12 | F016L08473
Hersteller: BOSCH
Artikelnummer: EB-F016L80184-F016L08473
nur Informationsartikel
Nie mehr lieferbar
keine Alternativen
Pos.
404
BOSCH Justierschraube | Ersatzteile für ENSIGN 12 | F016L22114
Hersteller: BOSCH
Artikelnummer: EB-F016L80184-F016L22114
Netto: 3,60 € zzgl. MwSt.
zzgl. 6,90 € Versand (brutto)
einmalig pro Bestellung

Lieferzeit: 5 Werktage

Pos.
406
BOSCH Lagerbuchse | Ersatzteile für ENSIGN 12 | F016L08536
Hersteller: BOSCH
Artikelnummer: EB-F016L80184-F016L08536
nur Informationsartikel
Nie mehr lieferbar
keine Alternativen
Pos.
407
BOSCH Lagerbuchse | Ersatzteile für ENSIGN 12 | F016L08537
Hersteller: BOSCH
Artikelnummer: EB-F016L80184-F016L08537
Netto: 10,62 € zzgl. MwSt.
zzgl. 6,90 € Versand (brutto)
einmalig pro Bestellung

Lieferzeit: 5 Werktage

Pos.
412
BOSCH Dichtung | Ersatzteile für ENSIGN 12 | F016L08472
Hersteller: BOSCH
Artikelnummer: EB-F016L80184-F016L08472
nur Informationsartikel
Nie mehr lieferbar
keine Alternativen
Pos.
413
BOSCH Transportschiene | Ersatzteile für ENSIGN 12 | F016L08722
Hersteller: BOSCH
Artikelnummer: EB-F016L80184-F016L08722
nur Informationsartikel
Nie mehr lieferbar
keine Alternativen
Pos.
414
BOSCH Unterlegscheibe | Ersatzteile für ENSIGN 12 | F016L17849
Hersteller: BOSCH
Artikelnummer: EB-F016L80184-F016L17849
Netto: 3,60 € zzgl. MwSt.
zzgl. 6,90 € Versand (brutto)
einmalig pro Bestellung

Lieferzeit: 5 Werktage

Pos.
415
BOSCH Feder | Ersatzteile für ENSIGN 12 | F016L23146
Hersteller: BOSCH
Artikelnummer: EB-F016L80184-F016L23146
Netto: 4,80 € zzgl. MwSt.
zzgl. 6,90 € Versand (brutto)
einmalig pro Bestellung

Lieferzeit: 5 Werktage

Pos.
417
BOSCH Maehspindel | Ersatzteile für ENSIGN 12 | F016100312
Hersteller: BOSCH
Artikelnummer: EB-F016L80184-F016100312
nur Informationsartikel
Nie mehr lieferbar
keine Alternativen
Pos.
418
BOSCH Konus | Ersatzteile für ENSIGN 12 | F016L18421
Hersteller: BOSCH
Artikelnummer: EB-F016L80184-F016L18421
nur Informationsartikel
Nie mehr lieferbar
keine Alternativen
Pos.
419
BOSCH Kugellager | Ersatzteile für ENSIGN 12 | F016L02968
Hersteller: BOSCH
Artikelnummer: EB-F016L80184-F016L02968
nur Informationsartikel
Nie mehr lieferbar
keine Alternativen
Pos.
420
BOSCH Schmiernippel | Ersatzteile für ENSIGN 12 | F016L06751
Hersteller: BOSCH
Artikelnummer: EB-F016L80184-F016L06751
nur Informationsartikel
Nie mehr lieferbar
keine Alternativen
Pos.
422
BOSCH Messdorn 1/8X3/4 | Ersatzteile für ENSIGN 12 | F016L09305
Hersteller: BOSCH
Artikelnummer: EB-F016L80184-F016L09305
nur Informationsartikel
Nie mehr lieferbar
keine Alternativen
Pos.
423
BOSCH Federscheibe | Ersatzteile für ENSIGN 12 | F016L35335
Hersteller: BOSCH
Artikelnummer: EB-F016L80184-F016L35335
Netto: 3,60 € zzgl. MwSt.
zzgl. 6,90 € Versand (brutto)
einmalig pro Bestellung

Lieferzeit: 5 Werktage

Pos.
424
BOSCH Konus | Ersatzteile für ENSIGN 12 | F016L07007
Hersteller: BOSCH
Artikelnummer: EB-F016L80184-F016L07007
nur Informationsartikel
Nie mehr lieferbar
keine Alternativen
Pos.
502
BOSCH Riemenscheibe | Ersatzteile für ENSIGN 12 | F016102067
Hersteller: BOSCH
Artikelnummer: EB-F016L80184-F016102067
nur Informationsartikel
Nie mehr lieferbar
keine Alternativen
Pos.
503
BOSCH Mutter | Ersatzteile für ENSIGN 12 | F016L18018
Hersteller: BOSCH
Artikelnummer: EB-F016L80184-F016L18018
nur Informationsartikel
Nie mehr lieferbar
keine Alternativen
Pos.
504
BOSCH Deckelblech | Ersatzteile für ENSIGN 12 | F016101420
Hersteller: BOSCH
Artikelnummer: EB-F016L80184-F016101420
nur Informationsartikel
Nie mehr lieferbar
keine Alternativen
Pos.
505
BOSCH Unterlegscheibe | Ersatzteile für ENSIGN 12 | F016L08451
Hersteller: BOSCH
Artikelnummer: EB-F016L80184-F016L08451
nur Informationsartikel
Nie mehr lieferbar
keine Alternativen
Pos.
506
BOSCH Buchse | Ersatzteile für ENSIGN 12 | F016L07034
Hersteller: BOSCH
Artikelnummer: EB-F016L80184-F016L07034
nur Informationsartikel
Nie mehr lieferbar
keine Alternativen
Pos.
507
BOSCH Rolle | Ersatzteile für ENSIGN 12 | F016101498
Hersteller: BOSCH
Artikelnummer: EB-F016L80184-F016101498
nur Informationsartikel
Nie mehr lieferbar
keine Alternativen
Pos.
508
BOSCH Spindel | Ersatzteile für ENSIGN 12 | F016L08450
Hersteller: BOSCH
Artikelnummer: EB-F016L80184-F016L08450
nur Informationsartikel
Nie mehr lieferbar
keine Alternativen
Pos.
509
BOSCH Federscheibe | Ersatzteile für ENSIGN 12 | F016L18028
Hersteller: BOSCH
Artikelnummer: EB-F016L80184-F016L18028
Netto: 3,60 € zzgl. MwSt.
zzgl. 6,90 € Versand (brutto)
einmalig pro Bestellung

Lieferzeit: 5 Werktage

Pos.
510
BOSCH Ersatzteil | Ersatzteile für ENSIGN 12 | F016L11993
Hersteller: BOSCH
Artikelnummer: EB-F016L80184-F016L11993
nur Informationsartikel
Nie mehr lieferbar
keine Alternativen
Pos.
511
BOSCH Lagerbuchse | Ersatzteile für ENSIGN 12 | F016L08477
Hersteller: BOSCH
Artikelnummer: EB-F016L80184-F016L08477
nur Informationsartikel
Nie mehr lieferbar
keine Alternativen
Pos.
512
BOSCH Scheibe | Ersatzteile für ENSIGN 12 | F016L18024
Hersteller: BOSCH
Artikelnummer: EB-F016L80184-F016L18024
nur Informationsartikel
Nie mehr lieferbar
keine Alternativen
Pos.
513
BOSCH Unterlegscheibe | Ersatzteile für ENSIGN 12 | F016L09614
Hersteller: BOSCH
Artikelnummer: EB-F016L80184-F016L09614
nur Informationsartikel
Nie mehr lieferbar
keine Alternativen
Pos.
601
BOSCH Lagerbuchse | Ersatzteile für ENSIGN 12 | F016L07771
Hersteller: BOSCH
Artikelnummer: EB-F016L80184-F016L07771
nur Informationsartikel
Nie mehr lieferbar
keine Alternativen
Pos.
602
BOSCH Federscheibe | Ersatzteile für ENSIGN 12 | F016L13288
Hersteller: BOSCH
Artikelnummer: EB-F016L80184-F016L13288
nur Informationsartikel
Nie mehr lieferbar
keine Alternativen
Pos.
603
BOSCH Rollenträger | Ersatzteile für ENSIGN 12 | F016L34856
Hersteller: BOSCH
Artikelnummer: EB-F016L80184-F016L34856
nur Informationsartikel
Nie mehr lieferbar
keine Alternativen
Pos.
604
BOSCH Mutter | Ersatzteile für ENSIGN 12 | F016L18728
Hersteller: BOSCH
Artikelnummer: EB-F016L80184-F016L18728
nur Informationsartikel
Nie mehr lieferbar
keine Alternativen
Pos.
605
BOSCH Justierschraube | Ersatzteile für ENSIGN 12 | F016L37165
Hersteller: BOSCH
Artikelnummer: EB-F016L80184-F016L37165
nur Informationsartikel
Nie mehr lieferbar
keine Alternativen
Pos.
606
BOSCH Ersatzteil | Ersatzteile für ENSIGN 12 | F016101500
Hersteller: BOSCH
Artikelnummer: EB-F016L80184-F016101500
nur Informationsartikel
Nie mehr lieferbar
keine Alternativen
Pos.
608
BOSCH Laufbolzen M8X35 | Ersatzteile für ENSIGN 12 | F016L22809
Hersteller: BOSCH
Artikelnummer: EB-F016L80184-F016L22809
nur Informationsartikel
Nie mehr lieferbar
keine Alternativen
Pos.
611
BOSCH Spindel | Ersatzteile für ENSIGN 12 | F016L22411
Hersteller: BOSCH
Artikelnummer: EB-F016L80184-F016L22411
Netto: 11,58 € zzgl. MwSt.
zzgl. 6,90 € Versand (brutto)
einmalig pro Bestellung

Lieferzeit: 5 Werktage

Pos.
613
BOSCH Spezialmutter | Ersatzteile für ENSIGN 12 | F016L13910
Hersteller: BOSCH
Artikelnummer: EB-F016L80184-F016L13910
Netto: 6,75 € zzgl. MwSt.
zzgl. 6,90 € Versand (brutto)
einmalig pro Bestellung

Lieferzeit: 5 Werktage

Pos.
614
BOSCH Abstandshülse | Ersatzteile für ENSIGN 12 | F016L21958
Hersteller: BOSCH
Artikelnummer: EB-F016L80184-F016L21958
nur Informationsartikel
Nie mehr lieferbar
keine Alternativen
Pos.
615
BOSCH Laufrolle | Ersatzteile für ENSIGN 12 | F016L22149
Hersteller: BOSCH
Artikelnummer: EB-F016L80184-F016L22149
nur Informationsartikel
Nie mehr lieferbar
keine Alternativen
Pos.
616
BOSCH Manschette | Ersatzteile für ENSIGN 12 | F016L35047
Hersteller: BOSCH
Artikelnummer: EB-F016L80184-F016L35047
nur Informationsartikel
Nie mehr lieferbar
keine Alternativen
Pos.
618
BOSCH Unterlegscheibe | Ersatzteile für ENSIGN 12 | F016L13237
Hersteller: BOSCH
Artikelnummer: EB-F016L80184-F016L13237
nur Informationsartikel
Nie mehr lieferbar
keine Alternativen
Pos.
619
BOSCH Rolle | Ersatzteile für ENSIGN 12 | F016L34847
Hersteller: BOSCH
Artikelnummer: EB-F016L80184-F016L34847
nur Informationsartikel
Nie mehr lieferbar
keine Alternativen
Pos.
620
BOSCH Rechen 12" | Ersatzteile für ENSIGN 12 | F016101435
Hersteller: BOSCH
Artikelnummer: EB-F016L80184-F016101435
nur Informationsartikel
Nie mehr lieferbar
keine Alternativen
Pos.
621
BOSCH Unterlegscheibe 12,1X6,4X1,5 | Ersatzteile für ENSIGN 12 | F016L18129
Hersteller: BOSCH
Artikelnummer: EB-F016L80184-F016L18129
Netto: 3,60 € zzgl. MwSt.
zzgl. 6,90 € Versand (brutto)
einmalig pro Bestellung

Lieferzeit: 5 Werktage

Pos.
622
BOSCH Feder | Ersatzteile für ENSIGN 12 | F016L34867
Hersteller: BOSCH
Artikelnummer: EB-F016L80184-F016L34867
nur Informationsartikel
Nie mehr lieferbar
keine Alternativen
Pos.
623
BOSCH Ersatzteil | Ersatzteile für ENSIGN 12 | F016L34868
Hersteller: BOSCH
Artikelnummer: EB-F016L80184-F016L34868
nur Informationsartikel
Nie mehr lieferbar
keine Alternativen
Pos.
624
BOSCH Ratsche | Ersatzteile für ENSIGN 12 | F016L34869
Hersteller: BOSCH
Artikelnummer: EB-F016L80184-F016L34869
nur Informationsartikel
Nie mehr lieferbar
keine Alternativen
Pos.
625
BOSCH Knopf | Ersatzteile für ENSIGN 12 | F016L34870
Hersteller: BOSCH
Artikelnummer: EB-F016L80184-F016L34870
nur Informationsartikel
Nie mehr lieferbar
keine Alternativen
Pos.
626
BOSCH Feder | Ersatzteile für ENSIGN 12 | F016L34871
Hersteller: BOSCH
Artikelnummer: EB-F016L80184-F016L34871
nur Informationsartikel
Nie mehr lieferbar
keine Alternativen
Pos.
629
BOSCH Manschette 34.9MM | Ersatzteile für ENSIGN 12 | F016L35050
Hersteller: BOSCH
Artikelnummer: EB-F016L80184-F016L35050
nur Informationsartikel
Nie mehr lieferbar
keine Alternativen
Pos.
630
BOSCH Radsatz | Ersatzteile für ENSIGN 12 | F016L35051
Hersteller: BOSCH
Artikelnummer: EB-F016L80184-F016L35051
nur Informationsartikel
Nie mehr lieferbar
keine Alternativen
Pos.
701
BOSCH Scheibenfeder | Ersatzteile für ENSIGN 12 | F016L03845
Hersteller: BOSCH
Artikelnummer: EB-F016L80184-F016L03845
nur Informationsartikel
Nie mehr lieferbar
keine Alternativen
Pos.
702
BOSCH Schraube | Ersatzteile für ENSIGN 12 | F016L03846
Hersteller: BOSCH
Artikelnummer: EB-F016L80184-F016L03846
nur Informationsartikel
Nie mehr lieferbar
keine Alternativen
Pos.
703
BOSCH Kupplungsscheibe | Ersatzteile für ENSIGN 12 | F016101496
Hersteller: BOSCH
Artikelnummer: EB-F016L80184-F016101496
Netto: 12,50 € zzgl. MwSt.
zzgl. 6,90 € Versand (brutto)
einmalig pro Bestellung

Lieferzeit: 5 Werktage

Pos.
704
BOSCH Bolzen | Ersatzteile für ENSIGN 12 | F016L08810
Hersteller: BOSCH
Artikelnummer: EB-F016L80184-F016L08810
nur Informationsartikel
Nie mehr lieferbar
keine Alternativen
Pos.
705
BOSCH Bremsbelag | Ersatzteile für ENSIGN 12 | F016L08708
Hersteller: BOSCH
Artikelnummer: EB-F016L80184-F016L08708
nur Informationsartikel
Nie mehr lieferbar
keine Alternativen
Pos.
706
BOSCH Feder | Ersatzteile für ENSIGN 12 | F016L08712
Hersteller: BOSCH
Artikelnummer: EB-F016L80184-F016L08712
nur Informationsartikel
Nie mehr lieferbar
keine Alternativen
Pos.
707
BOSCH Buchse | Ersatzteile für ENSIGN 12 | F016L12222
Hersteller: BOSCH
Artikelnummer: EB-F016L80184-F016L12222
nur Informationsartikel
Nie mehr lieferbar
keine Alternativen
Pos.
708
BOSCH Kupplung | Ersatzteile für ENSIGN 12 | F016101497
Hersteller: BOSCH
Artikelnummer: EB-F016L80184-F016101497
Netto: 42,08 € zzgl. MwSt.
zzgl. 6,90 € Versand (brutto)
einmalig pro Bestellung

Lieferzeit: 5 Werktage

Pos.
709
BOSCH Scheibe | Ersatzteile für ENSIGN 12 | F016L08499
Hersteller: BOSCH
Artikelnummer: EB-F016L80184-F016L08499
nur Informationsartikel
Nie mehr lieferbar
keine Alternativen
Pos.
711
BOSCH Rückhalteblech | Ersatzteile für ENSIGN 12 | F016100008
Hersteller: BOSCH
Artikelnummer: EB-F016L80184-F016100008
nur Informationsartikel
Nie mehr lieferbar
keine Alternativen
Pos.
712
BOSCH Lager | Ersatzteile für ENSIGN 12 | F016L08501
Hersteller: BOSCH
Artikelnummer: EB-F016L80184-F016L08501
nur Informationsartikel
Nie mehr lieferbar
keine Alternativen
Pos.
713
BOSCH Scheibe | Ersatzteile für ENSIGN 12 | F016L08500
Hersteller: BOSCH
Artikelnummer: EB-F016L80184-F016L08500
nur Informationsartikel
Nie mehr lieferbar
keine Alternativen
Pos.
714
BOSCH Kettenrad | Ersatzteile für ENSIGN 12 | F016L08717
Hersteller: BOSCH
Artikelnummer: EB-F016L80184-F016L08717
nur Informationsartikel
Nie mehr lieferbar
keine Alternativen
Pos.
715
BOSCH Sicherungsmutter 1/2 UNF | Ersatzteile für ENSIGN 12 | F016L08388
Hersteller: BOSCH
Artikelnummer: EB-F016L80184-F016L08388
Netto: 3,60 € zzgl. MwSt.
zzgl. 6,90 € Versand (brutto)
einmalig pro Bestellung

Lieferzeit: 5 Werktage

Pos.
716
BOSCH Filzstreifen | Ersatzteile für ENSIGN 12 | F016L08503
Hersteller: BOSCH
Artikelnummer: EB-F016L80184-F016L08503
Netto: 3,60 € zzgl. MwSt.
zzgl. 6,90 € Versand (brutto)
einmalig pro Bestellung

Lieferzeit: 5 Werktage

Pos.
717
BOSCH Stellring | Ersatzteile für ENSIGN 12 | F016T48549
Hersteller: BOSCH
Artikelnummer: EB-F016L80184-F016T48549
nur Informationsartikel
Nie mehr lieferbar
keine Alternativen

Angaben zur Produktsicherheit

Hersteller:
Robert Bosch Power Tools GmbH
Postfach 30 02 20
70442 Stuttgart

E-Mail:
kontakt@bosch.de