BOSCH Rillenkugellager | Ersatzteile für GBR 14 CA | 160090003C

Artikelnummer: EB-0601773741-160090003C

Position: 156

Marke: BOSCH


Bitte Kompatibilität prüfen!

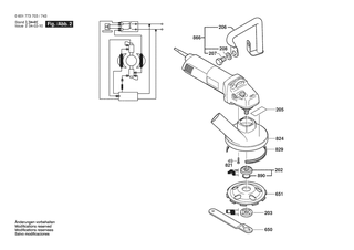
Bitte prüfen Sie unbedingt die 10-stellige Typennummer Ihrer Maschine / Ihres Gerätes. Das Ersatzteil ist nur kompatibel, wenn Sie die Typennummer Ihrer Maschine in der unten stehenden Produktbeschreibung finden.

Bitte prüfen Sie ebenfalls detailliert die Explosionszeichnung mit Ihrem Artikelwunsch und der jeweiligen Pos-Nummer.

Alle Elemente, welche vom schwarzen Strich der Pos-Nummer ausgehend berührt / erfasst werden, gehören zu dieser Pos-Nummer und somit zu diesem Artikel. Jede Pos-Nummer ist ein eigenständiger Artikel, welchen Sie in der Auflistung finden.

Sie erhalten stets die aktuellste, neueste Produktversion zu der gewählten Pos-Nummer seitens des Herstellers. Es kann daher je nach Gerätealter vorkommen, dass Sie ggf. weitere, zugehörige Elemente, welche an diese Pos-Nummer grenzen, ebenfalls mittauschen müssen.

Nähere Informationen finden Sie unter dem Link
Hinweise zu Ihrer BOSCH Ersatzteilsuche

Preisübersicht

Einzelpreis: 6,15 €* (Brutto: 7,32 €)
Gesamtpreis: 6,15 €* 
Position:

Lieferzeit: 5 Werktage


Beschreibung

  • Rillenkugellager
  • Original Bosch Zubehör / BOSCH Ersatzteil (160090003C)
  • im Gerät verbaut: 1
Dieses BOSCH Ersatzteil ist mit folgendem Gerät und Modell kompatibel:
  • BOSCH Gerätename: GBR 14 CA
  • BOSCH Explosionszeichnung: Position 156
  • BOSCH Typennummer: 0601773741
  • BOSCH Typennummer alternative Schreibweisen: 0 601 773 741, 0601 773 741, 0.601.773.741, 0-601-773-741
    Bitte prüfen Sie diese Typennummer auf Ihrem Gerät um die Kompatibilität des BOSCH Ersatzteils zu gewährleisten.
Weitere BOSCH Ersatzteile des Gerätes GBR 14 CA (Betonschleifer) mit der Typennummer 0601773741 finden Sie in der nachfolgenden Darstellung und im Dropdown zu Ihrer Auswahl:

Pos.
2
BOSCH Polschuh 100-120V | Ersatzteile für GBR 14 CA | 1604220307
Hersteller: BOSCH
Artikelnummer: EB-0601773741-1604220307
Netto: 28,45 € zzgl. MwSt.
zzgl. 6,90 € Versand (brutto)
einmalig pro Bestellung

Lieferzeit: 5 Werktage

Pos.
4
BOSCH Schalter | Ersatzteile für GBR 14 CA | 1607200150
Hersteller: BOSCH
Artikelnummer: EB-0601773741-1607200150
Netto: 17,38 € zzgl. MwSt.
zzgl. 6,90 € Versand (brutto)
einmalig pro Bestellung

Lieferzeit: 5 Werktage

Pos.
5
BOSCH Netzanschlussleitung GB 110V 4,15m 2 x 1,5mm H07RN-F | Ersatzteile für GBR 14 CA | 1604460203
Hersteller: BOSCH
Artikelnummer: EB-0601773741-1604460203
Netto: 29,45 € zzgl. MwSt.
zzgl. 6,90 € Versand (brutto)
einmalig pro Bestellung

Lieferzeit: 5 Werktage

Pos.
6
BOSCH Tülle Ø8,3-Ø9,4x95 MM | Ersatzteile für GBR 14 CA | 2600703011
Hersteller: BOSCH
Artikelnummer: EB-0601773741-2600703011
Netto: 4,82 € zzgl. MwSt.
zzgl. 6,90 € Versand (brutto)
einmalig pro Bestellung

Lieferzeit: 5 Werktage

Pos.
7
BOSCH Befestigungsschelle | Ersatzteile für GBR 14 CA | 1601302017
Hersteller: BOSCH
Artikelnummer: EB-0601773741-1601302017
Netto: 3,63 € zzgl. MwSt.
zzgl. 6,90 € Versand (brutto)
einmalig pro Bestellung

Lieferzeit: 5 Werktage

Pos.
9
BOSCH Firmenschild | Ersatzteile für GBR 14 CA | 1601118891
Hersteller: BOSCH
Artikelnummer: EB-0601773741-1601118891
Netto: 5,67 € zzgl. MwSt.
zzgl. 6,90 € Versand (brutto)
einmalig pro Bestellung

Lieferzeit: 5 Werktage

Pos.
12
BOSCH Entstörfilter | Ersatzteile für GBR 14 CA | 1607328042
Hersteller: BOSCH
Artikelnummer: EB-0601773741-1607328042
Netto: 7,30 € zzgl. MwSt.
zzgl. 6,90 € Versand (brutto)
einmalig pro Bestellung

Lieferzeit: 5 Werktage

Pos.
13
BOSCH Rillenkugellager 7x19x6 | Ersatzteile für GBR 14 CA | 1610905025
Hersteller: BOSCH
Artikelnummer: EB-0601773741-1610905025
Netto: 7,30 € zzgl. MwSt.
zzgl. 6,90 € Versand (brutto)
einmalig pro Bestellung

Lieferzeit: 5 Werktage

Pos.
14
BOSCH Rillenkugellager 8x22x7 | Ersatzteile für GBR 14 CA | 1600905032
Hersteller: BOSCH
Artikelnummer: EB-0601773741-1600905032
Netto: 6,70 € zzgl. MwSt.
zzgl. 6,90 € Versand (brutto)
einmalig pro Bestellung

Lieferzeit: 5 Werktage

Pos.
25
BOSCH Gehäusedeckel BLAU | Ersatzteile für GBR 14 CA | 1600508016
Hersteller: BOSCH
Artikelnummer: EB-0601773741-1600508016
Netto: 7,30 € zzgl. MwSt.
zzgl. 6,90 € Versand (brutto)
einmalig pro Bestellung

Lieferzeit: 5 Werktage

Pos.
26
BOSCH Gummiring | Ersatzteile für GBR 14 CA | 1600206036
Hersteller: BOSCH
Artikelnummer: EB-0601773741-1600206036
Netto: 3,94 € zzgl. MwSt.
zzgl. 6,90 € Versand (brutto)
einmalig pro Bestellung

Lieferzeit: 5 Werktage

Pos.
27
BOSCH Gummiring | Ersatzteile für GBR 14 CA | 1600206025
Hersteller: BOSCH
Artikelnummer: EB-0601773741-1600206025
Netto: 4,32 € zzgl. MwSt.
zzgl. 6,90 € Versand (brutto)
einmalig pro Bestellung

Lieferzeit: 5 Werktage

Pos.
29
BOSCH Luftleitring | Ersatzteile für GBR 14 CA | 1600591025
Hersteller: BOSCH
Artikelnummer: EB-0601773741-1600591025
Netto: 4,53 € zzgl. MwSt.
zzgl. 6,90 € Versand (brutto)
einmalig pro Bestellung

Lieferzeit: 5 Werktage

Pos.
30
BOSCH Luftleitring | Ersatzteile für GBR 14 CA | 1600591014
Hersteller: BOSCH
Artikelnummer: EB-0601773741-1600591014
Netto: 4,53 € zzgl. MwSt.
zzgl. 6,90 € Versand (brutto)
einmalig pro Bestellung

Lieferzeit: 5 Werktage

Pos.
32
BOSCH Schleifspindel M14 | Ersatzteile für GBR 14 CA | 3603523041
Hersteller: BOSCH
Artikelnummer: EB-0601773741-3603523041
Netto: 35,77 € zzgl. MwSt.
zzgl. 6,90 € Versand (brutto)
einmalig pro Bestellung

Lieferzeit: 5 Werktage

Pos.
33
BOSCH O-Ring 46,0x1,1 MM ROT | Ersatzteile für GBR 14 CA | 3600210124
Hersteller: BOSCH
Artikelnummer: EB-0601773741-3600210124
Netto: 4,82 € zzgl. MwSt.
zzgl. 6,90 € Versand (brutto)
einmalig pro Bestellung

Lieferzeit: 5 Werktage

Pos.
35
BOSCH Ausgleichscheibe 0,1 MM DICK | Ersatzteile für GBR 14 CA | 1600136013
Hersteller: BOSCH
Artikelnummer: EB-0601773741-1600136013
Netto: 4,53 € zzgl. MwSt.
zzgl. 6,90 € Versand (brutto)
einmalig pro Bestellung

Lieferzeit: 5 Werktage

Pos.
35
BOSCH Ausgleichscheibe 0,15 MM DICK | Ersatzteile für GBR 14 CA | 1600136020
Hersteller: BOSCH
Artikelnummer: EB-0601773741-1600136020
Netto: 5,19 € zzgl. MwSt.
zzgl. 6,90 € Versand (brutto)
einmalig pro Bestellung

Lieferzeit: 5 Werktage

Pos.
35
BOSCH Ausgleichscheibe 0,2 MM DICK | Ersatzteile für GBR 14 CA | 1600136014
Hersteller: BOSCH
Artikelnummer: EB-0601773741-1600136014
Netto: 4,53 € zzgl. MwSt.
zzgl. 6,90 € Versand (brutto)
einmalig pro Bestellung

Lieferzeit: 5 Werktage

Pos.
35
BOSCH Ausgleichscheibe 0,3 MM DICK | Ersatzteile für GBR 14 CA | 1600136015
Hersteller: BOSCH
Artikelnummer: EB-0601773741-1600136015
Netto: 4,53 € zzgl. MwSt.
zzgl. 6,90 € Versand (brutto)
einmalig pro Bestellung

Lieferzeit: 5 Werktage

Pos.
37
BOSCH Radial-Wellendichtring | Ersatzteile für GBR 14 CA | 1600290016
Hersteller: BOSCH
Artikelnummer: EB-0601773741-1600290016
Netto: 4,53 € zzgl. MwSt.
zzgl. 6,90 € Versand (brutto)
einmalig pro Bestellung

Lieferzeit: 5 Werktage

Pos.
40
BOSCH Sicherungsbügel | Ersatzteile für GBR 14 CA | 1600119011
Hersteller: BOSCH
Artikelnummer: EB-0601773741-1600119011
Netto: 4,32 € zzgl. MwSt.
zzgl. 6,90 € Versand (brutto)
einmalig pro Bestellung

Lieferzeit: 5 Werktage

Pos.
41
BOSCH Nadelhülse Ø8xØ12x8 MM | Ersatzteile für GBR 14 CA | 1600910018
Hersteller: BOSCH
Artikelnummer: EB-0601773741-1600910018
Netto: 6,15 € zzgl. MwSt.
zzgl. 6,90 € Versand (brutto)
einmalig pro Bestellung

Lieferzeit: 5 Werktage

Pos.
45
BOSCH Sechskantmutter M7, SW10 | Ersatzteile für GBR 14 CA | 1603300016
Hersteller: BOSCH
Artikelnummer: EB-0601773741-1603300016
Netto: 3,94 € zzgl. MwSt.
zzgl. 6,90 € Versand (brutto)
einmalig pro Bestellung

Lieferzeit: 5 Werktage

Pos.
47
BOSCH Kunststoffschneidschraube St3,9x12 | Ersatzteile für GBR 14 CA | 1603435042
Hersteller: BOSCH
Artikelnummer: EB-0601773741-1603435042
Netto: 3,94 € zzgl. MwSt.
zzgl. 6,90 € Versand (brutto)
einmalig pro Bestellung

Lieferzeit: 5 Werktage

Pos.
49
BOSCH Torx-Linsenschraube | Ersatzteile für GBR 14 CA | 3603435047
Hersteller: BOSCH
Artikelnummer: EB-0601773741-3603435047
Netto: 4,53 € zzgl. MwSt.
zzgl. 6,90 € Versand (brutto)
einmalig pro Bestellung

Lieferzeit: 5 Werktage

Pos.
50
BOSCH Blechschraube DIN7981-ST3,9x19-F-Z | Ersatzteile für GBR 14 CA | 2912401420
Hersteller: BOSCH
Artikelnummer: EB-0601773741-2912401420
Netto: 3,63 € zzgl. MwSt.
zzgl. 6,90 € Versand (brutto)
einmalig pro Bestellung

Lieferzeit: 5 Werktage

Pos.
51
BOSCH Drehzahlregler 100-120V | Ersatzteile für GBR 14 CA | 1607233149
Hersteller: BOSCH
Artikelnummer: EB-0601773741-1607233149
Netto: 42,86 € zzgl. MwSt.
zzgl. 6,90 € Versand (brutto)
einmalig pro Bestellung

Lieferzeit: 5 Werktage

Pos.
52
BOSCH Lichtleiter | Ersatzteile für GBR 14 CA | 3604460117
Hersteller: BOSCH
Artikelnummer: EB-0601773741-3604460117
Netto: 4,82 € zzgl. MwSt.
zzgl. 6,90 € Versand (brutto)
einmalig pro Bestellung

Lieferzeit: 5 Werktage

Pos.
53
BOSCH Verbindungsleitung L=50 MM WEISS | Ersatzteile für GBR 14 CA | 3604438020
Hersteller: BOSCH
Artikelnummer: EB-0601773741-3604438020
Netto: 5,19 € zzgl. MwSt.
zzgl. 6,90 € Versand (brutto)
einmalig pro Bestellung

Lieferzeit: 5 Werktage

Pos.
55
BOSCH Torx-Linsenschraube | Ersatzteile für GBR 14 CA | 1603435078
Hersteller: BOSCH
Artikelnummer: EB-0601773741-1603435078
Netto: 3,63 € zzgl. MwSt.
zzgl. 6,90 € Versand (brutto)
einmalig pro Bestellung

Lieferzeit: 5 Werktage

Pos.
70
BOSCH Abdeckscheibe | Ersatzteile für GBR 14 CA | 3600150023
Hersteller: BOSCH
Artikelnummer: EB-0601773741-3600150023
Netto: 4,82 € zzgl. MwSt.
zzgl. 6,90 € Versand (brutto)
einmalig pro Bestellung

Lieferzeit: 5 Werktage

Pos.
81
BOSCH Ausgleichscheibe 0,2 MM | Ersatzteile für GBR 14 CA | 2600101022
Hersteller: BOSCH
Artikelnummer: EB-0601773741-2600101022
Netto: 3,94 € zzgl. MwSt.
zzgl. 6,90 € Versand (brutto)
einmalig pro Bestellung

Lieferzeit: 5 Werktage

Pos.
104
BOSCH O-Ring 4,0x1,0 MM | Ersatzteile für GBR 14 CA | 1600210034
Hersteller: BOSCH
Artikelnummer: EB-0601773741-1600210034
Netto: 3,94 € zzgl. MwSt.
zzgl. 6,90 € Versand (brutto)
einmalig pro Bestellung

Lieferzeit: 5 Werktage

Pos.
105
BOSCH Isolierplatte | Ersatzteile für GBR 14 CA | 1601008005
Hersteller: BOSCH
Artikelnummer: EB-0601773741-1601008005
Netto: 6,15 € zzgl. MwSt.
zzgl. 6,90 € Versand (brutto)
einmalig pro Bestellung

Lieferzeit: 5 Werktage

Pos.
154
BOSCH Distanzrohr | Ersatzteile für GBR 14 CA | 3600913010
Hersteller: BOSCH
Artikelnummer: EB-0601773741-3600913010
Netto: 6,70 € zzgl. MwSt.
zzgl. 6,90 € Versand (brutto)
einmalig pro Bestellung

Lieferzeit: 5 Werktage

Pos.
155
BOSCH Sicherungsbügel DIN 472-32x1,2 MM | Ersatzteile für GBR 14 CA | 2916660013
Hersteller: BOSCH
Artikelnummer: EB-0601773741-2916660013
Netto: 4,32 € zzgl. MwSt.
zzgl. 6,90 € Versand (brutto)
einmalig pro Bestellung

Lieferzeit: 5 Werktage

Pos.
156
BOSCH Rillenkugellager 12x32x10 | Ersatzteile für GBR 14 CA | 3600905130
Hersteller: BOSCH
Artikelnummer: EB-0601773741-3600905130
nur Informationsartikel
Nie mehr lieferbar
keine Alternativen
Pos.
157
BOSCH Dichtring | Ersatzteile für GBR 14 CA | 3600105009
Hersteller: BOSCH
Artikelnummer: EB-0601773741-3600105009
Netto: 7,30 € zzgl. MwSt.
zzgl. 6,90 € Versand (brutto)
einmalig pro Bestellung

Lieferzeit: 5 Werktage

Pos.
202
BOSCH Aufspannflansch Ø22,3xØ42 MM | Ersatzteile für GBR 14 CA | 2605703014
Hersteller: BOSCH
Artikelnummer: EB-0601773741-2605703014
nur Informationsartikel
Nie mehr lieferbar
keine Alternativen
Pos.
203
BOSCH Rundmutter M14 | Ersatzteile für GBR 14 CA | 1603345043
Hersteller: BOSCH
Artikelnummer: EB-0601773741-1603345043
Netto: 8,33 € zzgl. MwSt.
zzgl. 6,90 € Versand (brutto)
einmalig pro Bestellung

Lieferzeit: 5 Werktage

Pos.
205
BOSCH Hinweisschild | Ersatzteile für GBR 14 CA | 3601119236
Hersteller: BOSCH
Artikelnummer: EB-0601773741-3601119236
Netto: 5,19 € zzgl. MwSt.
zzgl. 6,90 € Versand (brutto)
einmalig pro Bestellung

Lieferzeit: 5 Werktage

Pos.
206
BOSCH Bügelgriff | Ersatzteile für GBR 14 CA | 3601303016
Hersteller: BOSCH
Artikelnummer: EB-0601773741-3601303016
Netto: 57,47 € zzgl. MwSt.
zzgl. 6,90 € Versand (brutto)
einmalig pro Bestellung

Lieferzeit: 5 Werktage

Pos.
207
BOSCH Sechskantschraube DIN 933 M10x16-8.8 | Ersatzteile für GBR 14 CA | 2911061285
Hersteller: BOSCH
Artikelnummer: EB-0601773741-2911061285
Netto: 4,32 € zzgl. MwSt.
zzgl. 6,90 € Versand (brutto)
einmalig pro Bestellung

Lieferzeit: 5 Werktage

Pos.
208
BOSCH Unterlegscheibe DIN 125-A10,5-ST | Ersatzteile für GBR 14 CA | 2916011017
Hersteller: BOSCH
Artikelnummer: EB-0601773741-2916011017
Netto: 3,94 € zzgl. MwSt.
zzgl. 6,90 € Versand (brutto)
einmalig pro Bestellung

Lieferzeit: 5 Werktage

Pos.
301/1
BOSCH Motorgehäuse BLAU | Ersatzteile für GBR 14 CA | 1605108208
Hersteller: BOSCH
Artikelnummer: EB-0601773741-1605108208
Netto: 9,95 € zzgl. MwSt.
zzgl. 6,90 € Versand (brutto)
einmalig pro Bestellung

Lieferzeit: 5 Werktage

Pos.
301/16
BOSCH Bürstenhalter | Ersatzteile für GBR 14 CA | 1601323025
Hersteller: BOSCH
Artikelnummer: EB-0601773741-1601323025
Netto: 4,82 € zzgl. MwSt.
zzgl. 6,90 € Versand (brutto)
einmalig pro Bestellung

Lieferzeit: 5 Werktage

Pos.
301/17
BOSCH Spiralfeder | Ersatzteile für GBR 14 CA | 1604652013
Hersteller: BOSCH
Artikelnummer: EB-0601773741-1604652013
Netto: 3,94 € zzgl. MwSt.
zzgl. 6,90 € Versand (brutto)
einmalig pro Bestellung

Lieferzeit: 5 Werktage

Pos.
301/18
BOSCH Schaltergriff SCHWARZ | Ersatzteile für GBR 14 CA | 1602026057
Hersteller: BOSCH
Artikelnummer: EB-0601773741-1602026057
Netto: 3,94 € zzgl. MwSt.
zzgl. 6,90 € Versand (brutto)
einmalig pro Bestellung

Lieferzeit: 5 Werktage

Pos.
301/19
BOSCH Druckfeder | Ersatzteile für GBR 14 CA | 1604611026
Hersteller: BOSCH
Artikelnummer: EB-0601773741-1604611026
Netto: 3,63 € zzgl. MwSt.
zzgl. 6,90 € Versand (brutto)
einmalig pro Bestellung

Lieferzeit: 5 Werktage

Pos.
301/20
BOSCH Verstellschieber | Ersatzteile für GBR 14 CA | 1602319011
Hersteller: BOSCH
Artikelnummer: EB-0601773741-1602319011
Netto: 3,94 € zzgl. MwSt.
zzgl. 6,90 € Versand (brutto)
einmalig pro Bestellung

Lieferzeit: 5 Werktage

Pos.
301/48
BOSCH Blechschraube DIN7981-ST2,9x9,5C-Z | Ersatzteile für GBR 14 CA | 2912401005
Hersteller: BOSCH
Artikelnummer: EB-0601773741-2912401005
Netto: 3,63 € zzgl. MwSt.
zzgl. 6,90 € Versand (brutto)
einmalig pro Bestellung

Lieferzeit: 5 Werktage

Pos.
650
BOSCH Zweilochmutterndreher | Ersatzteile für GBR 14 CA | 3607950017
Hersteller: BOSCH
Artikelnummer: EB-0601773741-3607950017
Netto: 12,98 € zzgl. MwSt.
zzgl. 6,90 € Versand (brutto)
einmalig pro Bestellung

Lieferzeit: 5 Werktage

Pos.
651
BOSCH Topfschleifscheibe Ø 125 MM | Ersatzteile für GBR 14 CA | 3608600008
Hersteller: BOSCH
Artikelnummer: EB-0601773741-3608600008
Netto: 244,74 € zzgl. MwSt.
zzgl. 6,90 € Versand (brutto)
einmalig pro Bestellung

Lieferzeit: 5 Werktage

Pos.
803
BOSCH Anker 100-120V | Ersatzteile für GBR 14 CA | 1604010651
Hersteller: BOSCH
Artikelnummer: EB-0601773741-1604010651
Netto: 70,50 € zzgl. MwSt.
zzgl. 6,90 € Versand (brutto)
einmalig pro Bestellung

Lieferzeit: 5 Werktage

Pos.
808
BOSCH Typschild | Ersatzteile für GBR 14 CA | 160111A3H3
Hersteller: BOSCH
Artikelnummer: EB-0601773741-160111A3H3
Netto: 4,53 € zzgl. MwSt.
zzgl. 6,90 € Versand (brutto)
einmalig pro Bestellung

Lieferzeit: 5 Werktage

Pos.
808
BOSCH Typschild 26x52 MM | Ersatzteile für GBR 14 CA | 1601106032
Hersteller: BOSCH
Artikelnummer: EB-0601773741-1601106032
nur Informationsartikel
Nie mehr lieferbar
keine Alternativen
Pos.
810
BOSCH Kohlebürstensatz | Ersatzteile für GBR 14 CA | 3607014011
Hersteller: BOSCH
Artikelnummer: EB-0601773741-3607014011
Netto: 19,18 € zzgl. MwSt.
zzgl. 6,90 € Versand (brutto)
einmalig pro Bestellung

Lieferzeit: 5 Werktage

Pos.
821
BOSCH Getriebegehäuse | Ersatzteile für GBR 14 CA | 16058065B1
Hersteller: BOSCH
Artikelnummer: EB-0601773741-16058065B1
Netto: 32,74 € zzgl. MwSt.
zzgl. 6,90 € Versand (brutto)
einmalig pro Bestellung

Lieferzeit: 5 Werktage

Pos.
824
BOSCH Absaughaube | Ersatzteile für GBR 14 CA | 3605510040
Hersteller: BOSCH
Artikelnummer: EB-0601773741-3605510040
Netto: 26,88 € zzgl. MwSt.
zzgl. 6,90 € Versand (brutto)
einmalig pro Bestellung

Lieferzeit: 5 Werktage

Pos.
828
BOSCH Lagerflansch | Ersatzteile für GBR 14 CA | 3605700158
Hersteller: BOSCH
Artikelnummer: EB-0601773741-3605700158
Netto: 52,14 € zzgl. MwSt.
zzgl. 6,90 € Versand (brutto)
einmalig pro Bestellung

Lieferzeit: 5 Werktage

Pos.
829
BOSCH Streifenbürste | Ersatzteile für GBR 14 CA | 3600290054
Hersteller: BOSCH
Artikelnummer: EB-0601773741-3600290054
Netto: 10,92 € zzgl. MwSt.
zzgl. 6,90 € Versand (brutto)
einmalig pro Bestellung

Lieferzeit: 64 Werktage

Pos.
835
BOSCH Lüfter | Ersatzteile für GBR 14 CA | 1606610132
Hersteller: BOSCH
Artikelnummer: EB-0601773741-1606610132
Netto: 4,32 € zzgl. MwSt.
zzgl. 6,90 € Versand (brutto)
einmalig pro Bestellung

Lieferzeit: 5 Werktage

Pos.
840
BOSCH Druckknopf SCHWARZ | Ersatzteile für GBR 14 CA | 1607000253
Hersteller: BOSCH
Artikelnummer: EB-0601773741-1607000253
Netto: 4,32 € zzgl. MwSt.
zzgl. 6,90 € Versand (brutto)
einmalig pro Bestellung

Lieferzeit: 5 Werktage

Pos.
866
BOSCH Bügelgriff | Ersatzteile für GBR 14 CA | 3607031584
Hersteller: BOSCH
Artikelnummer: EB-0601773741-3607031584
Netto: 52,14 € zzgl. MwSt.
zzgl. 6,90 € Versand (brutto)
einmalig pro Bestellung

Lieferzeit: 5 Werktage

Pos.
890
BOSCH O-Ring 20,35x1,78 MM | Ersatzteile für GBR 14 CA | 1600210039
Hersteller: BOSCH
Artikelnummer: EB-0601773741-1600210039
Netto: 4,32 € zzgl. MwSt.
zzgl. 6,90 € Versand (brutto)
einmalig pro Bestellung

Lieferzeit: 5 Werktage

Pos.
899
BOSCH Silikondichtmasse SILASTIC 7091 | Ersatzteile für GBR 14 CA | 3605430011
Hersteller: BOSCH
Artikelnummer: EB-0601773741-3605430011
Netto: 21,16 € zzgl. MwSt.
zzgl. 6,90 € Versand (brutto)
einmalig pro Bestellung

Lieferzeit: 5 Werktage

Pos.
156
BOSCH Rillenkugellager | Ersatzteile für GBR 14 CA | 160090003C
Hersteller: BOSCH
Artikelnummer: EB-0601773741-160090003C
Netto: 6,15 € zzgl. MwSt.
zzgl. 6,90 € Versand (brutto)
einmalig pro Bestellung

Lieferzeit: 5 Werktage

Pos.
651
BOSCH Diamanttopfscheibe | Ersatzteile für GBR 14 CA | 3608600014
Hersteller: BOSCH
Artikelnummer: EB-0601773741-3608600014
Netto: 29,45 € zzgl. MwSt.
zzgl. 6,90 € Versand (brutto)
einmalig pro Bestellung

Lieferzeit: 5 Werktage

Pos.
838
BOSCH Getriebeeinheit | Ersatzteile für GBR 14 CA | 1600A0022W
Hersteller: BOSCH
Artikelnummer: EB-0601773741-1607000D4Y
Netto: 12,17 € zzgl. MwSt.
zzgl. 6,90 € Versand (brutto)
einmalig pro Bestellung

Lieferzeit: 5 Werktage

Angaben zur Produktsicherheit

Hersteller:
Robert Bosch Power Tools GmbH
Postfach 30 02 20
70442 Stuttgart

E-Mail:
kontakt@bosch.de