BOSCH GKS 18V-22L - 3601FC1110

Artikelnummer: EB-3601FC1110

Position:

Marke: BOSCH


Bitte Kompatibilität prüfen!

Bitte prüfen Sie unbedingt die 10-stellige Typennummer Ihrer Maschine / Ihres Gerätes. Das Ersatzteil ist nur kompatibel, wenn Sie die Typennummer Ihrer Maschine in der unten stehenden Produktbeschreibung finden.

Bitte prüfen Sie ebenfalls detailliert die Explosionszeichnung mit Ihrem Artikelwunsch und der jeweiligen Pos-Nummer.

Alle Elemente, welche vom schwarzen Strich der Pos-Nummer ausgehend berührt / erfasst werden, gehören zu dieser Pos-Nummer und somit zu diesem Artikel. Jede Pos-Nummer ist ein eigenständiger Artikel, welchen Sie in der Auflistung finden.

Sie erhalten stets die aktuellste, neueste Produktversion zu der gewählten Pos-Nummer seitens des Herstellers. Es kann daher je nach Gerätealter vorkommen, dass Sie ggf. weitere, zugehörige Elemente, welche an diese Pos-Nummer grenzen, ebenfalls mittauschen müssen.

Nähere Informationen finden Sie unter dem Link
Hinweise zu Ihrer BOSCH Ersatzteilsuche

Beschreibung

Die aufgelisteten BOSCH Ersatzteile sind mit folgendem Gerät und Modell kompatibel:

BOSCH Gerätename:GKS 18V-22L
BOSCH Typennummer:3601FC1110
alternative Schreibweisen:3 601 FC1 110, 3601 FC1 110, 3.601.FC1.110, 3-601-FC1-110

Bitte prüfen Sie die Typennummer auf Ihrem Gerät um die Kompatibilität des BOSCH Ersatzteils zu gewährleisten.

Die passenden Ersatzteile des BOSCH GKS 18V-22L (Akku-Kreissäge) mit der Typennummer 3601FC1110 finden Sie in der nachfolgenden Darstellung geordnet nach der Positionsnummern aus der Explosionszeichnung:

Pos.
1
BOSCH Motorgehäuse | Ersatzteile für GKS 18V-22L | 1619P16963
Hersteller: BOSCH
Artikelnummer: EB-3601FC1110-1619P16963
Netto: 6,15 € zzgl. MwSt.
zzgl. 6,90 € Versand (brutto)
einmalig pro Bestellung

Lieferzeit: 5 Werktage

Stück
Pos.
20/1
BOSCH Warnzettel | Ersatzteile für GKS 18V-22L | 1619P17635
Hersteller: BOSCH
Artikelnummer: EB-3601FC1110-1619P17635
Nie mehr lieferbar
keine Alternativen
Pos.
20/2
BOSCH Warnzettel | Ersatzteile für GKS 18V-22L | 1619P17632
Hersteller: BOSCH
Artikelnummer: EB-3601FC1110-1619P17632
Nie mehr lieferbar
keine Alternativen
Pos.
2
BOSCH Rotor | Ersatzteile für GKS 18V-22L | 1619P17330
Hersteller: BOSCH
Artikelnummer: EB-3601FC1110-1619P17330
Netto: 32,74 € zzgl. MwSt.
zzgl. 6,90 € Versand (brutto)
einmalig pro Bestellung

Lieferzeit: 5 Werktage

Stück
Pos.
3
BOSCH Ständer | Ersatzteile für GKS 18V-22L | 1619P17331
Hersteller: BOSCH
Artikelnummer: EB-3601FC1110-1619P17331
Netto: 39,11 € zzgl. MwSt.
zzgl. 6,90 € Versand (brutto)
einmalig pro Bestellung

Lieferzeit: 5 Werktage

Stück
Pos.
4
BOSCH Elektronik-Modul | Ersatzteile für GKS 18V-22L | 1619P17007
Hersteller: BOSCH
Artikelnummer: EB-3601FC1110-1619P17007
Netto: 77,60 € zzgl. MwSt.
zzgl. 6,90 € Versand (brutto)
einmalig pro Bestellung

Lieferzeit: 5 Werktage

Stück
Pos.
20
BOSCH Warnzettel | Ersatzteile für GKS 18V-22L | 1619P17634
Hersteller: BOSCH
Artikelnummer: EB-3601FC1110-1619P17634
Nie mehr lieferbar
keine Alternativen
Pos.
22
BOSCH Handgriff | Ersatzteile für GKS 18V-22L | 1619P16964
Hersteller: BOSCH
Artikelnummer: EB-3601FC1110-1619P16964
Netto: 12,98 € zzgl. MwSt.
zzgl. 6,90 € Versand (brutto)
einmalig pro Bestellung

Lieferzeit: 5 Werktage

Stück
Pos.
23
BOSCH Abdeckung | Ersatzteile für GKS 18V-22L | 1619P17004
Hersteller: BOSCH
Artikelnummer: EB-3601FC1110-1619P17004
Netto: 3,63 € zzgl. MwSt.
zzgl. 6,90 € Versand (brutto)
einmalig pro Bestellung

Lieferzeit: 5 Werktage

Stück
Pos.
24
BOSCH Schallwand | Ersatzteile für GKS 18V-22L | 1619P17234
Hersteller: BOSCH
Artikelnummer: EB-3601FC1110-1619P17234
Netto: 3,63 € zzgl. MwSt.
zzgl. 6,90 € Versand (brutto)
einmalig pro Bestellung

Lieferzeit: 5 Werktage

Stück
Pos.
25
BOSCH Stellring | Ersatzteile für GKS 18V-22L | 1619P16931
Hersteller: BOSCH
Artikelnummer: EB-3601FC1110-1619P16931
Netto: 3,63 € zzgl. MwSt.
zzgl. 6,90 € Versand (brutto)
einmalig pro Bestellung

Lieferzeit: 5 Werktage

Stück
Pos.
33
BOSCH Schlüsselhalter | Ersatzteile für GKS 18V-22L | 1619P17110
Hersteller: BOSCH
Artikelnummer: EB-3601FC1110-1619P17110
Netto: 3,63 € zzgl. MwSt.
zzgl. 6,90 € Versand (brutto)
einmalig pro Bestellung

Lieferzeit: 5 Werktage

Stück
Pos.
34
BOSCH Kappe | Ersatzteile für GKS 18V-22L | 1619P16983
Hersteller: BOSCH
Artikelnummer: EB-3601FC1110-1619P16983
Netto: 3,63 € zzgl. MwSt.
zzgl. 6,90 € Versand (brutto)
einmalig pro Bestellung

Lieferzeit: 5 Werktage

Stück
Pos.
37
BOSCH Absaugstutzen | Ersatzteile für GKS 18V-22L | 1619P17057
Hersteller: BOSCH
Artikelnummer: EB-3601FC1110-1619P17057
Netto: 4,82 € zzgl. MwSt.
zzgl. 6,90 € Versand (brutto)
einmalig pro Bestellung

Lieferzeit: 5 Werktage

Stück
Pos.
38
BOSCH Führungsbügel | Ersatzteile für GKS 18V-22L | 1619P16984
Hersteller: BOSCH
Artikelnummer: EB-3601FC1110-1619P16984
Netto: 4,32 € zzgl. MwSt.
zzgl. 6,90 € Versand (brutto)
einmalig pro Bestellung

Lieferzeit: 5 Werktage

Stück
Pos.
39
BOSCH Druckfeder | Ersatzteile für GKS 18V-22L | 1619P01642
Hersteller: BOSCH
Artikelnummer: EB-3601FC1110-1619P01642
Netto: 3,63 € zzgl. MwSt.
zzgl. 6,90 € Versand (brutto)
einmalig pro Bestellung

Lieferzeit: 5 Werktage

Stück
Pos.
50
BOSCH Innenscheibe | Ersatzteile für GKS 18V-22L | 1619P17444
Hersteller: BOSCH
Artikelnummer: EB-3601FC1110-1619P17444
Netto: 4,53 € zzgl. MwSt.
zzgl. 6,90 € Versand (brutto)
einmalig pro Bestellung

Lieferzeit: 5 Werktage

Stück
Pos.
51
BOSCH Sicherungsscheibe | Ersatzteile für GKS 18V-22L | 1619P17074
Hersteller: BOSCH
Artikelnummer: EB-3601FC1110-1619P17074
Netto: 6,15 € zzgl. MwSt.
zzgl. 6,90 € Versand (brutto)
einmalig pro Bestellung

Lieferzeit: 5 Werktage

Stück
Pos.
52
BOSCH Schraube | Ersatzteile für GKS 18V-22L | 1600A01Z45
Hersteller: BOSCH
Artikelnummer: EB-3601FC1110-1600A01Z45
Netto: 3,63 € zzgl. MwSt.
zzgl. 6,90 € Versand (brutto)
einmalig pro Bestellung

Lieferzeit: 5 Werktage

Stück
Pos.
54
BOSCH Sicherungsscheibe | Ersatzteile für GKS 18V-22L | 1619P06238
Hersteller: BOSCH
Artikelnummer: EB-3601FC1110-1619P06238
Netto: 3,63 € zzgl. MwSt.
zzgl. 6,90 € Versand (brutto)
einmalig pro Bestellung

Lieferzeit: 5 Werktage

Stück
Pos.
57
BOSCH O-Ring 35,0X1,0 MM | Ersatzteile für GKS 18V-22L | 1600210050
Hersteller: BOSCH
Artikelnummer: EB-3601FC1110-1600210050
Netto: 3,63 € zzgl. MwSt.
zzgl. 6,90 € Versand (brutto)
einmalig pro Bestellung

Lieferzeit: 5 Werktage

Stück
Pos.
58
BOSCH Schutzunterteil | Ersatzteile für GKS 18V-22L | 1619P17630
Hersteller: BOSCH
Artikelnummer: EB-3601FC1110-1619P17630
Nie mehr lieferbar
keine Alternativen
Pos.
59
BOSCH O-Ring | Ersatzteile für GKS 18V-22L | F000640007
Hersteller: BOSCH
Artikelnummer: EB-3601FC1110-F000640007
Netto: 3,63 € zzgl. MwSt.
zzgl. 6,90 € Versand (brutto)
einmalig pro Bestellung

Lieferzeit: 5 Werktage

Stück
Pos.
60
BOSCH Zugfeder | Ersatzteile für GKS 18V-22L | 1619P17216
Hersteller: BOSCH
Artikelnummer: EB-3601FC1110-1619P17216
Netto: 3,94 € zzgl. MwSt.
zzgl. 6,90 € Versand (brutto)
einmalig pro Bestellung

Lieferzeit: 5 Werktage

Stück
Pos.
61
BOSCH Anschlagpuffer SCHWARZ | Ersatzteile für GKS 18V-22L | 1619P06236
Hersteller: BOSCH
Artikelnummer: EB-3601FC1110-1619P06236
Netto: 4,32 € zzgl. MwSt.
zzgl. 6,90 € Versand (brutto)
einmalig pro Bestellung

Lieferzeit: 5 Werktage

Stück
Pos.
62
BOSCH Druckfeder | Ersatzteile für GKS 18V-22L | 2610935251
Hersteller: BOSCH
Artikelnummer: EB-3601FC1110-2610935251
Netto: 3,94 € zzgl. MwSt.
zzgl. 6,90 € Versand (brutto)
einmalig pro Bestellung

Lieferzeit: 5 Werktage

Stück
Pos.
64
BOSCH Rastkappe | Ersatzteile für GKS 18V-22L | 2600590006
Hersteller: BOSCH
Artikelnummer: EB-3601FC1110-2600590006
Netto: 3,94 € zzgl. MwSt.
zzgl. 6,90 € Versand (brutto)
einmalig pro Bestellung

Lieferzeit: 5 Werktage

Stück
Pos.
67
BOSCH Ansatzschraube | Ersatzteile für GKS 18V-22L | 1619P09219
Hersteller: BOSCH
Artikelnummer: EB-3601FC1110-1619P09219
Netto: 3,63 € zzgl. MwSt.
zzgl. 6,90 € Versand (brutto)
einmalig pro Bestellung

Lieferzeit: 5 Werktage

Stück
Pos.
68
BOSCH Gegenmutter | Ersatzteile für GKS 18V-22L | 2610924684
Hersteller: BOSCH
Artikelnummer: EB-3601FC1110-2610924684
Netto: 3,94 € zzgl. MwSt.
zzgl. 6,90 € Versand (brutto)
einmalig pro Bestellung

Lieferzeit: 5 Werktage

Stück
Pos.
69
BOSCH Grundplatte | Ersatzteile für GKS 18V-22L | 1619P16966
Hersteller: BOSCH
Artikelnummer: EB-3601FC1110-1619P16966
Netto: 19,18 € zzgl. MwSt.
zzgl. 6,90 € Versand (brutto)
einmalig pro Bestellung

Lieferzeit: 5 Werktage

Stück
Pos.
70
BOSCH Einstellschraube | Ersatzteile für GKS 18V-22L | 2610001398
Hersteller: BOSCH
Artikelnummer: EB-3601FC1110-2610001398
Netto: 3,63 € zzgl. MwSt.
zzgl. 6,90 € Versand (brutto)
einmalig pro Bestellung

Lieferzeit: 5 Werktage

Stück
Pos.
71
BOSCH Stellbolzen | Ersatzteile für GKS 18V-22L | 1619P16912
Hersteller: BOSCH
Artikelnummer: EB-3601FC1110-1619P16912
Netto: 4,32 € zzgl. MwSt.
zzgl. 6,90 € Versand (brutto)
einmalig pro Bestellung

Lieferzeit: 5 Werktage

Stück
Pos.
72
BOSCH Druckfeder | Ersatzteile für GKS 18V-22L | 2604690055
Hersteller: BOSCH
Artikelnummer: EB-3601FC1110-2604690055
Netto: 3,63 € zzgl. MwSt.
zzgl. 6,90 € Versand (brutto)
einmalig pro Bestellung

Lieferzeit: 5 Werktage

Stück
Pos.
74
BOSCH Sprengring | Ersatzteile für GKS 18V-22L | 1619P02796
Hersteller: BOSCH
Artikelnummer: EB-3601FC1110-1619P02796
Netto: 3,63 € zzgl. MwSt.
zzgl. 6,90 € Versand (brutto)
einmalig pro Bestellung

Lieferzeit: 5 Werktage

Stück
Pos.
75
BOSCH Einstellmutter | Ersatzteile für GKS 18V-22L | 1619P17176
Hersteller: BOSCH
Artikelnummer: EB-3601FC1110-1619P17176
Netto: 3,94 € zzgl. MwSt.
zzgl. 6,90 € Versand (brutto)
einmalig pro Bestellung

Lieferzeit: 5 Werktage

Stück
Pos.
75
BOSCH Klemmutter | Ersatzteile für GKS 18V-22L | 1619P02795
Hersteller: BOSCH
Artikelnummer: EB-3601FC1110-1619P02795
Nie mehr lieferbar
keine Alternativen
Pos.
76
BOSCH Hebel | Ersatzteile für GKS 18V-22L | 1619P06470
Hersteller: BOSCH
Artikelnummer: EB-3601FC1110-1619P06470
Nie mehr lieferbar
keine Alternativen
Pos.
76
BOSCH Stellstange | Ersatzteile für GKS 18V-22L | 1619P17174
Hersteller: BOSCH
Artikelnummer: EB-3601FC1110-1619P17174
Netto: 3,94 € zzgl. MwSt.
zzgl. 6,90 € Versand (brutto)
einmalig pro Bestellung

Lieferzeit: 5 Werktage

Stück
Pos.
77
BOSCH Unterlegscheibe DIN 125-A 6,4-ST | Ersatzteile für GKS 18V-22L | 2916011014
Hersteller: BOSCH
Artikelnummer: EB-3601FC1110-2916011014
Netto: 3,63 € zzgl. MwSt.
zzgl. 6,90 € Versand (brutto)
einmalig pro Bestellung

Lieferzeit: 5 Werktage

Stück
Pos.
78
BOSCH Bolzen | Ersatzteile für GKS 18V-22L | 1619PS4733
Hersteller: BOSCH
Artikelnummer: EB-3601FC1110-1619PS4733
Nie mehr lieferbar
keine Alternativen
Pos.
78
BOSCH Schraube | Ersatzteile für GKS 18V-22L | 1600A01VL4
Hersteller: BOSCH
Artikelnummer: EB-3601FC1110-1600A01VL4
Netto: 3,63 € zzgl. MwSt.
zzgl. 6,90 € Versand (brutto)
einmalig pro Bestellung

Lieferzeit: 5 Werktage

Stück
Pos.
79
BOSCH Schalterknopf | Ersatzteile für GKS 18V-22L | 1619P16910
Hersteller: BOSCH
Artikelnummer: EB-3601FC1110-1619P16910
Netto: 3,63 € zzgl. MwSt.
zzgl. 6,90 € Versand (brutto)
einmalig pro Bestellung

Lieferzeit: 5 Werktage

Stück
Pos.
80
BOSCH Hebel | Ersatzteile für GKS 18V-22L | 1619P16990
Hersteller: BOSCH
Artikelnummer: EB-3601FC1110-1619P16990
Netto: 3,63 € zzgl. MwSt.
zzgl. 6,90 € Versand (brutto)
einmalig pro Bestellung

Lieferzeit: 5 Werktage

Stück
Pos.
81
BOSCH Skala | Ersatzteile für GKS 18V-22L | 1619P16989
Hersteller: BOSCH
Artikelnummer: EB-3601FC1110-1619P16989
Netto: 3,63 € zzgl. MwSt.
zzgl. 6,90 € Versand (brutto)
einmalig pro Bestellung

Lieferzeit: 5 Werktage

Stück
Pos.
82
BOSCH Stellstange | Ersatzteile für GKS 18V-22L | 1619P17090
Hersteller: BOSCH
Artikelnummer: EB-3601FC1110-1619P17090
Netto: 5,19 € zzgl. MwSt.
zzgl. 6,90 € Versand (brutto)
einmalig pro Bestellung

Lieferzeit: 5 Werktage

Stück
Pos.
85
BOSCH Flügelschraube SCHWARZ | Ersatzteile für GKS 18V-22L | 1619P01618
Hersteller: BOSCH
Artikelnummer: EB-3601FC1110-1619P01618
Netto: 3,63 € zzgl. MwSt.
zzgl. 6,90 € Versand (brutto)
einmalig pro Bestellung

Lieferzeit: 5 Werktage

Stück
Pos.
86
BOSCH Vorlegscheibe | Ersatzteile für GKS 18V-22L | 1619P01535
Hersteller: BOSCH
Artikelnummer: EB-3601FC1110-1619P01535
Netto: 3,63 € zzgl. MwSt.
zzgl. 6,90 € Versand (brutto)
einmalig pro Bestellung

Lieferzeit: 5 Werktage

Stück
Pos.
87
BOSCH Schraube 4X16 | Ersatzteile für GKS 18V-22L | 2603490022
Hersteller: BOSCH
Artikelnummer: EB-3601FC1110-2603490022
Netto: 3,63 € zzgl. MwSt.
zzgl. 6,90 € Versand (brutto)
einmalig pro Bestellung

Lieferzeit: 5 Werktage

Stück
Pos.
88
BOSCH Einklebeblatt | Ersatzteile für GKS 18V-22L | 1619P17511
Hersteller: BOSCH
Artikelnummer: EB-3601FC1110-1619P17511
Netto: 3,63 € zzgl. MwSt.
zzgl. 6,90 € Versand (brutto)
einmalig pro Bestellung

Lieferzeit: 5 Werktage

Stück
Pos.
89
BOSCH Haltearm | Ersatzteile für GKS 18V-22L | 1619P16991
Hersteller: BOSCH
Artikelnummer: EB-3601FC1110-1619P16991
Netto: 4,32 € zzgl. MwSt.
zzgl. 6,90 € Versand (brutto)
einmalig pro Bestellung

Lieferzeit: 5 Werktage

Stück
Pos.
90
BOSCH Scharnierkonsole | Ersatzteile für GKS 18V-22L | 1619P16992
Hersteller: BOSCH
Artikelnummer: EB-3601FC1110-1619P16992
Netto: 4,32 € zzgl. MwSt.
zzgl. 6,90 € Versand (brutto)
einmalig pro Bestellung

Lieferzeit: 5 Werktage

Stück
Pos.
91
BOSCH Haltearm | Ersatzteile für GKS 18V-22L | 1619P16993
Hersteller: BOSCH
Artikelnummer: EB-3601FC1110-1619P16993
Netto: 4,82 € zzgl. MwSt.
zzgl. 6,90 € Versand (brutto)
einmalig pro Bestellung

Lieferzeit: 5 Werktage

Stück
Pos.
92
BOSCH Scharnier | Ersatzteile für GKS 18V-22L | 1619P16994
Hersteller: BOSCH
Artikelnummer: EB-3601FC1110-1619P16994
Netto: 7,30 € zzgl. MwSt.
zzgl. 6,90 € Versand (brutto)
einmalig pro Bestellung

Lieferzeit: 5 Werktage

Stück
Pos.
93
BOSCH Torx-Linsenschraube M5X12-TORX,T25 SILBER | Ersatzteile für GKS 18V-22L | 1613435015
Hersteller: BOSCH
Artikelnummer: EB-3601FC1110-1613435015
Netto: 3,94 € zzgl. MwSt.
zzgl. 6,90 € Versand (brutto)
einmalig pro Bestellung

Lieferzeit: 5 Werktage

Stück
Pos.
94
BOSCH Schraube | Ersatzteile für GKS 18V-22L | 1619P06246
Hersteller: BOSCH
Artikelnummer: EB-3601FC1110-1619P06246
Netto: 4,32 € zzgl. MwSt.
zzgl. 6,90 € Versand (brutto)
einmalig pro Bestellung

Lieferzeit: 5 Werktage

Stück
Pos.
95
BOSCH Schraube | Ersatzteile für GKS 18V-22L | 2610925864
Hersteller: BOSCH
Artikelnummer: EB-3601FC1110-2610925864
Netto: 3,63 € zzgl. MwSt.
zzgl. 6,90 € Versand (brutto)
einmalig pro Bestellung

Lieferzeit: 5 Werktage

Stück
Pos.
96
BOSCH Schraube SCHWARZ | Ersatzteile für GKS 18V-22L | 1619P01931
Hersteller: BOSCH
Artikelnummer: EB-3601FC1110-1619P01931
Netto: 3,63 € zzgl. MwSt.
zzgl. 6,90 € Versand (brutto)
einmalig pro Bestellung

Lieferzeit: 5 Werktage

Stück
Pos.
97
BOSCH Gewindefurchschraube | Ersatzteile für GKS 18V-22L | 1619P11431
Hersteller: BOSCH
Artikelnummer: EB-3601FC1110-1619P11431
Netto: 3,63 € zzgl. MwSt.
zzgl. 6,90 € Versand (brutto)
einmalig pro Bestellung

Lieferzeit: 5 Werktage

Stück
Pos.
98
BOSCH Skala | Ersatzteile für GKS 18V-22L | 1619P16998
Hersteller: BOSCH
Artikelnummer: EB-3601FC1110-1619P16998
Netto: 3,63 € zzgl. MwSt.
zzgl. 6,90 € Versand (brutto)
einmalig pro Bestellung

Lieferzeit: 5 Werktage

Stück
Pos.
651
BOSCH Innensechskantschlüssel 5 MM | Ersatzteile für GKS 18V-22L | 2610364015
Hersteller: BOSCH
Artikelnummer: EB-3601FC1110-2610364015
Netto: 5,19 € zzgl. MwSt.
zzgl. 6,90 € Versand (brutto)
einmalig pro Bestellung

Lieferzeit: 5 Werktage

Stück
Pos.
653
BOSCH Gehrungslineal | Ersatzteile für GKS 18V-22L | 1619P17000
Hersteller: BOSCH
Artikelnummer: EB-3601FC1110-1619P17000
Netto: 6,15 € zzgl. MwSt.
zzgl. 6,90 € Versand (brutto)
einmalig pro Bestellung

Lieferzeit: 5 Werktage

Stück
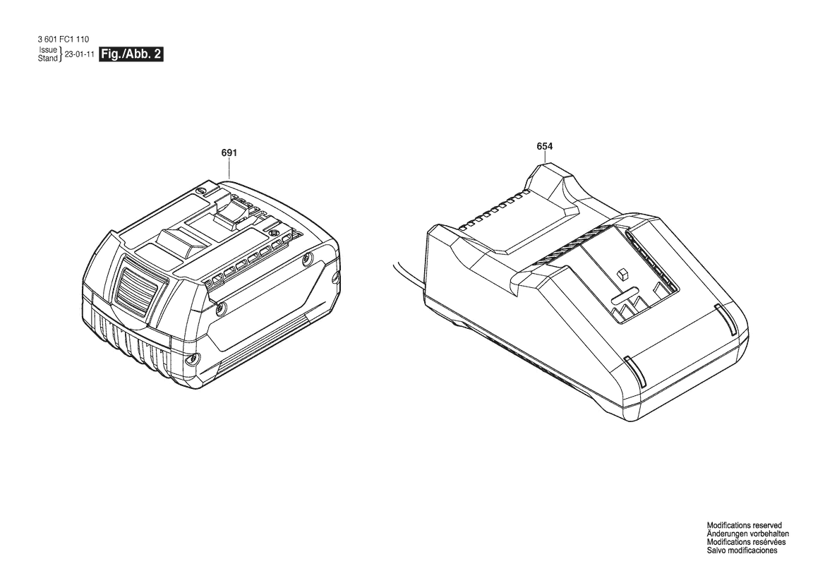
Pos.
654
BOSCH Ladegerät USA BC 1880 CV 13,3-18V/120V | Ersatzteile für GKS 18V-22L | 2607225927
Hersteller: BOSCH
Artikelnummer: EB-3601FC1110-2607225927
nur Informationsartikel
Nie mehr lieferbar
keine Alternativen
Pos.
654
BOSCH Schnell-Lader | Ersatzteile für GKS 18V-22L | 2607226257
Hersteller: BOSCH
Artikelnummer: EB-3601FC1110-2607226257
Netto: 63,99 € zzgl. MwSt.
zzgl. 6,90 € Versand (brutto)
einmalig pro Bestellung

Lieferzeit: 5 Werktage

Stück
Pos.
691
BOSCH Akku-Paket | Ersatzteile für GKS 18V-22L | 1607A350AP
Hersteller: BOSCH
Artikelnummer: EB-3601FC1110-1607A350AP
Netto: 114,51 € zzgl. MwSt.
zzgl. 6,90 € Versand (brutto)
einmalig pro Bestellung

Lieferzeit: 5 Werktage

Stück
Pos.
691
BOSCH Akku-Paket USA BAT620 18V 4,0AH | Ersatzteile für GKS 18V-22L | 2607336819
Hersteller: BOSCH
Artikelnummer: EB-3601FC1110-2607336819
Netto: 150,24 € zzgl. MwSt.
zzgl. 6,90 € Versand (brutto)
einmalig pro Bestellung

Lieferzeit: 5 Werktage

Stück
Pos.
808
BOSCH Typschild | Ersatzteile für GKS 18V-22L | 1619P17772
Hersteller: BOSCH
Artikelnummer: EB-3601FC1110-1619P17772
Nie mehr lieferbar
keine Alternativen
Pos.
823
BOSCH Schutzoberteil | Ersatzteile für GKS 18V-22L | 1619P17780
Hersteller: BOSCH
Artikelnummer: EB-3601FC1110-1619P17780
Nie mehr lieferbar
keine Alternativen
Pos.
853
BOSCH Lagerflansch | Ersatzteile für GKS 18V-22L | 1619P17465
Hersteller: BOSCH
Artikelnummer: EB-3601FC1110-1619P17465
Netto: 29,45 € zzgl. MwSt.
zzgl. 6,90 € Versand (brutto)
einmalig pro Bestellung

Lieferzeit: 5 Werktage

Stück

Angaben zur Produktsicherheit

Hersteller:
Robert Bosch Power Tools GmbH
Postfach 30 02 20
70442 Stuttgart

E-Mail:
kontakt@bosch.de