BOSCH Elektronik-Modul | Ersatzteile für GKS 18V-22L | 1619P17007

Artikelnummer: EB-3601FC1110-1619P17007

Position: 4

Marke: BOSCH


Bitte Kompatibilität prüfen!

Bitte prüfen Sie unbedingt die 10-stellige Typennummer Ihrer Maschine / Ihres Gerätes. Das Ersatzteil ist nur kompatibel, wenn Sie die Typennummer Ihrer Maschine in der unten stehenden Produktbeschreibung finden.

Bitte prüfen Sie ebenfalls detailliert die Explosionszeichnung mit Ihrem Artikelwunsch und der jeweiligen Pos-Nummer.

Alle Elemente, welche vom schwarzen Strich der Pos-Nummer ausgehend berührt / erfasst werden, gehören zu dieser Pos-Nummer und somit zu diesem Artikel. Jede Pos-Nummer ist ein eigenständiger Artikel, welchen Sie in der Auflistung finden.

Sie erhalten stets die aktuellste, neueste Produktversion zu der gewählten Pos-Nummer seitens des Herstellers. Es kann daher je nach Gerätealter vorkommen, dass Sie ggf. weitere, zugehörige Elemente, welche an diese Pos-Nummer grenzen, ebenfalls mittauschen müssen.

Nähere Informationen finden Sie unter dem Link
Hinweise zu Ihrer BOSCH Ersatzteilsuche

Preisübersicht

Einzelpreis: 77,60 €* (Brutto: 92,34 €)
Gesamtpreis: 77,60 €* 
Position:

Lieferzeit: 5 Werktage


Beschreibung

  • Elektronik-Modul
  • Original Bosch Zubehör / BOSCH Ersatzteil (1619P17007)
  • im Gerät verbaut: 1
Dieses BOSCH Ersatzteil ist mit folgendem Gerät und Modell kompatibel:
  • BOSCH Gerätename: GKS 18V-22L
  • BOSCH Explosionszeichnung: Position 4
  • BOSCH Typennummer: 3601FC1110
  • BOSCH Typennummer alternative Schreibweisen: 3 601 FC1 110, 3601 FC1 110, 3.601.FC1.110, 3-601-FC1-110
    Bitte prüfen Sie diese Typennummer auf Ihrem Gerät um die Kompatibilität des BOSCH Ersatzteils zu gewährleisten.
Weitere BOSCH Ersatzteile des Gerätes GKS 18V-22L (Akku-Kreissäge) mit der Typennummer 3601FC1110 finden Sie in der nachfolgenden Darstellung und im Dropdown zu Ihrer Auswahl:

Pos.
1
BOSCH Motorgehäuse | Ersatzteile für GKS 18V-22L | 1619P16963
Hersteller: BOSCH
Artikelnummer: EB-3601FC1110-1619P16963
Netto: 6,15 € zzgl. MwSt.
zzgl. 6,90 € Versand (brutto)
einmalig pro Bestellung

Lieferzeit: 5 Werktage

Pos.
20/1
BOSCH Warnzettel | Ersatzteile für GKS 18V-22L | 1619P17635
Hersteller: BOSCH
Artikelnummer: EB-3601FC1110-1619P17635
Nie mehr lieferbar
keine Alternativen
Pos.
20/2
BOSCH Warnzettel | Ersatzteile für GKS 18V-22L | 1619P17632
Hersteller: BOSCH
Artikelnummer: EB-3601FC1110-1619P17632
Nie mehr lieferbar
keine Alternativen
Pos.
2
BOSCH Rotor | Ersatzteile für GKS 18V-22L | 1619P17330
Hersteller: BOSCH
Artikelnummer: EB-3601FC1110-1619P17330
Netto: 32,74 € zzgl. MwSt.
zzgl. 6,90 € Versand (brutto)
einmalig pro Bestellung

Lieferzeit: 5 Werktage

Pos.
3
BOSCH Ständer | Ersatzteile für GKS 18V-22L | 1619P17331
Hersteller: BOSCH
Artikelnummer: EB-3601FC1110-1619P17331
Netto: 39,11 € zzgl. MwSt.
zzgl. 6,90 € Versand (brutto)
einmalig pro Bestellung

Lieferzeit: 5 Werktage

Pos.
4
BOSCH Elektronik-Modul | Ersatzteile für GKS 18V-22L | 1619P17007
Hersteller: BOSCH
Artikelnummer: EB-3601FC1110-1619P17007
Netto: 77,60 € zzgl. MwSt.
zzgl. 6,90 € Versand (brutto)
einmalig pro Bestellung

Lieferzeit: 5 Werktage

Pos.
20
BOSCH Warnzettel | Ersatzteile für GKS 18V-22L | 1619P17634
Hersteller: BOSCH
Artikelnummer: EB-3601FC1110-1619P17634
Nie mehr lieferbar
keine Alternativen
Pos.
22
BOSCH Handgriff | Ersatzteile für GKS 18V-22L | 1619P16964
Hersteller: BOSCH
Artikelnummer: EB-3601FC1110-1619P16964
Netto: 12,98 € zzgl. MwSt.
zzgl. 6,90 € Versand (brutto)
einmalig pro Bestellung

Lieferzeit: 5 Werktage

Pos.
23
BOSCH Abdeckung | Ersatzteile für GKS 18V-22L | 1619P17004
Hersteller: BOSCH
Artikelnummer: EB-3601FC1110-1619P17004
Netto: 3,63 € zzgl. MwSt.
zzgl. 6,90 € Versand (brutto)
einmalig pro Bestellung

Lieferzeit: 5 Werktage

Pos.
24
BOSCH Schallwand | Ersatzteile für GKS 18V-22L | 1619P17234
Hersteller: BOSCH
Artikelnummer: EB-3601FC1110-1619P17234
Netto: 3,63 € zzgl. MwSt.
zzgl. 6,90 € Versand (brutto)
einmalig pro Bestellung

Lieferzeit: 5 Werktage

Pos.
25
BOSCH Stellring | Ersatzteile für GKS 18V-22L | 1619P16931
Hersteller: BOSCH
Artikelnummer: EB-3601FC1110-1619P16931
Netto: 3,63 € zzgl. MwSt.
zzgl. 6,90 € Versand (brutto)
einmalig pro Bestellung

Lieferzeit: 5 Werktage

Pos.
33
BOSCH Schlüsselhalter | Ersatzteile für GKS 18V-22L | 1619P17110
Hersteller: BOSCH
Artikelnummer: EB-3601FC1110-1619P17110
Netto: 3,63 € zzgl. MwSt.
zzgl. 6,90 € Versand (brutto)
einmalig pro Bestellung

Lieferzeit: 5 Werktage

Pos.
34
BOSCH Kappe | Ersatzteile für GKS 18V-22L | 1619P16983
Hersteller: BOSCH
Artikelnummer: EB-3601FC1110-1619P16983
Netto: 3,63 € zzgl. MwSt.
zzgl. 6,90 € Versand (brutto)
einmalig pro Bestellung

Lieferzeit: 5 Werktage

Pos.
37
BOSCH Absaugstutzen | Ersatzteile für GKS 18V-22L | 1619P17057
Hersteller: BOSCH
Artikelnummer: EB-3601FC1110-1619P17057
Netto: 4,82 € zzgl. MwSt.
zzgl. 6,90 € Versand (brutto)
einmalig pro Bestellung

Lieferzeit: 5 Werktage

Pos.
38
BOSCH Führungsbügel | Ersatzteile für GKS 18V-22L | 1619P16984
Hersteller: BOSCH
Artikelnummer: EB-3601FC1110-1619P16984
Netto: 4,32 € zzgl. MwSt.
zzgl. 6,90 € Versand (brutto)
einmalig pro Bestellung

Lieferzeit: 5 Werktage

Pos.
39
BOSCH Druckfeder | Ersatzteile für GKS 18V-22L | 1619P01642
Hersteller: BOSCH
Artikelnummer: EB-3601FC1110-1619P01642
Netto: 3,63 € zzgl. MwSt.
zzgl. 6,90 € Versand (brutto)
einmalig pro Bestellung

Lieferzeit: 5 Werktage

Pos.
50
BOSCH Innenscheibe | Ersatzteile für GKS 18V-22L | 1619P17444
Hersteller: BOSCH
Artikelnummer: EB-3601FC1110-1619P17444
Netto: 4,53 € zzgl. MwSt.
zzgl. 6,90 € Versand (brutto)
einmalig pro Bestellung

Lieferzeit: 5 Werktage

Pos.
51
BOSCH Sicherungsscheibe | Ersatzteile für GKS 18V-22L | 1619P17074
Hersteller: BOSCH
Artikelnummer: EB-3601FC1110-1619P17074
Netto: 6,15 € zzgl. MwSt.
zzgl. 6,90 € Versand (brutto)
einmalig pro Bestellung

Lieferzeit: 5 Werktage

Pos.
52
BOSCH Schraube | Ersatzteile für GKS 18V-22L | 1600A01Z45
Hersteller: BOSCH
Artikelnummer: EB-3601FC1110-1600A01Z45
Netto: 3,63 € zzgl. MwSt.
zzgl. 6,90 € Versand (brutto)
einmalig pro Bestellung

Lieferzeit: 5 Werktage

Pos.
54
BOSCH Sicherungsscheibe | Ersatzteile für GKS 18V-22L | 1619P06238
Hersteller: BOSCH
Artikelnummer: EB-3601FC1110-1619P06238
Netto: 3,63 € zzgl. MwSt.
zzgl. 6,90 € Versand (brutto)
einmalig pro Bestellung

Lieferzeit: 5 Werktage

Pos.
57
BOSCH O-Ring 35,0X1,0 MM | Ersatzteile für GKS 18V-22L | 1600210050
Hersteller: BOSCH
Artikelnummer: EB-3601FC1110-1600210050
Netto: 3,63 € zzgl. MwSt.
zzgl. 6,90 € Versand (brutto)
einmalig pro Bestellung

Lieferzeit: 5 Werktage

Pos.
58
BOSCH Schutzunterteil | Ersatzteile für GKS 18V-22L | 1619P17630
Hersteller: BOSCH
Artikelnummer: EB-3601FC1110-1619P17630
Nie mehr lieferbar
keine Alternativen
Pos.
59
BOSCH O-Ring | Ersatzteile für GKS 18V-22L | F000640007
Hersteller: BOSCH
Artikelnummer: EB-3601FC1110-F000640007
Netto: 3,63 € zzgl. MwSt.
zzgl. 6,90 € Versand (brutto)
einmalig pro Bestellung

Lieferzeit: 5 Werktage

Pos.
60
BOSCH Zugfeder | Ersatzteile für GKS 18V-22L | 1619P17216
Hersteller: BOSCH
Artikelnummer: EB-3601FC1110-1619P17216
Netto: 3,94 € zzgl. MwSt.
zzgl. 6,90 € Versand (brutto)
einmalig pro Bestellung

Lieferzeit: 5 Werktage

Pos.
61
BOSCH Anschlagpuffer SCHWARZ | Ersatzteile für GKS 18V-22L | 1619P06236
Hersteller: BOSCH
Artikelnummer: EB-3601FC1110-1619P06236
Netto: 4,32 € zzgl. MwSt.
zzgl. 6,90 € Versand (brutto)
einmalig pro Bestellung

Lieferzeit: 5 Werktage

Pos.
62
BOSCH Druckfeder | Ersatzteile für GKS 18V-22L | 2610935251
Hersteller: BOSCH
Artikelnummer: EB-3601FC1110-2610935251
Netto: 3,94 € zzgl. MwSt.
zzgl. 6,90 € Versand (brutto)
einmalig pro Bestellung

Lieferzeit: 5 Werktage

Pos.
64
BOSCH Rastkappe | Ersatzteile für GKS 18V-22L | 2600590006
Hersteller: BOSCH
Artikelnummer: EB-3601FC1110-2600590006
Netto: 3,94 € zzgl. MwSt.
zzgl. 6,90 € Versand (brutto)
einmalig pro Bestellung

Lieferzeit: 5 Werktage

Pos.
67
BOSCH Ansatzschraube | Ersatzteile für GKS 18V-22L | 1619P09219
Hersteller: BOSCH
Artikelnummer: EB-3601FC1110-1619P09219
Netto: 3,63 € zzgl. MwSt.
zzgl. 6,90 € Versand (brutto)
einmalig pro Bestellung

Lieferzeit: 5 Werktage

Pos.
68
BOSCH Gegenmutter | Ersatzteile für GKS 18V-22L | 2610924684
Hersteller: BOSCH
Artikelnummer: EB-3601FC1110-2610924684
Netto: 3,94 € zzgl. MwSt.
zzgl. 6,90 € Versand (brutto)
einmalig pro Bestellung

Lieferzeit: 5 Werktage

Pos.
69
BOSCH Grundplatte | Ersatzteile für GKS 18V-22L | 1619P16966
Hersteller: BOSCH
Artikelnummer: EB-3601FC1110-1619P16966
Netto: 19,18 € zzgl. MwSt.
zzgl. 6,90 € Versand (brutto)
einmalig pro Bestellung

Lieferzeit: 5 Werktage

Pos.
70
BOSCH Einstellschraube | Ersatzteile für GKS 18V-22L | 2610001398
Hersteller: BOSCH
Artikelnummer: EB-3601FC1110-2610001398
Netto: 3,63 € zzgl. MwSt.
zzgl. 6,90 € Versand (brutto)
einmalig pro Bestellung

Lieferzeit: 5 Werktage

Pos.
71
BOSCH Stellbolzen | Ersatzteile für GKS 18V-22L | 1619P16912
Hersteller: BOSCH
Artikelnummer: EB-3601FC1110-1619P16912
Netto: 4,32 € zzgl. MwSt.
zzgl. 6,90 € Versand (brutto)
einmalig pro Bestellung

Lieferzeit: 5 Werktage

Pos.
72
BOSCH Druckfeder | Ersatzteile für GKS 18V-22L | 2604690055
Hersteller: BOSCH
Artikelnummer: EB-3601FC1110-2604690055
Netto: 3,63 € zzgl. MwSt.
zzgl. 6,90 € Versand (brutto)
einmalig pro Bestellung

Lieferzeit: 5 Werktage

Pos.
74
BOSCH Sprengring | Ersatzteile für GKS 18V-22L | 1619P02796
Hersteller: BOSCH
Artikelnummer: EB-3601FC1110-1619P02796
Netto: 3,63 € zzgl. MwSt.
zzgl. 6,90 € Versand (brutto)
einmalig pro Bestellung

Lieferzeit: 5 Werktage

Pos.
75
BOSCH Einstellmutter | Ersatzteile für GKS 18V-22L | 1619P17176
Hersteller: BOSCH
Artikelnummer: EB-3601FC1110-1619P17176
Netto: 3,94 € zzgl. MwSt.
zzgl. 6,90 € Versand (brutto)
einmalig pro Bestellung

Lieferzeit: 5 Werktage

Pos.
75
BOSCH Klemmutter | Ersatzteile für GKS 18V-22L | 1619P02795
Hersteller: BOSCH
Artikelnummer: EB-3601FC1110-1619P02795
Nie mehr lieferbar
keine Alternativen
Pos.
76
BOSCH Hebel | Ersatzteile für GKS 18V-22L | 1619P06470
Hersteller: BOSCH
Artikelnummer: EB-3601FC1110-1619P06470
Nie mehr lieferbar
keine Alternativen
Pos.
76
BOSCH Stellstange | Ersatzteile für GKS 18V-22L | 1619P17174
Hersteller: BOSCH
Artikelnummer: EB-3601FC1110-1619P17174
Netto: 3,94 € zzgl. MwSt.
zzgl. 6,90 € Versand (brutto)
einmalig pro Bestellung

Lieferzeit: 5 Werktage

Pos.
77
BOSCH Unterlegscheibe DIN 125-A 6,4-ST | Ersatzteile für GKS 18V-22L | 2916011014
Hersteller: BOSCH
Artikelnummer: EB-3601FC1110-2916011014
Netto: 3,63 € zzgl. MwSt.
zzgl. 6,90 € Versand (brutto)
einmalig pro Bestellung

Lieferzeit: 5 Werktage

Pos.
78
BOSCH Bolzen | Ersatzteile für GKS 18V-22L | 1619PS4733
Hersteller: BOSCH
Artikelnummer: EB-3601FC1110-1619PS4733
Nie mehr lieferbar
keine Alternativen
Pos.
78
BOSCH Schraube | Ersatzteile für GKS 18V-22L | 1600A01VL4
Hersteller: BOSCH
Artikelnummer: EB-3601FC1110-1600A01VL4
Netto: 3,63 € zzgl. MwSt.
zzgl. 6,90 € Versand (brutto)
einmalig pro Bestellung

Lieferzeit: 5 Werktage

Pos.
79
BOSCH Schalterknopf | Ersatzteile für GKS 18V-22L | 1619P16910
Hersteller: BOSCH
Artikelnummer: EB-3601FC1110-1619P16910
Netto: 3,63 € zzgl. MwSt.
zzgl. 6,90 € Versand (brutto)
einmalig pro Bestellung

Lieferzeit: 5 Werktage

Pos.
80
BOSCH Hebel | Ersatzteile für GKS 18V-22L | 1619P16990
Hersteller: BOSCH
Artikelnummer: EB-3601FC1110-1619P16990
Netto: 3,63 € zzgl. MwSt.
zzgl. 6,90 € Versand (brutto)
einmalig pro Bestellung

Lieferzeit: 5 Werktage

Pos.
81
BOSCH Skala | Ersatzteile für GKS 18V-22L | 1619P16989
Hersteller: BOSCH
Artikelnummer: EB-3601FC1110-1619P16989
Netto: 3,63 € zzgl. MwSt.
zzgl. 6,90 € Versand (brutto)
einmalig pro Bestellung

Lieferzeit: 5 Werktage

Pos.
82
BOSCH Stellstange | Ersatzteile für GKS 18V-22L | 1619P17090
Hersteller: BOSCH
Artikelnummer: EB-3601FC1110-1619P17090
Netto: 5,19 € zzgl. MwSt.
zzgl. 6,90 € Versand (brutto)
einmalig pro Bestellung

Lieferzeit: 5 Werktage

Pos.
85
BOSCH Flügelschraube SCHWARZ | Ersatzteile für GKS 18V-22L | 1619P01618
Hersteller: BOSCH
Artikelnummer: EB-3601FC1110-1619P01618
Netto: 3,63 € zzgl. MwSt.
zzgl. 6,90 € Versand (brutto)
einmalig pro Bestellung

Lieferzeit: 5 Werktage

Pos.
86
BOSCH Vorlegscheibe | Ersatzteile für GKS 18V-22L | 1619P01535
Hersteller: BOSCH
Artikelnummer: EB-3601FC1110-1619P01535
Netto: 3,63 € zzgl. MwSt.
zzgl. 6,90 € Versand (brutto)
einmalig pro Bestellung

Lieferzeit: 5 Werktage

Pos.
87
BOSCH Schraube 4X16 | Ersatzteile für GKS 18V-22L | 2603490022
Hersteller: BOSCH
Artikelnummer: EB-3601FC1110-2603490022
Netto: 3,63 € zzgl. MwSt.
zzgl. 6,90 € Versand (brutto)
einmalig pro Bestellung

Lieferzeit: 5 Werktage

Pos.
88
BOSCH Einklebeblatt | Ersatzteile für GKS 18V-22L | 1619P17511
Hersteller: BOSCH
Artikelnummer: EB-3601FC1110-1619P17511
Netto: 3,63 € zzgl. MwSt.
zzgl. 6,90 € Versand (brutto)
einmalig pro Bestellung

Lieferzeit: 5 Werktage

Pos.
89
BOSCH Haltearm | Ersatzteile für GKS 18V-22L | 1619P16991
Hersteller: BOSCH
Artikelnummer: EB-3601FC1110-1619P16991
Netto: 4,32 € zzgl. MwSt.
zzgl. 6,90 € Versand (brutto)
einmalig pro Bestellung

Lieferzeit: 5 Werktage

Pos.
90
BOSCH Scharnierkonsole | Ersatzteile für GKS 18V-22L | 1619P16992
Hersteller: BOSCH
Artikelnummer: EB-3601FC1110-1619P16992
Netto: 4,32 € zzgl. MwSt.
zzgl. 6,90 € Versand (brutto)
einmalig pro Bestellung

Lieferzeit: 5 Werktage

Pos.
91
BOSCH Haltearm | Ersatzteile für GKS 18V-22L | 1619P16993
Hersteller: BOSCH
Artikelnummer: EB-3601FC1110-1619P16993
Netto: 4,82 € zzgl. MwSt.
zzgl. 6,90 € Versand (brutto)
einmalig pro Bestellung

Lieferzeit: 5 Werktage

Pos.
92
BOSCH Scharnier | Ersatzteile für GKS 18V-22L | 1619P16994
Hersteller: BOSCH
Artikelnummer: EB-3601FC1110-1619P16994
Netto: 7,30 € zzgl. MwSt.
zzgl. 6,90 € Versand (brutto)
einmalig pro Bestellung

Lieferzeit: 5 Werktage

Pos.
93
BOSCH Torx-Linsenschraube M5X12-TORX,T25 SILBER | Ersatzteile für GKS 18V-22L | 1613435015
Hersteller: BOSCH
Artikelnummer: EB-3601FC1110-1613435015
Netto: 3,94 € zzgl. MwSt.
zzgl. 6,90 € Versand (brutto)
einmalig pro Bestellung

Lieferzeit: 5 Werktage

Pos.
94
BOSCH Schraube | Ersatzteile für GKS 18V-22L | 1619P06246
Hersteller: BOSCH
Artikelnummer: EB-3601FC1110-1619P06246
Netto: 4,32 € zzgl. MwSt.
zzgl. 6,90 € Versand (brutto)
einmalig pro Bestellung

Lieferzeit: 5 Werktage

Pos.
95
BOSCH Schraube | Ersatzteile für GKS 18V-22L | 2610925864
Hersteller: BOSCH
Artikelnummer: EB-3601FC1110-2610925864
Netto: 3,63 € zzgl. MwSt.
zzgl. 6,90 € Versand (brutto)
einmalig pro Bestellung

Lieferzeit: 5 Werktage

Pos.
96
BOSCH Schraube SCHWARZ | Ersatzteile für GKS 18V-22L | 1619P01931
Hersteller: BOSCH
Artikelnummer: EB-3601FC1110-1619P01931
Netto: 3,63 € zzgl. MwSt.
zzgl. 6,90 € Versand (brutto)
einmalig pro Bestellung

Lieferzeit: 5 Werktage

Pos.
97
BOSCH Gewindefurchschraube | Ersatzteile für GKS 18V-22L | 1619P11431
Hersteller: BOSCH
Artikelnummer: EB-3601FC1110-1619P11431
Netto: 3,63 € zzgl. MwSt.
zzgl. 6,90 € Versand (brutto)
einmalig pro Bestellung

Lieferzeit: 5 Werktage

Pos.
98
BOSCH Skala | Ersatzteile für GKS 18V-22L | 1619P16998
Hersteller: BOSCH
Artikelnummer: EB-3601FC1110-1619P16998
Netto: 3,63 € zzgl. MwSt.
zzgl. 6,90 € Versand (brutto)
einmalig pro Bestellung

Lieferzeit: 5 Werktage

Pos.
651
BOSCH Innensechskantschlüssel 5 MM | Ersatzteile für GKS 18V-22L | 2610364015
Hersteller: BOSCH
Artikelnummer: EB-3601FC1110-2610364015
Netto: 5,19 € zzgl. MwSt.
zzgl. 6,90 € Versand (brutto)
einmalig pro Bestellung

Lieferzeit: 5 Werktage

Pos.
653
BOSCH Gehrungslineal | Ersatzteile für GKS 18V-22L | 1619P17000
Hersteller: BOSCH
Artikelnummer: EB-3601FC1110-1619P17000
Netto: 6,15 € zzgl. MwSt.
zzgl. 6,90 € Versand (brutto)
einmalig pro Bestellung

Lieferzeit: 5 Werktage

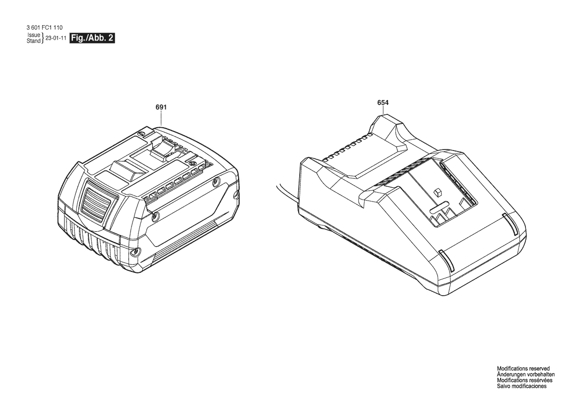
Pos.
654
BOSCH Ladegerät USA BC 1880 CV 13,3-18V/120V | Ersatzteile für GKS 18V-22L | 2607225927
Hersteller: BOSCH
Artikelnummer: EB-3601FC1110-2607225927
nur Informationsartikel
Nie mehr lieferbar
keine Alternativen
Pos.
654
BOSCH Schnell-Lader | Ersatzteile für GKS 18V-22L | 2607226257
Hersteller: BOSCH
Artikelnummer: EB-3601FC1110-2607226257
Netto: 63,99 € zzgl. MwSt.
zzgl. 6,90 € Versand (brutto)
einmalig pro Bestellung

Lieferzeit: 5 Werktage

Pos.
691
BOSCH Akku-Paket | Ersatzteile für GKS 18V-22L | 1607A350AP
Hersteller: BOSCH
Artikelnummer: EB-3601FC1110-1607A350AP
Netto: 114,51 € zzgl. MwSt.
zzgl. 6,90 € Versand (brutto)
einmalig pro Bestellung

Lieferzeit: 5 Werktage

Pos.
691
BOSCH Akku-Paket USA BAT620 18V 4,0AH | Ersatzteile für GKS 18V-22L | 2607336819
Hersteller: BOSCH
Artikelnummer: EB-3601FC1110-2607336819
Netto: 150,24 € zzgl. MwSt.
zzgl. 6,90 € Versand (brutto)
einmalig pro Bestellung

Lieferzeit: 5 Werktage

Pos.
808
BOSCH Typschild | Ersatzteile für GKS 18V-22L | 1619P17772
Hersteller: BOSCH
Artikelnummer: EB-3601FC1110-1619P17772
Nie mehr lieferbar
keine Alternativen
Pos.
823
BOSCH Schutzoberteil | Ersatzteile für GKS 18V-22L | 1619P17780
Hersteller: BOSCH
Artikelnummer: EB-3601FC1110-1619P17780
Nie mehr lieferbar
keine Alternativen
Pos.
853
BOSCH Lagerflansch | Ersatzteile für GKS 18V-22L | 1619P17465
Hersteller: BOSCH
Artikelnummer: EB-3601FC1110-1619P17465
Netto: 29,45 € zzgl. MwSt.
zzgl. 6,90 € Versand (brutto)
einmalig pro Bestellung

Lieferzeit: 5 Werktage

Angaben zur Produktsicherheit

Hersteller:
Robert Bosch Power Tools GmbH
Postfach 30 02 20
70442 Stuttgart

E-Mail:
kontakt@bosch.de