BOSCH Handgriff | Ersatzteile für GP712VS | 1600A01N0J

Artikelnummer: EB-3601C89110-1600A01N0J

Position: 25

Marke: BOSCH


Bitte Kompatibilität prüfen!

Bitte prüfen Sie unbedingt die 10-stellige Typennummer Ihrer Maschine / Ihres Gerätes. Das Ersatzteil ist nur kompatibel, wenn Sie die Typennummer Ihrer Maschine in der unten stehenden Produktbeschreibung finden.

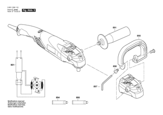
Bitte prüfen Sie ebenfalls detailliert die Explosionszeichnung mit Ihrem Artikelwunsch und der jeweiligen Pos-Nummer.

Alle Elemente, welche vom schwarzen Strich der Pos-Nummer ausgehend berührt / erfasst werden, gehören zu dieser Pos-Nummer und somit zu diesem Artikel. Jede Pos-Nummer ist ein eigenständiger Artikel, welchen Sie in der Auflistung finden.

Sie erhalten stets die aktuellste, neueste Produktversion zu der gewählten Pos-Nummer seitens des Herstellers. Es kann daher je nach Gerätealter vorkommen, dass Sie ggf. weitere, zugehörige Elemente, welche an diese Pos-Nummer grenzen, ebenfalls mittauschen müssen.

Nähere Informationen finden Sie unter dem Link
Hinweise zu Ihrer BOSCH Ersatzteilsuche

Preisübersicht

Einzelpreis: 11,92 €* (Brutto: 14,18 €)
Gesamtpreis: 11,92 €* 
Position:

Lieferzeit: 5 Werktage


Beschreibung

  • Handgriff
  • Original Bosch Zubehör / BOSCH Ersatzteil (1600A01N0J)
  • im Gerät verbaut: 1
Dieses BOSCH Ersatzteil ist mit folgendem Gerät und Modell kompatibel:
  • BOSCH Gerätename: GP712VS
  • BOSCH Explosionszeichnung: Position 25
  • BOSCH Typennummer: 3601C89110
  • BOSCH Typennummer alternative Schreibweisen: 3 601 C89 110, 3601 C89 110, 3.601.C89.110, 3-601-C89-110
    Bitte prüfen Sie diese Typennummer auf Ihrem Gerät um die Kompatibilität des BOSCH Ersatzteils zu gewährleisten.
Weitere BOSCH Ersatzteile des Gerätes GP712VS (Winkelpolierer) mit der Typennummer 3601C89110 finden Sie in der nachfolgenden Darstellung und im Dropdown zu Ihrer Auswahl:

Pos.
1
BOSCH Motorgehäuse BLAU | Ersatzteile für GP712VS | 1605108255
Hersteller: BOSCH
Artikelnummer: EB-3601C89110-1605108255
Netto: 14,36 € zzgl. MwSt.
zzgl. 6,90 € Versand (brutto)
einmalig pro Bestellung

Lieferzeit: 5 Werktage

Pos.
4
BOSCH Schalter | Ersatzteile für GP712VS | 1619P09608
Hersteller: BOSCH
Artikelnummer: EB-3601C89110-1619P09608
Netto: 24,13 € zzgl. MwSt.
zzgl. 6,90 € Versand (brutto)
einmalig pro Bestellung

Lieferzeit: 5 Werktage

Pos.
5
BOSCH Netzanschlussleitung USA/CDN 2,15m 2 x 2,08mm SJ 14/2 | Ersatzteile für GP712VS | 1604460133
Hersteller: BOSCH
Artikelnummer: EB-3601C89110-1604460133
Netto: 14,36 € zzgl. MwSt.
zzgl. 6,90 € Versand (brutto)
einmalig pro Bestellung

Lieferzeit: 5 Werktage

Pos.
6
BOSCH Tülle Ø8,7-Ø9,5x67 MM | Ersatzteile für GP712VS | 1600703032
Hersteller: BOSCH
Artikelnummer: EB-3601C89110-1600703032
Netto: 4,53 € zzgl. MwSt.
zzgl. 6,90 € Versand (brutto)
einmalig pro Bestellung

Lieferzeit: 5 Werktage

Pos.
7
BOSCH Leitungshalter | Ersatzteile für GP712VS | 1611035005
Hersteller: BOSCH
Artikelnummer: EB-3601C89110-1611035005
nur Informationsartikel
Nie mehr lieferbar
keine Alternativen
Pos.
9
BOSCH Firmenschild GP71VS | Ersatzteile für GP712VS | 1619P13373
Hersteller: BOSCH
Artikelnummer: EB-3601C89110-1619P13373
nur Informationsartikel
Nie mehr lieferbar
keine Alternativen
Pos.
13
BOSCH Kugellager 7x19x6 | Ersatzteile für GP712VS | 2600905032
Hersteller: BOSCH
Artikelnummer: EB-3601C89110-2600905032
Netto: 6,15 € zzgl. MwSt.
zzgl. 6,90 € Versand (brutto)
einmalig pro Bestellung

Lieferzeit: 23 Werktage

Pos.
14
BOSCH Rillenkugellager 8x22x7 | Ersatzteile für GP712VS | 1600905032
Hersteller: BOSCH
Artikelnummer: EB-3601C89110-1600905032
nur Informationsartikel
Nie mehr lieferbar
keine Alternativen
Pos.
16
BOSCH Bürstenhalter MIT ABSCHALTORGAN | Ersatzteile für GP712VS | 1601323023
Hersteller: BOSCH
Artikelnummer: EB-3601C89110-1601323023
Netto: 5,19 € zzgl. MwSt.
zzgl. 6,90 € Versand (brutto)
einmalig pro Bestellung

Lieferzeit: 5 Werktage

Pos.
17
BOSCH Spiralfeder | Ersatzteile für GP712VS | 1604652013
Hersteller: BOSCH
Artikelnummer: EB-3601C89110-1604652013
Netto: 3,94 € zzgl. MwSt.
zzgl. 6,90 € Versand (brutto)
einmalig pro Bestellung

Lieferzeit: 5 Werktage

Pos.
18
BOSCH Verstellschieber | Ersatzteile für GP712VS | 1602319024
Hersteller: BOSCH
Artikelnummer: EB-3601C89110-1602319024
Netto: 4,32 € zzgl. MwSt.
zzgl. 6,90 € Versand (brutto)
einmalig pro Bestellung

Lieferzeit: 5 Werktage

Pos.
19
BOSCH Druckfeder | Ersatzteile für GP712VS | 1604611041
Hersteller: BOSCH
Artikelnummer: EB-3601C89110-1604611041
Netto: 3,94 € zzgl. MwSt.
zzgl. 6,90 € Versand (brutto)
einmalig pro Bestellung

Lieferzeit: 5 Werktage

Pos.
20
BOSCH Druckfeder | Ersatzteile für GP712VS | 3604611039
Hersteller: BOSCH
Artikelnummer: EB-3601C89110-3604611039
Netto: 3,94 € zzgl. MwSt.
zzgl. 6,90 € Versand (brutto)
einmalig pro Bestellung

Lieferzeit: 5 Werktage

Pos.
22
BOSCH Kunststoffabdeckung | Ersatzteile für GP712VS | 1619P07907
Hersteller: BOSCH
Artikelnummer: EB-3601C89110-1619P07907
Netto: 4,82 € zzgl. MwSt.
zzgl. 6,90 € Versand (brutto)
einmalig pro Bestellung

Lieferzeit: 5 Werktage

Pos.
23
BOSCH Warnschild | Ersatzteile für GP712VS | 1619P09804
Hersteller: BOSCH
Artikelnummer: EB-3601C89110-1619P09804
nur Informationsartikel
Nie mehr lieferbar
keine Alternativen
Pos.
25
BOSCH Griffschale BLAU | Ersatzteile für GP712VS | 1605132009
Hersteller: BOSCH
Artikelnummer: EB-3601C89110-1605132009
nur Informationsartikel
Nie mehr lieferbar
keine Alternativen
Pos.
25
BOSCH Handgriff | Ersatzteile für GP712VS | 1600A01N0J
Hersteller: BOSCH
Artikelnummer: EB-3601C89110-1600A01N0J
Netto: 11,92 € zzgl. MwSt.
zzgl. 6,90 € Versand (brutto)
einmalig pro Bestellung

Lieferzeit: 5 Werktage

Pos.
26
BOSCH Gummiring | Ersatzteile für GP712VS | 1600206036
Hersteller: BOSCH
Artikelnummer: EB-3601C89110-1600206036
Netto: 3,94 € zzgl. MwSt.
zzgl. 6,90 € Versand (brutto)
einmalig pro Bestellung

Lieferzeit: 5 Werktage

Pos.
27
BOSCH Gummiring | Ersatzteile für GP712VS | 1600206025
Hersteller: BOSCH
Artikelnummer: EB-3601C89110-1600206025
Netto: 4,32 € zzgl. MwSt.
zzgl. 6,90 € Versand (brutto)
einmalig pro Bestellung

Lieferzeit: 5 Werktage

Pos.
29
BOSCH Luftleitring | Ersatzteile für GP712VS | 1619P09716
Hersteller: BOSCH
Artikelnummer: EB-3601C89110-1619P09716
Netto: 4,53 € zzgl. MwSt.
zzgl. 6,90 € Versand (brutto)
einmalig pro Bestellung

Lieferzeit: 5 Werktage

Pos.
30
BOSCH Luftleitring | Ersatzteile für GP712VS | 1600591014
Hersteller: BOSCH
Artikelnummer: EB-3601C89110-1600591014
Netto: 4,53 € zzgl. MwSt.
zzgl. 6,90 € Versand (brutto)
einmalig pro Bestellung

Lieferzeit: 5 Werktage

Pos.
32
BOSCH Schleifspindel | Ersatzteile für GP712VS | 1619P09805
Hersteller: BOSCH
Artikelnummer: EB-3601C89110-1619P09805
nur Informationsartikel
Nie mehr lieferbar
keine Alternativen
Pos.
33
BOSCH O-Ring 46,0x1,1 MM | Ersatzteile für GP712VS | 1600210035
Hersteller: BOSCH
Artikelnummer: EB-3601C89110-1600210035
Netto: 3,94 € zzgl. MwSt.
zzgl. 6,90 € Versand (brutto)
einmalig pro Bestellung

Lieferzeit: 5 Werktage

Pos.
37
BOSCH Radial-Wellendichtring | Ersatzteile für GP712VS | 1600290016
Hersteller: BOSCH
Artikelnummer: EB-3601C89110-1600290016
Netto: 4,53 € zzgl. MwSt.
zzgl. 6,90 € Versand (brutto)
einmalig pro Bestellung

Lieferzeit: 5 Werktage

Pos.
38
BOSCH Tellerrad | Ersatzteile für GP712VS | 1619P07918
Hersteller: BOSCH
Artikelnummer: EB-3601C89110-1619P07918
Netto: 32,74 € zzgl. MwSt.
zzgl. 6,90 € Versand (brutto)
einmalig pro Bestellung

Lieferzeit: 5 Werktage

Pos.
39
BOSCH Kegelrad | Ersatzteile für GP712VS | 1619P07919
Hersteller: BOSCH
Artikelnummer: EB-3601C89110-1619P07919
Netto: 24,13 € zzgl. MwSt.
zzgl. 6,90 € Versand (brutto)
einmalig pro Bestellung

Lieferzeit: 5 Werktage

Pos.
40
BOSCH Sicherungsbügel | Ersatzteile für GP712VS | 1600119011
Hersteller: BOSCH
Artikelnummer: EB-3601C89110-1600119011
Netto: 4,32 € zzgl. MwSt.
zzgl. 6,90 € Versand (brutto)
einmalig pro Bestellung

Lieferzeit: 5 Werktage

Pos.
41
BOSCH Rillenkugellager | Ersatzteile für GP712VS | 1619P08829
Hersteller: BOSCH
Artikelnummer: EB-3601C89110-1619P08829
nur Informationsartikel
Nie mehr lieferbar
keine Alternativen
Pos.
42
BOSCH Stirnrad | Ersatzteile für GP712VS | 1619P07912
Hersteller: BOSCH
Artikelnummer: EB-3601C89110-1619P07912
Netto: 21,16 € zzgl. MwSt.
zzgl. 6,90 € Versand (brutto)
einmalig pro Bestellung

Lieferzeit: 5 Werktage

Pos.
43
BOSCH Stirnrad | Ersatzteile für GP712VS | 1619P07911
Hersteller: BOSCH
Artikelnummer: EB-3601C89110-1619P07911
Netto: 21,16 € zzgl. MwSt.
zzgl. 6,90 € Versand (brutto)
einmalig pro Bestellung

Lieferzeit: 5 Werktage

Pos.
45
BOSCH Sechskantmutter M7, SW10 | Ersatzteile für GP712VS | 1603300016
Hersteller: BOSCH
Artikelnummer: EB-3601C89110-1603300016
Netto: 3,94 € zzgl. MwSt.
zzgl. 6,90 € Versand (brutto)
einmalig pro Bestellung

Lieferzeit: 5 Werktage

Pos.
47
BOSCH Schraube | Ersatzteile für GP712VS | 1619P00029
Hersteller: BOSCH
Artikelnummer: EB-3601C89110-1619P00029
Netto: 3,63 € zzgl. MwSt.
zzgl. 6,90 € Versand (brutto)
einmalig pro Bestellung

Lieferzeit: 5 Werktage

Pos.
48
BOSCH Blechschraube DIN7981-ST2,9x9,5C-Z | Ersatzteile für GP712VS | 2912401005
Hersteller: BOSCH
Artikelnummer: EB-3601C89110-2912401005
Netto: 3,63 € zzgl. MwSt.
zzgl. 6,90 € Versand (brutto)
einmalig pro Bestellung

Lieferzeit: 5 Werktage

Pos.
49
BOSCH Gewindefurchschraube | Ersatzteile für GP712VS | 1619P08825
Hersteller: BOSCH
Artikelnummer: EB-3601C89110-1619P08825
Netto: 3,63 € zzgl. MwSt.
zzgl. 6,90 € Versand (brutto)
einmalig pro Bestellung

Lieferzeit: 5 Werktage

Pos.
50
BOSCH Torx-Linsenschraube 4x20 | Ersatzteile für GP712VS | 1619P00105
Hersteller: BOSCH
Artikelnummer: EB-3601C89110-1619P00105
Netto: 3,94 € zzgl. MwSt.
zzgl. 6,90 € Versand (brutto)
einmalig pro Bestellung

Lieferzeit: 5 Werktage

Pos.
53
BOSCH Torx-Linsenschraube 4x25 | Ersatzteile für GP712VS | 1619P01066
Hersteller: BOSCH
Artikelnummer: EB-3601C89110-1619P01066
Netto: 3,63 € zzgl. MwSt.
zzgl. 6,90 € Versand (brutto)
einmalig pro Bestellung

Lieferzeit: 5 Werktage

Pos.
58
BOSCH O-Ring 39,0x1,1 MM | Ersatzteile für GP712VS | 1619P07915
Hersteller: BOSCH
Artikelnummer: EB-3601C89110-1619P07915
Netto: 3,63 € zzgl. MwSt.
zzgl. 6,90 € Versand (brutto)
einmalig pro Bestellung

Lieferzeit: 5 Werktage

Pos.
108
BOSCH Abdeckkappe | Ersatzteile für GP712VS | 1619P09759
Hersteller: BOSCH
Artikelnummer: EB-3601C89110-1619P09759
Netto: 5,67 € zzgl. MwSt.
zzgl. 6,90 € Versand (brutto)
einmalig pro Bestellung

Lieferzeit: 5 Werktage

Pos.
109
BOSCH Deckel SCHWARZ | Ersatzteile für GP712VS | 1605500263
Hersteller: BOSCH
Artikelnummer: EB-3601C89110-1605500263
Netto: 5,67 € zzgl. MwSt.
zzgl. 6,90 € Versand (brutto)
einmalig pro Bestellung

Lieferzeit: 5 Werktage

Pos.
180
BOSCH Einklebeblatt | Ersatzteile für GP712VS | 1619P09116
Hersteller: BOSCH
Artikelnummer: EB-3601C89110-1619P09116
Netto: 4,53 € zzgl. MwSt.
zzgl. 6,90 € Versand (brutto)
einmalig pro Bestellung

Lieferzeit: 5 Werktage

Pos.
652
BOSCH Polierteller | Ersatzteile für GP712VS | 1619P09869
Hersteller: BOSCH
Artikelnummer: EB-3601C89110-1619P09869
nur Informationsartikel
Nie mehr lieferbar
keine Alternativen
Pos.
802
BOSCH Polschuh 100-127V | Ersatzteile für GP712VS | 1619P09951
Hersteller: BOSCH
Artikelnummer: EB-3601C89110-1619P09951
Netto: 29,45 € zzgl. MwSt.
zzgl. 6,90 € Versand (brutto)
einmalig pro Bestellung

Lieferzeit: 5 Werktage

Pos.
803
BOSCH Anker Mit Lüfter 100-127V | Ersatzteile für GP712VS | 1619P09749
Hersteller: BOSCH
Artikelnummer: EB-3601C89110-1619P09749
Netto: 77,60 € zzgl. MwSt.
zzgl. 6,90 € Versand (brutto)
einmalig pro Bestellung

Lieferzeit: 5 Werktage

Pos.
808
BOSCH Typschild | Ersatzteile für GP712VS | 1619P09739
Hersteller: BOSCH
Artikelnummer: EB-3601C89110-1619P09739
nur Informationsartikel
Nie mehr lieferbar
keine Alternativen
Pos.
810
BOSCH Kohlebürstensatz | Ersatzteile für GP712VS | 1607014176
Hersteller: BOSCH
Artikelnummer: EB-3601C89110-1607014176
Netto: 11,92 € zzgl. MwSt.
zzgl. 6,90 € Versand (brutto)
einmalig pro Bestellung

Lieferzeit: 5 Werktage

Pos.
813
BOSCH Teilesatz | Ersatzteile für GP712VS | 1607000378
Hersteller: BOSCH
Artikelnummer: EB-3601C89110-1607000378
Netto: 7,30 € zzgl. MwSt.
zzgl. 6,90 € Versand (brutto)
einmalig pro Bestellung

Lieferzeit: 5 Werktage

Pos.
821
BOSCH Getriebegehäuse | Ersatzteile für GP712VS | 1619P09078
Hersteller: BOSCH
Artikelnummer: EB-3601C89110-1619P09078
Netto: 42,86 € zzgl. MwSt.
zzgl. 6,90 € Versand (brutto)
einmalig pro Bestellung

Lieferzeit: 5 Werktage

Pos.
828
BOSCH Lagerflansch | Ersatzteile für GP712VS | 1619P09081
Hersteller: BOSCH
Artikelnummer: EB-3601C89110-1619P09081
Netto: 26,88 € zzgl. MwSt.
zzgl. 6,90 € Versand (brutto)
einmalig pro Bestellung

Lieferzeit: 5 Werktage

Pos.
835
BOSCH Lüfter | Ersatzteile für GP712VS | 1606610132
Hersteller: BOSCH
Artikelnummer: EB-3601C89110-1606610132
nur Informationsartikel
Nie mehr lieferbar
keine Alternativen
Pos.
838
BOSCH Tellerrad | Ersatzteile für GP712VS | 1619P09080
Hersteller: BOSCH
Artikelnummer: EB-3601C89110-1619P09080
Netto: 47,09 € zzgl. MwSt.
zzgl. 6,90 € Versand (brutto)
einmalig pro Bestellung

Lieferzeit: 5 Werktage

Pos.
840
BOSCH Drucktastensatz | Ersatzteile für GP712VS | 1619P09082
Hersteller: BOSCH
Artikelnummer: EB-3601C89110-1619P09082
Netto: 4,32 € zzgl. MwSt.
zzgl. 6,90 € Versand (brutto)
einmalig pro Bestellung

Lieferzeit: 5 Werktage

Pos.
851
BOSCH Drehzahlregler | Ersatzteile für GP712VS | 1619P09747
Hersteller: BOSCH
Artikelnummer: EB-3601C89110-1619P09747
Netto: 35,77 € zzgl. MwSt.
zzgl. 6,90 € Versand (brutto)
einmalig pro Bestellung

Lieferzeit: 5 Werktage

Pos.
857
BOSCH Getriebedeckel | Ersatzteile für GP712VS | 1619P09079
Hersteller: BOSCH
Artikelnummer: EB-3601C89110-1619P09079
Netto: 15,75 € zzgl. MwSt.
zzgl. 6,90 € Versand (brutto)
einmalig pro Bestellung

Lieferzeit: 5 Werktage

Pos.
890
BOSCH Handgriff | Ersatzteile für GP712VS | 1619P07563
Hersteller: BOSCH
Artikelnummer: EB-3601C89110-1619P07563
Netto: 21,16 € zzgl. MwSt.
zzgl. 6,90 € Versand (brutto)
einmalig pro Bestellung

Lieferzeit: 5 Werktage

Pos.
891
BOSCH Zusatzhandgriff | Ersatzteile für GP712VS | 1619P16111
Hersteller: BOSCH
Artikelnummer: EB-3601C89110-1619P16111
Netto: 4,82 € zzgl. MwSt.
zzgl. 6,90 € Versand (brutto)
einmalig pro Bestellung

Lieferzeit: 29 Werktage

Pos.
891
BOSCH Zusatzhandgriff M10, Ø32,5x105 MM | Ersatzteile für GP712VS | 2602025067
Hersteller: BOSCH
Artikelnummer: EB-3601C89110-2602025067
nur Informationsartikel
Nie mehr lieferbar
keine Alternativen
Pos.
894
BOSCH Fetttube 225 ML | Ersatzteile für GP712VS | 1615430020
Hersteller: BOSCH
Artikelnummer: EB-3601C89110-1615430020
Netto: 17,38 € zzgl. MwSt.
zzgl. 6,90 € Versand (brutto)
einmalig pro Bestellung

Lieferzeit: 5 Werktage

Pos.
895
BOSCH Fetttube 225 ML | Ersatzteile für GP712VS | 1605430003
Hersteller: BOSCH
Artikelnummer: EB-3601C89110-1605430003
Netto: 29,45 € zzgl. MwSt.
zzgl. 6,90 € Versand (brutto)
einmalig pro Bestellung

Lieferzeit: 7 Werktage

Pos.
897
BOSCH Sechskantschraubendreher | Ersatzteile für GP712VS | 1619P07612
Hersteller: BOSCH
Artikelnummer: EB-3601C89110-1619P07612
Netto: 4,80 € zzgl. MwSt.
zzgl. 6,90 € Versand (brutto)
einmalig pro Bestellung

Lieferzeit: 5 Werktage

Pos.
898
BOSCH Sechskantschraube | Ersatzteile für GP712VS | 1619P07611
Hersteller: BOSCH
Artikelnummer: EB-3601C89110-1619P07611
Netto: 5,19 € zzgl. MwSt.
zzgl. 6,90 € Versand (brutto)
einmalig pro Bestellung

Lieferzeit: 5 Werktage

Angaben zur Produktsicherheit

Hersteller:
Robert Bosch Power Tools GmbH
Postfach 30 02 20
70442 Stuttgart

E-Mail:
kontakt@bosch.de