BOSCH ZSB Motor-Getriebe | Ersatzteile für GRL 1000-20HV | 1600A01R7V

Artikelnummer: EB-3601K61P10-1600A01R7V

Position: 810/1/1/14

Marke: BOSCH


Bitte Kompatibilität prüfen!

Bitte prüfen Sie unbedingt die 10-stellige Typennummer Ihrer Maschine / Ihres Gerätes. Das Ersatzteil ist nur kompatibel, wenn Sie die Typennummer Ihrer Maschine in der unten stehenden Produktbeschreibung finden.

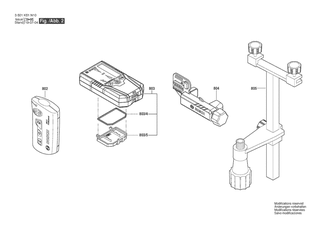
Bitte prüfen Sie ebenfalls detailliert die Explosionszeichnung mit Ihrem Artikelwunsch und der jeweiligen Pos-Nummer.

Alle Elemente, welche vom schwarzen Strich der Pos-Nummer ausgehend berührt / erfasst werden, gehören zu dieser Pos-Nummer und somit zu diesem Artikel. Jede Pos-Nummer ist ein eigenständiger Artikel, welchen Sie in der Auflistung finden.

Sie erhalten stets die aktuellste, neueste Produktversion zu der gewählten Pos-Nummer seitens des Herstellers. Es kann daher je nach Gerätealter vorkommen, dass Sie ggf. weitere, zugehörige Elemente, welche an diese Pos-Nummer grenzen, ebenfalls mittauschen müssen.

Nähere Informationen finden Sie unter dem Link
Hinweise zu Ihrer BOSCH Ersatzteilsuche

Preisübersicht

Einzelpreis: 26,88 €* (Brutto: 31,99 €)
Gesamtpreis: 26,88 €* 
Position:

Lieferzeit: 5 Werktage


Beschreibung

  • ZSB Motor-Getriebe
  • Original Bosch Zubehör / BOSCH Ersatzteil (1600A01R7V)
  • im Gerät verbaut: 1
Dieses BOSCH Ersatzteil ist mit folgendem Gerät und Modell kompatibel:
  • BOSCH Gerätename: GRL 1000-20HV
  • BOSCH Explosionszeichnung: Position 810/1/1/14
  • BOSCH Typennummer: 3601K61P10
  • BOSCH Typennummer alternative Schreibweisen: 3 601 K61 P10, 3601 K61 P10, 3.601.K61.P10, 3-601-K61-P10
    Bitte prüfen Sie diese Typennummer auf Ihrem Gerät um die Kompatibilität des BOSCH Ersatzteils zu gewährleisten.
Weitere BOSCH Ersatzteile des Gerätes GRL 1000-20HV (Baulaser) mit der Typennummer 3601K61P10 finden Sie in der nachfolgenden Darstellung und im Dropdown zu Ihrer Auswahl:

Pos.
1/1/1
BOSCH Motorgehäuse | Ersatzteile für GRL1000-20HV | 2610A12237
Hersteller: BOSCH
Artikelnummer: EB-3601K61P10-16051082MP
nur Informationsartikel
Nie mehr lieferbar
keine Alternativen
Pos.
1/1/1/14
BOSCH ZSB Motor-Getriebe | Ersatzteile für GRL1000-20HV | 2610A13249
Hersteller: BOSCH
Artikelnummer: EB-3601K61P10-2610A13249
nur Informationsartikel
Nie mehr lieferbar
keine Alternativen
Pos.
1/1/1/14/7
BOSCH Motorplatte | Ersatzteile für GRL1000-20HV | 2610A12302
Hersteller: BOSCH
Artikelnummer: EB-3601K61P10-2610A12302
nur Informationsartikel
Nie mehr lieferbar
keine Alternativen
Pos.
1/1/1/16
BOSCH Blechschraube | Ersatzteile für GRL1000-20HV | 2610A12301
Hersteller: BOSCH
Artikelnummer: EB-3601K61P10-2610A12301
Netto: 3,63 € zzgl. MwSt.
zzgl. 6,90 € Versand (brutto)
einmalig pro Bestellung

Lieferzeit: 5 Werktage

Pos.
1/1/1/17
BOSCH Innensechskantschraube | Ersatzteile für GRL1000-20HV | 2610A12275
Hersteller: BOSCH
Artikelnummer: EB-3601K61P10-2610A12275
Netto: 3,63 € zzgl. MwSt.
zzgl. 6,90 € Versand (brutto)
einmalig pro Bestellung

Lieferzeit: 5 Werktage

Pos.
1/1/1/18
BOSCH Zugfeder | Ersatzteile für GRL1000-20HV | 2610A12283
Hersteller: BOSCH
Artikelnummer: EB-3601K61P10-2610A12283
Netto: 3,63 € zzgl. MwSt.
zzgl. 6,90 € Versand (brutto)
einmalig pro Bestellung

Lieferzeit: 5 Werktage

Pos.
1/1/1/19
BOSCH Zugfeder | Ersatzteile für GRL1000-20HV | 2610A13065
Hersteller: BOSCH
Artikelnummer: EB-3601K61P10-2610A13065
Netto: 3,63 € zzgl. MwSt.
zzgl. 6,90 € Versand (brutto)
einmalig pro Bestellung

Lieferzeit: 5 Werktage

Pos.
1/1/1/20
BOSCH Bremsfeder | Ersatzteile für GRL1000-20HV | 2610A14394
Hersteller: BOSCH
Artikelnummer: EB-3601K61P10-2610A14394
nur Informationsartikel
Nie mehr lieferbar
keine Alternativen
Pos.
1/1/10
BOSCH Endschalter | Ersatzteile für GRL1000-20HV | 2610A13399
Hersteller: BOSCH
Artikelnummer: EB-3601K61P10-2610A13399
Netto: 3,63 € zzgl. MwSt.
zzgl. 6,90 € Versand (brutto)
einmalig pro Bestellung

Lieferzeit: 5 Werktage

Pos.
1/1/3
BOSCH Endschalter | Ersatzteile für GRL1000-20HV | 2610A13397
Hersteller: BOSCH
Artikelnummer: EB-3601K61P10-2610A13397
Netto: 3,94 € zzgl. MwSt.
zzgl. 6,90 € Versand (brutto)
einmalig pro Bestellung

Lieferzeit: 5 Werktage

Pos.
1/1/5
BOSCH Innensechskantschraube | Ersatzteile für GRL1000-20HV | 2610A12272
Hersteller: BOSCH
Artikelnummer: EB-3601K61P10-2610A12272
Netto: 3,63 € zzgl. MwSt.
zzgl. 6,90 € Versand (brutto)
einmalig pro Bestellung

Lieferzeit: 5 Werktage

Pos.
1/1/7
BOSCH Flexible Leiterplatte | Ersatzteile für GRL1000-20HV | 2610A12359
Hersteller: BOSCH
Artikelnummer: EB-3601K61P10-2610A12359
Netto: 4,32 € zzgl. MwSt.
zzgl. 6,90 € Versand (brutto)
einmalig pro Bestellung

Lieferzeit: 5 Werktage

Pos.
1/2
BOSCH Objektivfassung | Ersatzteile für GRL1000-20HV | 2610A12298
Hersteller: BOSCH
Artikelnummer: EB-3601K61P10-2610A12298
Netto: 57,47 € zzgl. MwSt.
zzgl. 6,90 € Versand (brutto)
einmalig pro Bestellung

Lieferzeit: 5 Werktage

Pos.
1/3
BOSCH Rundum-Kennleuchte | Ersatzteile für GRL1000-20HV | 2610A16066
Hersteller: BOSCH
Artikelnummer: EB-3601K61P10-2610A16066
Netto: 23,33 € zzgl. MwSt.
zzgl. 6,90 € Versand (brutto)
einmalig pro Bestellung

Lieferzeit: 5 Werktage

Pos.
1/4
BOSCH Montage | Ersatzteile für GRL1000-20HV | 2610A12340
Hersteller: BOSCH
Artikelnummer: EB-3601K61P10-2610A12340
nur Informationsartikel
Nie mehr lieferbar
keine Alternativen
Pos.
1/5
BOSCH Kugelbuchse | Ersatzteile für GRL1000-20HV | 2610A15789
Hersteller: BOSCH
Artikelnummer: EB-3601K61P10-2610A15789
nur Informationsartikel
Nie mehr lieferbar
keine Alternativen
Pos.
1/6
BOSCH Innensechskantschraube | Ersatzteile für GRL1000-20HV | 2610A12362
Hersteller: BOSCH
Artikelnummer: EB-3601K61P10-2610A12362
Netto: 3,63 € zzgl. MwSt.
zzgl. 6,90 € Versand (brutto)
einmalig pro Bestellung

Lieferzeit: 5 Werktage

Pos.
1/7
BOSCH Innensechskantschraube | Ersatzteile für GRL1000-20HV | 2610A12284
Hersteller: BOSCH
Artikelnummer: EB-3601K61P10-2610A12284
Netto: 3,63 € zzgl. MwSt.
zzgl. 6,90 € Versand (brutto)
einmalig pro Bestellung

Lieferzeit: 5 Werktage

Pos.
803/4
BOSCH Gehäuse-Dichtring | Ersatzteile für GRL1000-20HV | 1618C0121C
Hersteller: BOSCH
Artikelnummer: EB-3601K61P10-1618C0121C
nur Informationsartikel
Nie mehr lieferbar
keine Alternativen
Pos.
803/5
BOSCH Batteriehaube | Ersatzteile für GRL1000-20HV | 1618C0114U
Hersteller: BOSCH
Artikelnummer: EB-3601K61P10-1618C0114U
nur Informationsartikel
Nie mehr lieferbar
keine Alternativen
Pos.
810/1/1
BOSCH Motorgehäuse | Ersatzteile für GRL 1000-20HV | 16099221BA
Hersteller: BOSCH
Artikelnummer: EB-3601K61P10-16099221BA
Netto: 106,72 € zzgl. MwSt.
zzgl. 6,90 € Versand (brutto)
einmalig pro Bestellung

Lieferzeit: 5 Werktage

Pos.
810/1/1/14
BOSCH ZSB Motor-Getriebe | Ersatzteile für GRL 1000-20HV | 1600A01R7V
Hersteller: BOSCH
Artikelnummer: EB-3601K61P10-1600A01R7V
Netto: 26,88 € zzgl. MwSt.
zzgl. 6,90 € Versand (brutto)
einmalig pro Bestellung

Lieferzeit: 5 Werktage

Pos.
810/4
BOSCH Montage | Ersatzteile für GRL 1000-20HV | 1600A01R7U
Hersteller: BOSCH
Artikelnummer: EB-3601K61P10-1600A01R7U
Netto: 70,50 € zzgl. MwSt.
zzgl. 6,90 € Versand (brutto)
einmalig pro Bestellung

Lieferzeit: 5 Werktage

Pos.
2
BOSCH Gehaeuse | Ersatzteile für GRL1000-20HV | 2610A14450
Hersteller: BOSCH
Artikelnummer: EB-3601K61P10-2610A14450
Netto: 32,74 € zzgl. MwSt.
zzgl. 6,90 € Versand (brutto)
einmalig pro Bestellung

Lieferzeit: 5 Werktage

Pos.
3
BOSCH Gehaeuse | Ersatzteile für GRL1000-20HV | 2610A12957
Hersteller: BOSCH
Artikelnummer: EB-3601K61P10-2610A12957
Netto: 24,13 € zzgl. MwSt.
zzgl. 6,90 € Versand (brutto)
einmalig pro Bestellung

Lieferzeit: 5 Werktage

Pos.
4
BOSCH Handgriff | Ersatzteile für GRL1000-20HV | 2610A12464
Hersteller: BOSCH
Artikelnummer: EB-3601K61P10-2610A12464
nur Informationsartikel
Nie mehr lieferbar
keine Alternativen
Pos.
5
BOSCH Handgriff | Ersatzteile für GRL1000-20HV | 2610A12309
Hersteller: BOSCH
Artikelnummer: EB-3601K61P10-2610A12309
Netto: 19,18 € zzgl. MwSt.
zzgl. 6,90 € Versand (brutto)
einmalig pro Bestellung

Lieferzeit: 5 Werktage

Pos.
6
BOSCH Batteriegehäusebaugruppe | Ersatzteile für GRL1000-20HV | 2610A12327
Hersteller: BOSCH
Artikelnummer: EB-3601K61P10-2610A12327
nur Informationsartikel
Nie mehr lieferbar
keine Alternativen
Pos.
7
BOSCH Kaefig | Ersatzteile für GRL1000-20HV | 1600A013XF
Hersteller: BOSCH
Artikelnummer: EB-3601K61P10-1600A013XF
nur Informationsartikel
Nie mehr lieferbar
keine Alternativen
Pos.
8
BOSCH Schraubbolzen | Ersatzteile für GRL1000-20HV | 2610A12310
Hersteller: BOSCH
Artikelnummer: EB-3601K61P10-2610A12310
Netto: 4,82 € zzgl. MwSt.
zzgl. 6,90 € Versand (brutto)
einmalig pro Bestellung

Lieferzeit: 5 Werktage

Pos.
9
BOSCH Innensechskantschraube | Ersatzteile für GRL1000-20HV | 2610A12348
Hersteller: BOSCH
Artikelnummer: EB-3601K61P10-2610A12348
Netto: 4,32 € zzgl. MwSt.
zzgl. 6,90 € Versand (brutto)
einmalig pro Bestellung

Lieferzeit: 5 Werktage

Pos.
10
BOSCH Innensechskantschraube | Ersatzteile für GRL1000-20HV | 2610A12459
Hersteller: BOSCH
Artikelnummer: EB-3601K61P10-2610A12459
Netto: 3,63 € zzgl. MwSt.
zzgl. 6,90 € Versand (brutto)
einmalig pro Bestellung

Lieferzeit: 5 Werktage

Pos.
11
BOSCH Innensechskantschraube | Ersatzteile für GRL1000-20HV | 2610A12460
Hersteller: BOSCH
Artikelnummer: EB-3601K61P10-2610A12460
Netto: 3,63 € zzgl. MwSt.
zzgl. 6,90 € Versand (brutto)
einmalig pro Bestellung

Lieferzeit: 5 Werktage

Pos.
12
BOSCH Typschild | Ersatzteile für GRL1000-20HV | 160111A5DJ
Hersteller: BOSCH
Artikelnummer: EB-3601K61P10-160111A5DJ
nur Informationsartikel
Nie mehr lieferbar
keine Alternativen
Pos.
14
BOSCH Tastatur | Ersatzteile für GRL1000-20HV | 1600A013XM
Hersteller: BOSCH
Artikelnummer: EB-3601K61P10-1600A013XM
nur Informationsartikel
Nie mehr lieferbar
keine Alternativen
Pos.
801
BOSCH Montage | Ersatzteile für GRL1000-20HV | 1600A01NL9
Hersteller: BOSCH
Artikelnummer: EB-3601K61P10-1600A01NL9
Netto: 153,18 € zzgl. MwSt.
zzgl. 6,90 € Versand (brutto)
einmalig pro Bestellung

Lieferzeit: 5 Werktage

Pos.
802
BOSCH Fernbedienung | Ersatzteile für GRL1000-20HV | 1617S00W3M
Hersteller: BOSCH
Artikelnummer: EB-3601K61P10-1617S00W3M
nur Informationsartikel
Nie mehr lieferbar
keine Alternativen
Pos.
803
BOSCH Ersatzteilsatz | Ersatzteile für GRL1000-20HV | 1600A01D0X
Hersteller: BOSCH
Artikelnummer: EB-3601K61P10-1600A01D0X
nur Informationsartikel
Nie mehr lieferbar
keine Alternativen
Pos.
804
BOSCH Befestigungsklammer | Ersatzteile für GRL1000-20HV | 1618C0118C
Hersteller: BOSCH
Artikelnummer: EB-3601K61P10-1618C0118C
nur Informationsartikel
Nie mehr lieferbar
keine Alternativen
Pos.
805
BOSCH Aufspannwinkel | Ersatzteile für GRL1000-20HV | 2610A16661
Hersteller: BOSCH
Artikelnummer: EB-3601K61P10-2610A16661
Netto: 24,13 € zzgl. MwSt.
zzgl. 6,90 € Versand (brutto)
einmalig pro Bestellung

Lieferzeit: 5 Werktage

Pos.
807
BOSCH Nivellierelement | Ersatzteile für GRL 1000-20HV | 1600A020P4
Hersteller: BOSCH
Artikelnummer: EB-3601K61P10-1600A020P4
Netto: 153,18 € zzgl. MwSt.
zzgl. 6,90 € Versand (brutto)
einmalig pro Bestellung

Lieferzeit: 5 Werktage

Pos.
820
BOSCH Gerätegehäuse | Ersatzteile für GRL 1000-20HV | 1600A01R89
Hersteller: BOSCH
Artikelnummer: EB-3601K61P10-1600A01R89
nur Informationsartikel
Nie mehr lieferbar
keine Alternativen

Angaben zur Produktsicherheit

Hersteller:
Robert Bosch Power Tools GmbH
Postfach 30 02 20
70442 Stuttgart

E-Mail:
kontakt@bosch.de