BOSCH Bohrhalter | Ersatzteile für GSR 18V-1330 C | 2609199748

Artikelnummer: EB-3601JJ5010-2609199748

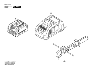
Position: 658

Marke: BOSCH


Bitte Kompatibilität prüfen!

Bitte prüfen Sie unbedingt die 10-stellige Typennummer Ihrer Maschine / Ihres Gerätes. Das Ersatzteil ist nur kompatibel, wenn Sie die Typennummer Ihrer Maschine in der unten stehenden Produktbeschreibung finden.

Bitte prüfen Sie ebenfalls detailliert die Explosionszeichnung mit Ihrem Artikelwunsch und der jeweiligen Pos-Nummer.

Alle Elemente, welche vom schwarzen Strich der Pos-Nummer ausgehend berührt / erfasst werden, gehören zu dieser Pos-Nummer und somit zu diesem Artikel. Jede Pos-Nummer ist ein eigenständiger Artikel, welchen Sie in der Auflistung finden.

Sie erhalten stets die aktuellste, neueste Produktversion zu der gewählten Pos-Nummer seitens des Herstellers. Es kann daher je nach Gerätealter vorkommen, dass Sie ggf. weitere, zugehörige Elemente, welche an diese Pos-Nummer grenzen, ebenfalls mittauschen müssen.

Nähere Informationen finden Sie unter dem Link
Hinweise zu Ihrer BOSCH Ersatzteilsuche

Preisübersicht

Einzelpreis: 4,32 €* (Brutto: 5,14 €)
Gesamtpreis: 4,32 €* 
Position:

Lieferzeit: 5 Werktage


Beschreibung

  • Bohrhalter
  • Original Bosch Zubehör / BOSCH Ersatzteil (2609199748)
  • im Gerät verbaut: 1
Dieses BOSCH Ersatzteil ist mit folgendem Gerät und Modell kompatibel:
  • BOSCH Gerätename: GSR 18V-1330 C
  • BOSCH Explosionszeichnung: Position 658
  • BOSCH Typennummer: 3601JJ5010
  • BOSCH Typennummer alternative Schreibweisen: 3 601 JJ5 010, 3601 JJ5 010, 3.601.JJ5.010, 3-601-JJ5-010
    Bitte prüfen Sie diese Typennummer auf Ihrem Gerät um die Kompatibilität des BOSCH Ersatzteils zu gewährleisten.
Weitere BOSCH Ersatzteile des Gerätes GSR 18V-1330 C (Akku-Bohrschrauber) mit der Typennummer 3601JJ5010 finden Sie in der nachfolgenden Darstellung und im Dropdown zu Ihrer Auswahl:

Pos.
1
BOSCH Gehäuse | Ersatzteile für GSR 18V-1330 C | 1600A01RC8
Hersteller: BOSCH
Artikelnummer: EB-3601JJ5010-1600A01RC8
Netto: 15,75 € zzgl. MwSt.
zzgl. 6,90 € Versand (brutto)
einmalig pro Bestellung

Lieferzeit: 5 Werktage

Pos.
657/1
BOSCH Geräteclip | Ersatzteile für GSR 18V-1330 C | 2609111584
Hersteller: BOSCH
Artikelnummer: EB-3601JJ5010-2609111584
Netto: 5,19 € zzgl. MwSt.
zzgl. 6,90 € Versand (brutto)
einmalig pro Bestellung

Lieferzeit: 5 Werktage

Pos.
657/2
BOSCH Schraube | Ersatzteile für GSR 18V-1330 C | 2609110834
Hersteller: BOSCH
Artikelnummer: EB-3601JJ5010-2609110834
Netto: 3,94 € zzgl. MwSt.
zzgl. 6,90 € Versand (brutto)
einmalig pro Bestellung

Lieferzeit: 5 Werktage

Pos.
3
BOSCH Schalter | Ersatzteile für GSR 18V-1330 C | 2607202501
Hersteller: BOSCH
Artikelnummer: EB-3601JJ5010-2607202501
Netto: 14,36 € zzgl. MwSt.
zzgl. 6,90 € Versand (brutto)
einmalig pro Bestellung

Lieferzeit: 5 Werktage

Pos.
4
BOSCH Elektronik-Modul | Ersatzteile für GSR 18V-1330 C | 16072335G8
Hersteller: BOSCH
Artikelnummer: EB-3601JJ5010-16072335G8
Netto: 96,32 € zzgl. MwSt.
zzgl. 6,90 € Versand (brutto)
einmalig pro Bestellung

Lieferzeit: 5 Werktage

Pos.
5
BOSCH Umschalthebel | Ersatzteile für GSR 18V-1330 C | 1600A01RH7
Hersteller: BOSCH
Artikelnummer: EB-3601JJ5010-1600A01RH7
Netto: 3,63 € zzgl. MwSt.
zzgl. 6,90 € Versand (brutto)
einmalig pro Bestellung

Lieferzeit: 5 Werktage

Pos.
7
BOSCH Deckeleinheit | Ersatzteile für GSR 18V-1330 C | 1600A032TB
Hersteller: BOSCH
Artikelnummer: EB-3601JJ5010-1600A01TN9
Nie mehr lieferbar
keine Alternativen
Pos.
9
BOSCH Firmenschild | Ersatzteile für GSR 18V-1330 C | 160111C47Y
Hersteller: BOSCH
Artikelnummer: EB-3601JJ5010-160111C47Y
Netto: 4,53 € zzgl. MwSt.
zzgl. 6,90 € Versand (brutto)
einmalig pro Bestellung

Lieferzeit: 5 Werktage

Pos.
16
BOSCH Elektronikmodul | Ersatzteile für GSR 18V-1330 C | 1600A016CZ
Hersteller: BOSCH
Artikelnummer: EB-3601JJ5010-1600A016CZ
Netto: 9,18 € zzgl. MwSt.
zzgl. 6,90 € Versand (brutto)
einmalig pro Bestellung

Lieferzeit: 5 Werktage

Pos.
17
BOSCH Abdeckblende | Ersatzteile für GSR 18V-1330 C | 1600A02KY7
Hersteller: BOSCH
Artikelnummer: EB-3601JJ5010-1600A02KY7
Netto: 4,32 € zzgl. MwSt.
zzgl. 6,90 € Versand (brutto)
einmalig pro Bestellung

Lieferzeit: 5 Werktage

Pos.
18
BOSCH Warnzettel | Ersatzteile für GSR 18V-1330 C | 1600A014J4
Hersteller: BOSCH
Artikelnummer: EB-3601JJ5010-1600A014J4
Netto: 4,53 € zzgl. MwSt.
zzgl. 6,90 € Versand (brutto)
einmalig pro Bestellung

Lieferzeit: 5 Werktage

Pos.
25
BOSCH Schnellspannbohrfutter | Ersatzteile für GSR 18V-1330 C | 1600A02HZ9
Hersteller: BOSCH
Artikelnummer: EB-3601JJ5010-1600A02HZ9
Netto: 29,45 € zzgl. MwSt.
zzgl. 6,90 € Versand (brutto)
einmalig pro Bestellung

Lieferzeit: 23 Werktage

Pos.
32
BOSCH Umschalteinheit | Ersatzteile für GSR 18V-1330 C | 1600A01C95
Hersteller: BOSCH
Artikelnummer: EB-3601JJ5010-1600A01C95
Netto: 3,63 € zzgl. MwSt.
zzgl. 6,90 € Versand (brutto)
einmalig pro Bestellung

Lieferzeit: 5 Werktage

Pos.
45
BOSCH Getriebekasten | Ersatzteile für GSR 18V-1330 C | 1600A01006
Hersteller: BOSCH
Artikelnummer: EB-3601JJ5010-1600A01006
Netto: 57,47 € zzgl. MwSt.
zzgl. 6,90 € Versand (brutto)
einmalig pro Bestellung

Lieferzeit: 5 Werktage

Pos.
46
BOSCH Druckfeder | Ersatzteile für GSR 18V-1330 C | 1609280477
Hersteller: BOSCH
Artikelnummer: EB-3601JJ5010-1609280477
Netto: 3,94 € zzgl. MwSt.
zzgl. 6,90 € Versand (brutto)
einmalig pro Bestellung

Lieferzeit: 5 Werktage

Pos.
47
BOSCH Elektronik-Modul | Ersatzteile für GSR 18V-1330 C | 16072335LS
Hersteller: BOSCH
Artikelnummer: EB-3601JJ5010-16072335LS
Netto: 26,88 € zzgl. MwSt.
zzgl. 6,90 € Versand (brutto)
einmalig pro Bestellung

Lieferzeit: 5 Werktage

Pos.
48
BOSCH Elektronik-Modul | Ersatzteile für GSR 18V-1330 C | 16072335LY
Hersteller: BOSCH
Artikelnummer: EB-3601JJ5010-16072335LY
Netto: 6,15 € zzgl. MwSt.
zzgl. 6,90 € Versand (brutto)
einmalig pro Bestellung

Lieferzeit: 5 Werktage

Pos.
91
BOSCH Akku-Paket | Ersatzteile für GSR 18V-1330 C | 1607A350CM
Hersteller: BOSCH
Artikelnummer: EB-3601JJ5010-1607A350CM
Nie mehr lieferbar
keine Alternativen
Pos.
91
BOSCH Akku-Paket GBA18V80 8.0AH PROCORE SCM | Ersatzteile für GSR 18V-1330 C | 1607A350CH
Hersteller: BOSCH
Artikelnummer: EB-3601JJ5010-1607A350CH
Netto: 189,11 € zzgl. MwSt.
zzgl. 6,90 € Versand (brutto)
einmalig pro Bestellung

Lieferzeit: 5 Werktage

Pos.
101
BOSCH Torx-Linsenschraube | Ersatzteile für GSR 18V-1330 C | 2609110353
Hersteller: BOSCH
Artikelnummer: EB-3601JJ5010-2609110353
Netto: 4,32 € zzgl. MwSt.
zzgl. 6,90 € Versand (brutto)
einmalig pro Bestellung

Lieferzeit: 5 Werktage

Pos.
107
BOSCH Senkschraube M6X23 LINKSGEWINDE | Ersatzteile für GSR 18V-1330 C | 2603421229
Hersteller: BOSCH
Artikelnummer: EB-3601JJ5010-2603421229
Netto: 3,94 € zzgl. MwSt.
zzgl. 6,90 € Versand (brutto)
einmalig pro Bestellung

Lieferzeit: 5 Werktage

Pos.
653
BOSCH Ladegerät USA BC 1880 CV 13,3-18V/120V | Ersatzteile für GSR 18V-1330 C | 2607225927
Hersteller: BOSCH
Artikelnummer: EB-3601JJ5010-2607225927
nur Informationsartikel
Nie mehr lieferbar
keine Alternativen
Pos.
653
BOSCH Schnell-Lader USA GAL 18V-160 C 120V | Ersatzteile für GSR 18V-1330 C | 2607226325
Hersteller: BOSCH
Artikelnummer: EB-3601JJ5010-2607226325
nur Informationsartikel
Nie mehr lieferbar
keine Alternativen
Pos.
658
BOSCH Bohrhalter | Ersatzteile für GSR 18V-1330 C | 2609199748
Hersteller: BOSCH
Artikelnummer: EB-3601JJ5010-2609199748
Netto: 4,32 € zzgl. MwSt.
zzgl. 6,90 € Versand (brutto)
einmalig pro Bestellung

Lieferzeit: 5 Werktage

Pos.
662
BOSCH Zusatzhandgriff | Ersatzteile für GSR 18V-1330 C | 160202507Y
Hersteller: BOSCH
Artikelnummer: EB-3601JJ5010-160202507Y
Netto: 21,16 € zzgl. MwSt.
zzgl. 6,90 € Versand (brutto)
einmalig pro Bestellung

Lieferzeit: 5 Werktage

Pos.
802
BOSCH Bürstenloser DC-Motor | Ersatzteile für GSR 18V-1330 C | 1600A024CL
Hersteller: BOSCH
Artikelnummer: EB-3601JJ5010-1600A024CL
Netto: 96,32 € zzgl. MwSt.
zzgl. 6,90 € Versand (brutto)
einmalig pro Bestellung

Lieferzeit: 5 Werktage

Pos.
804
BOSCH Kontakthalter | Ersatzteile für GSR 18V-1330 C | 1600A023LU
Hersteller: BOSCH
Artikelnummer: EB-3601JJ5010-1600A023LU
Netto: 6,70 € zzgl. MwSt.
zzgl. 6,90 € Versand (brutto)
einmalig pro Bestellung

Lieferzeit: 5 Werktage

Pos.
808
BOSCH Typschild | Ersatzteile für GSR 18V-1330 C | 160111A8NG
Hersteller: BOSCH
Artikelnummer: EB-3601JJ5010-160111A8NG
Netto: 4,53 € zzgl. MwSt.
zzgl. 6,90 € Versand (brutto)
einmalig pro Bestellung

Lieferzeit: 5 Werktage

Angaben zur Produktsicherheit

Hersteller:
Robert Bosch Power Tools GmbH
Postfach 30 02 20
70442 Stuttgart

E-Mail:
kontakt@bosch.de