BOSCH Schaltfeder | Ersatzteile für GSR18V-975C | 2609112036

Artikelnummer: EB-3601JG0111-2609112036

Position: 858

Marke: BOSCH


Bitte Kompatibilität prüfen!

Bitte prüfen Sie unbedingt die 10-stellige Typennummer Ihrer Maschine / Ihres Gerätes. Das Ersatzteil ist nur kompatibel, wenn Sie die Typennummer Ihrer Maschine in der unten stehenden Produktbeschreibung finden.

Bitte prüfen Sie ebenfalls detailliert die Explosionszeichnung mit Ihrem Artikelwunsch und der jeweiligen Pos-Nummer.

Alle Elemente, welche vom schwarzen Strich der Pos-Nummer ausgehend berührt / erfasst werden, gehören zu dieser Pos-Nummer und somit zu diesem Artikel. Jede Pos-Nummer ist ein eigenständiger Artikel, welchen Sie in der Auflistung finden.

Sie erhalten stets die aktuellste, neueste Produktversion zu der gewählten Pos-Nummer seitens des Herstellers. Es kann daher je nach Gerätealter vorkommen, dass Sie ggf. weitere, zugehörige Elemente, welche an diese Pos-Nummer grenzen, ebenfalls mittauschen müssen.

Nähere Informationen finden Sie unter dem Link
Hinweise zu Ihrer BOSCH Ersatzteilsuche

Preisübersicht

Einzelpreis: 3,63 €* (Brutto: 4,32 €)
Gesamtpreis: 3,63 €* 
Position:

Lieferzeit: 5 Werktage


Beschreibung

  • Schaltfeder
  • Original Bosch Zubehör / BOSCH Ersatzteil (2609112036)
  • im Gerät verbaut: 1
Dieses BOSCH Ersatzteil ist mit folgendem Gerät und Modell kompatibel:
  • BOSCH Gerätename: GSR18V-975C
  • BOSCH Explosionszeichnung: Position 858
  • BOSCH Typennummer: 3601JG0111
  • BOSCH Typennummer alternative Schreibweisen: 3 601 JG0 111, 3601 JG0 111, 3.601.JG0.111, 3-601-JG0-111
    Bitte prüfen Sie diese Typennummer auf Ihrem Gerät um die Kompatibilität des BOSCH Ersatzteils zu gewährleisten.
Weitere BOSCH Ersatzteile des Gerätes GSR18V-975C (Akku-Bohrschrauber) mit der Typennummer 3601JG0111 finden Sie in der nachfolgenden Darstellung und im Dropdown zu Ihrer Auswahl:

Pos.
1
BOSCH Gehäuse | Ersatzteile für GSR18V-975C | 1600A00M51
Hersteller: BOSCH
Artikelnummer: EB-3601JG0111-1600A00M51
Netto: 17,38 € zzgl. MwSt.
zzgl. 6,90 € Versand (brutto)
einmalig pro Bestellung

Lieferzeit: 5 Werktage

Pos.
4/3
BOSCH Leiterplatte bestückt | Ersatzteile für GSR18V-975C | 1607503377
Hersteller: BOSCH
Artikelnummer: EB-3601JG0111-1607503377
Netto: 9,18 € zzgl. MwSt.
zzgl. 6,90 € Versand (brutto)
einmalig pro Bestellung

Lieferzeit: 5 Werktage

Pos.
656/1
BOSCH Geräteclip | Ersatzteile für GSR18V-975C | 2609111584
Hersteller: BOSCH
Artikelnummer: EB-3601JG0111-2609111584
Netto: 5,19 € zzgl. MwSt.
zzgl. 6,90 € Versand (brutto)
einmalig pro Bestellung

Lieferzeit: 5 Werktage

Pos.
656/2
BOSCH Schraube | Ersatzteile für GSR18V-975C | 2609110834
Hersteller: BOSCH
Artikelnummer: EB-3601JG0111-2609110834
Netto: 3,94 € zzgl. MwSt.
zzgl. 6,90 € Versand (brutto)
einmalig pro Bestellung

Lieferzeit: 5 Werktage

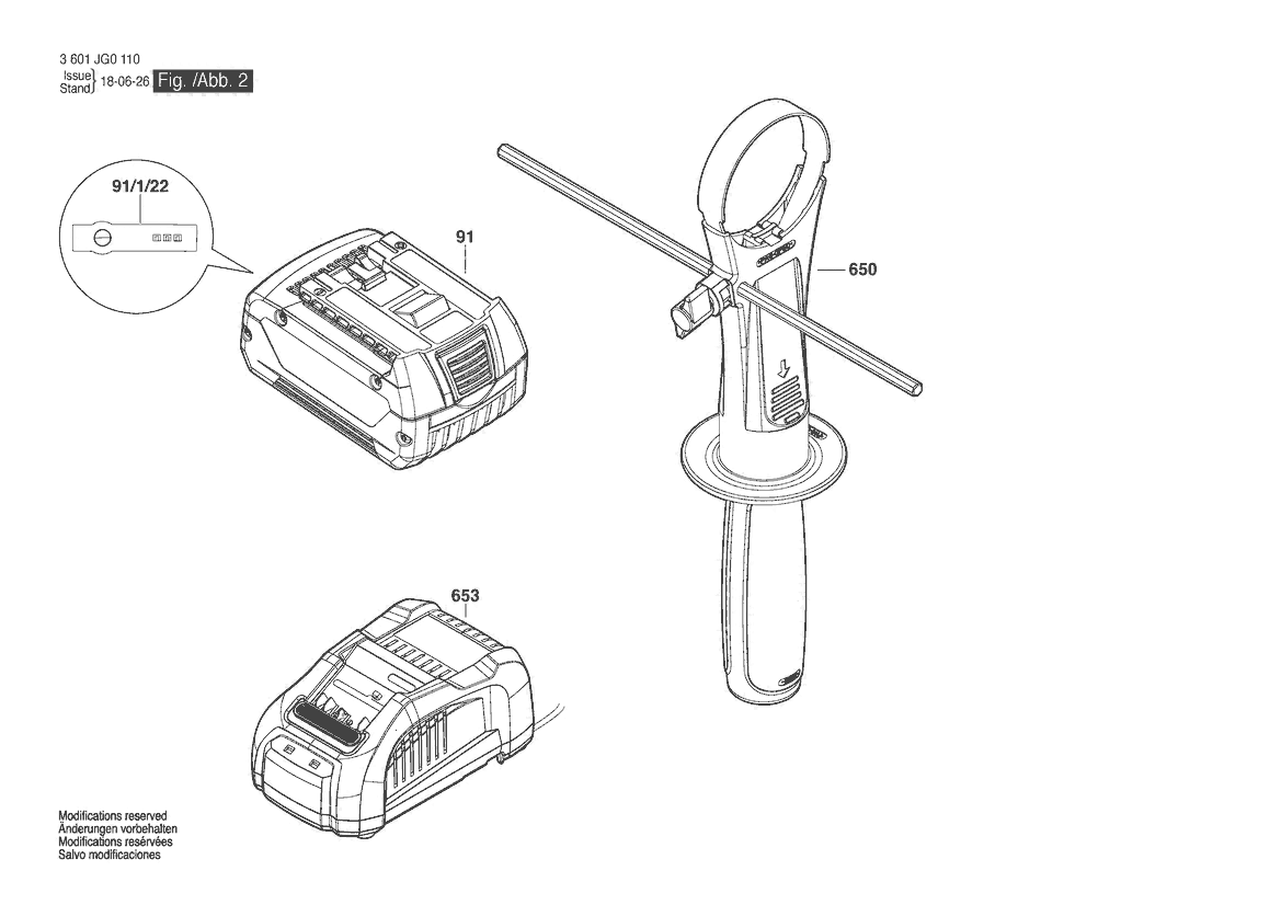
Pos.
91/1/22
BOSCH Klebeschild | Ersatzteile für GSR18V-975C | 2601115537
Hersteller: BOSCH
Artikelnummer: EB-3601JG0111-2601115537
nur Informationsartikel
Nie mehr lieferbar
keine Alternativen
Pos.
3
BOSCH O-Ring | Ersatzteile für GSR18V-975C | 2609170278
Hersteller: BOSCH
Artikelnummer: EB-3601JG0111-2609170278
Netto: 4,32 € zzgl. MwSt.
zzgl. 6,90 € Versand (brutto)
einmalig pro Bestellung

Lieferzeit: 5 Werktage

Pos.
4
BOSCH Elektronikmodul | Ersatzteile für GSR18V-975C | 16072335DC
Hersteller: BOSCH
Artikelnummer: EB-3601JG0111-16072335DC
Netto: 106,72 € zzgl. MwSt.
zzgl. 6,90 € Versand (brutto)
einmalig pro Bestellung

Lieferzeit: 5 Werktage

Pos.
5
BOSCH Verstellhebel | Ersatzteile für GSR18V-975C | 2609101551
Hersteller: BOSCH
Artikelnummer: EB-3601JG0111-2609101551
Netto: 3,63 € zzgl. MwSt.
zzgl. 6,90 € Versand (brutto)
einmalig pro Bestellung

Lieferzeit: 5 Werktage

Pos.
7
BOSCH Deckeleinheit | Ersatzteile für GSR18V-975C | 1600A032TA
Hersteller: BOSCH
Artikelnummer: EB-3601JG0111-1600A00RU9
Nie mehr lieferbar
keine Alternativen
Pos.
9
BOSCH Firmenschild | Ersatzteile für GSR18V-975C | 2610067343
Hersteller: BOSCH
Artikelnummer: EB-3601JG0111-2610067343
Netto: 4,53 € zzgl. MwSt.
zzgl. 6,90 € Versand (brutto)
einmalig pro Bestellung

Lieferzeit: 5 Werktage

Pos.
16
BOSCH Leiterplatte bestückt | Ersatzteile für GSR18V-975C | 1607503333
Hersteller: BOSCH
Artikelnummer: EB-3601JG0111-1607503333
Netto: 10,92 € zzgl. MwSt.
zzgl. 6,90 € Versand (brutto)
einmalig pro Bestellung

Lieferzeit: 5 Werktage

Pos.
17
BOSCH Abdeckblende | Ersatzteile für GSR18V-975C | 1600A00M53
Hersteller: BOSCH
Artikelnummer: EB-3601JG0111-1600A00M53
Netto: 3,63 € zzgl. MwSt.
zzgl. 6,90 € Versand (brutto)
einmalig pro Bestellung

Lieferzeit: 5 Werktage

Pos.
25
BOSCH Schnellspannbohrfutter | Ersatzteile für GSR18V-975C | 1600A01YE8
Hersteller: BOSCH
Artikelnummer: EB-3601JG0111-1600A01YE8
Netto: 29,45 € zzgl. MwSt.
zzgl. 6,90 € Versand (brutto)
einmalig pro Bestellung

Lieferzeit: 63 Werktage

Pos.
45
BOSCH Getriebekasten | Ersatzteile für GSR18V-975C | 1600A003BB
Hersteller: BOSCH
Artikelnummer: EB-3601JG0111-1600A003BB
Netto: 47,09 € zzgl. MwSt.
zzgl. 6,90 € Versand (brutto)
einmalig pro Bestellung

Lieferzeit: 12 Werktage

Pos.
46
BOSCH Druckfeder | Ersatzteile für GSR18V-975C | 1609280477
Hersteller: BOSCH
Artikelnummer: EB-3601JG0111-1609280477
Netto: 3,94 € zzgl. MwSt.
zzgl. 6,90 € Versand (brutto)
einmalig pro Bestellung

Lieferzeit: 5 Werktage

Pos.
47
BOSCH Linse | Ersatzteile für GSR18V-975C | 2609101490
Hersteller: BOSCH
Artikelnummer: EB-3601JG0111-2609101490
Netto: 3,94 € zzgl. MwSt.
zzgl. 6,90 € Versand (brutto)
einmalig pro Bestellung

Lieferzeit: 5 Werktage

Pos.
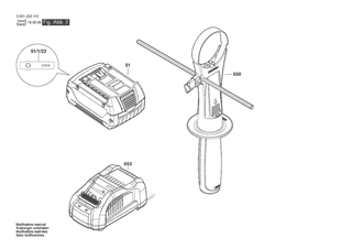
91
BOSCH Akku-Paket USA BAT620 18V 4,0AH | Ersatzteile für GSR18V-975C | 2607336819
Hersteller: BOSCH
Artikelnummer: EB-3601JG0111-2607336819
Netto: 150,24 € zzgl. MwSt.
zzgl. 6,90 € Versand (brutto)
einmalig pro Bestellung

Lieferzeit: 5 Werktage

Pos.
101
BOSCH Torx-Linsenschraube | Ersatzteile für GSR18V-975C | 2609110353
Hersteller: BOSCH
Artikelnummer: EB-3601JG0111-2609110353
Netto: 4,32 € zzgl. MwSt.
zzgl. 6,90 € Versand (brutto)
einmalig pro Bestellung

Lieferzeit: 5 Werktage

Pos.
107
BOSCH Senkschraube M6X23 LINKSGEWINDE | Ersatzteile für GSR18V-975C | 2603421229
Hersteller: BOSCH
Artikelnummer: EB-3601JG0111-2603421229
Netto: 3,94 € zzgl. MwSt.
zzgl. 6,90 € Versand (brutto)
einmalig pro Bestellung

Lieferzeit: 5 Werktage

Pos.
181
BOSCH Warnzettel | Ersatzteile für GSR18V-975C | 1600A014J4
Hersteller: BOSCH
Artikelnummer: EB-3601JG0111-1600A014J4
Netto: 4,53 € zzgl. MwSt.
zzgl. 6,90 € Versand (brutto)
einmalig pro Bestellung

Lieferzeit: 5 Werktage

Pos.
182
BOSCH Warnschild | Ersatzteile für GSR18V-975C | 2610045280
Hersteller: BOSCH
Artikelnummer: EB-3601JG0111-2610045280
Netto: 4,53 € zzgl. MwSt.
zzgl. 6,90 € Versand (brutto)
einmalig pro Bestellung

Lieferzeit: 5 Werktage

Pos.
650
BOSCH Zusatzhandgriff | Ersatzteile für GSR18V-975C | 160202507X
Hersteller: BOSCH
Artikelnummer: EB-3601JG0111-160202507X
Netto: 17,38 € zzgl. MwSt.
zzgl. 6,90 € Versand (brutto)
einmalig pro Bestellung

Lieferzeit: 5 Werktage

Pos.
653
BOSCH Ladegerät USA BC 1880 CV 13,3-18V/120V | Ersatzteile für GSR18V-975C | 2607225927
Hersteller: BOSCH
Artikelnummer: EB-3601JG0111-2607225927
nur Informationsartikel
Nie mehr lieferbar
keine Alternativen
Pos.
655
BOSCH Bohrhalter | Ersatzteile für GSR18V-975C | 2609199748
Hersteller: BOSCH
Artikelnummer: EB-3601JG0111-2609199748
Netto: 4,32 € zzgl. MwSt.
zzgl. 6,90 € Versand (brutto)
einmalig pro Bestellung

Lieferzeit: 5 Werktage

Pos.
803
BOSCH Et-Motorgruppe | Ersatzteile für GSR18V-975C | 1600A00XG0
Hersteller: BOSCH
Artikelnummer: EB-3601JG0111-1600A00XG0
Netto: 70,50 € zzgl. MwSt.
zzgl. 6,90 € Versand (brutto)
einmalig pro Bestellung

Lieferzeit: 47 Werktage

Pos.
804
BOSCH Kontakthalter 18V | Ersatzteile für GSR18V-975C | 1609280820
Hersteller: BOSCH
Artikelnummer: EB-3601JG0111-1609280820
Netto: 6,70 € zzgl. MwSt.
zzgl. 6,90 € Versand (brutto)
einmalig pro Bestellung

Lieferzeit: 5 Werktage

Pos.
808
BOSCH Typschild | Ersatzteile für GSR18V-975C | 160111A8UC
Hersteller: BOSCH
Artikelnummer: EB-3601JG0111-160111A8UC
Nie mehr lieferbar
keine Alternativen
Pos.
857
BOSCH Schaltschieber | Ersatzteile für GSR18V-975C | 2609101554
Hersteller: BOSCH
Artikelnummer: EB-3601JG0111-2609101554
Netto: 4,32 € zzgl. MwSt.
zzgl. 6,90 € Versand (brutto)
einmalig pro Bestellung

Lieferzeit: 5 Werktage

Pos.
858
BOSCH Schaltfeder | Ersatzteile für GSR18V-975C | 2609112036
Hersteller: BOSCH
Artikelnummer: EB-3601JG0111-2609112036
Netto: 3,63 € zzgl. MwSt.
zzgl. 6,90 € Versand (brutto)
einmalig pro Bestellung

Lieferzeit: 5 Werktage

Angaben zur Produktsicherheit

Hersteller:
Robert Bosch Power Tools GmbH
Postfach 30 02 20
70442 Stuttgart

E-Mail:
kontakt@bosch.de